BEMKO BM-3F Energy Indicator

Installation instructions


- Waste electrical products should not be disposed with household waste. Please recycle where facilities exist. Check with Your Local Authorityor retailer for recycling advice.
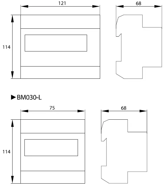
BM03B-L/BM03B-M


- Rated voltage, frequency.
- Rated current.
- Maximum current.
- Energy restriction clas.
- International Protection Rating.
- Accuracy class.
- Electrical strength of insulation.
- Rated surge voltage.
- Own consumption.
- Caution, risk of electric shock.
- For internal use.
- Terminal capacity.
- Appliance dasses.
- Working temperature.

Security
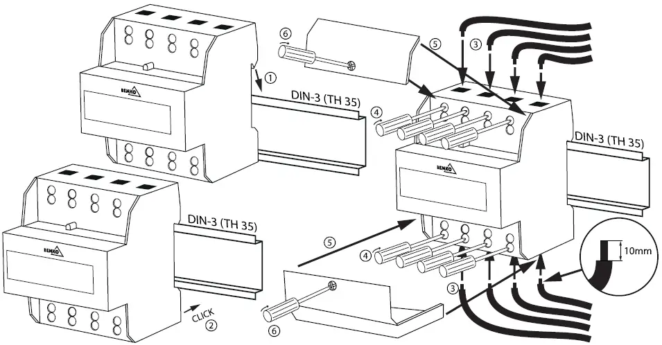
Before mounting, read the instructions and disconnect the power supply. Installation of the luminaire should be performed by a qualified user authorized to mount electrical devices depending on the applicable regulations in a given country, in accordance with the mounting diagram. Modifications to the product may cause threat and loss of warranty. Energy indicators BLM015-M, BM015L, and BM01B-L are devices designed to indicate electricity (kWh) in a direct system. These devices are not designed to measure electricity.
Maintenance
All maintenance work should be carried out after disconnecting the power supply. The product temperature may rise to an elevated value. Before commencing maintenance, make sure that the product temperature is safe to make it. Guarantee unrestricted air supply, do not cover the product. Use dry and delicate materials for cleaning. The luminaires are not designed for cooperation with dimmers and automation elements that may have an impact on shortening the product’s service life. Do not use chemical agents. Product not adapted to work in an environment with unfavorable conditions, i.e. high dustiness/humidity, water, explosive zones, vibrations, and chemical fumes.
Recommendations
Failure to follow the instructions in the manual may result in a fire, electric shock, burns or other damage. Bemko sp. O.o. is not responsible for failure to comply with the above recommendations. We also reserve the right to make changes to the manual – the current version is available at www.bemko.eu.

















