

Model: RB19
Two Way radio
US
WARNINGS
Product safety and RF Exposure for two way radio:
![]() | Before using this two way radio, please read the manual which contains important operating instructions for safe usage, RF Energy Awareness, control information and operational instructions for compliance with RF Energy Exposure limits in applicable national and international standards, and also read the operational instructions for safe use. |
Features
- UHF(462.5500-467.7125MHz) Super Receiving
- Screen Display
- Scanning
- Monitoring
- VOX
- TOT
- Keyboard Lockout
- Power Display
- Busy Channel Lockout
- Power Saving Mode
- Low Battery Warning
- Voice Companding/Scrambling Function
- Programming Encryption Function
- Special Signaling 50 CTCSS/208 DCS
Standard Accessories


Radio Body USB Cable Adapter
Optional Accessories


Six-port Charger Desktop Charger EU Adapter

UK Adapter
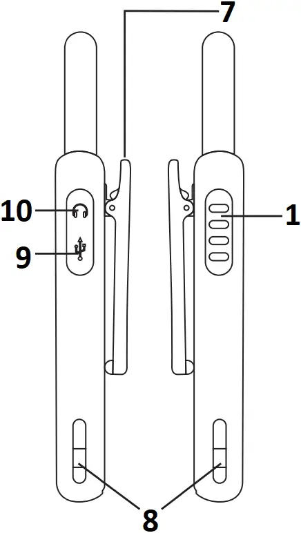
Function Operations


- PTT
- Antenna
- Power Key
- Display Screen
- Function Keys
- Speaker
- Belt Clip
- Desktop Charger Connector
- USB Charging Port
- MIC/Speaker port
Charging the Battery Pack

- 1.The battery is not charged in the factory,please charge the battery under the environmental temperature 5–40ºC before using.
- 2.After purchasing or long-term storage(more than two months), charging the battery for the first time can not reach its saturation capacity,repeat charge/discharge for twice or three times to make battery capacity achieve the best state.
- 3.Before charging,please power off the transceiver,using the transceiver during charging may affect correct charging.
- 4.If the battery has been charged fully,please do not charge it again, otherwise the service life of the battery may be shorten or may be damaged.
- 5.If the service time is significantly reduced even after completely correct charging,the battery can not be used any more,please replace a new battery.
Icons

![]()
high power channel battery level volume
![]()
scanning channel lockout unlocking
![]()
earphone earphone volume transmitting
![]()
receiving alarm
1.Short press ![]()
keys to adjust the volume.
2.Short press
key to switch to channel mode,then short press ![]()
keys to adjust the channels.
3.PTT: press this button whenever you wish to talk with the user of the other radio.
Functions Operation

- Scanning:
It is convenient for the user to search for calls from other channels. When “Side Key 2” in the software is programmed to the scanning function, long press
key for two seconds to enter into the scanning mode,the transceiver will start to scan with the current channel; Operate it again to exit. - Keyboard Lockout
Long press
key to lock all buttons,operate it again to unlock. - Power Display
Short press power key to display the current battery level. - Monitoring
Long press
key for two seconds to enter into the monitor mode, release it to exit. - VOX
This function can be voice activated so the user doesn’t have to press the PTT key.
When “VOX level” in the software is selected,short press
key twice to enter into the VOX mode,then short press
key or
key to turn on/off the VOX. - Time Out Timer(TOT)
The purpose of the TOT is to prevent any single person from using a channel for an extended period of time.An alarm will sound if the transmission continues beyond the set time.The transceiver will stop transmission if this occurs.To stop the alarm,release the PTT key and the transceiver will return to standby. - Busy Channel Lockout
The function can prevent interference from other transceivers using the same channel. - Battery Power Saving
If there is no signal or operation,the radio will reduce its power consumption.The battery power-saving function activates when the channel is unoccupied or has not been in operation. - Low Battery Warning
If the battery power falls to the predetermined value during transmission,the transceiver will give out a voice prompt,please charge in time. - Scrambling
It is a voice encryption mode which is different. from sub audio. - Companding
It is a function setting which prevents the inter-channel interference. - CTCSS/DCS
The transceiver has 50 CTCSS and 208 DCS,also non-standard subaudio can be programmed! - CDCSS Mode
It is valid only when you program the CDCSS on the channels.This function has two selections: “normal signaling” and “special signaling”. Normal Signaling refers to the CDCSS codes on the channels is ordinary codes,we can talk to each other with the same CDCSS; Special Signaling refers to the CDCSS codes on the channels is special processed codes.When the transceivers in one company are programmed the same frequency with the same CDCSS and special signaling,they can avoid the signal interferences from the other companies’ transceivers.
UHF&VHF | ||||
| Channel | TX | RX | Power | Subaudio |
1 | 462.5625 | 462.5625 | High | 67.0 |
| 2 | 462.5875 | 462.5875 | High | 118.8 |
3 | 462.6125 | 462.6125 | High | 127.3 |
| 4 | 462.6375 | 462.6375 | High | 131.8 |
5 | 462.6625 | 462.6625 | High | 136.5 |
| 6 | 462.6875 | 462.6875 | High | 141.3 |
7 | 462.7125 | 462.7125 | High | 146.2 |
| 8 | 467.5625 | 467.5625 | Low | D243N |
9 | 467.5875 | 467.5875 | Low | D032N |
| 10 | 467.6125 | 467.6125 | Low | D047N |
11 | 467.6375 | 467.6375 | Low | D051N |
| 12 | 467.6625 | 467.6625 | Low | D053N |
13 | 467.6875 | 467.6875 | Low | D065N |
| 14 | 467.7125 | 467.7125 | Low | D116N |
15 | 462.5500 | 462.5500 | High | 123.0 |
| 16 | 462.5750 | 462.5750 | High | D743I |
17 | 462.6000 | 462.6000 | High | D332I |
| 18 | 462.6250 | 462.6250 | High | 127.3 |
19 | 462.6500 | 462.6500 | High | D243I |
| 20 | 462.6750 | 462.6750 | High | D606N |
21 | 462.7000 | 462.7000 | High | D731I |
| 22 | 462.7250 | 462.7250 | High | 136.5 |
Technical Parameters

SPECIFICATIONS | |
| Frequency Range | 462.5500-467.7125MHz |
Supply Power | DC3.7V |
| Memory Channel | 22 |
Antenna Configuration | Internal Antenna |
| Work Mode | Co/Differ-frequency Simplex Communication |
Ground Method | Cathode |
| working temperature range | -30°~+60° |
TRANSMITTER | |
| Output Power | ≤2W |
Modulation Mode | FM(F3E) |
| Max.Frequency Deviation | ≤5KHz |
Sparious Radiation | ≤7.5μW |
| Preemphasis Character | Per Octave 6dB |
Emission Current | ≤1000mA |
RECEIVER | |
Sensitivity | <0.16μV(12dB SINAD) |
| Audio Power | ≥300mW |
Audio Distortion | <5% |
| Itermodulation Interference Resistance | ≥60dB |
Receiving Current | ≤300mA |
| Standby Current | ≤20mA |
We May Change The Specifications For Technical Improvement Without Prior Notice.
RF ENERGY EXPOSURE AND PRODUCT SAFETY GUIDE FOR PORTABLE TWO-WAY RADIOS
| Before using this radio, read this guide which contains important operating instructions for safe usage and rf energy awareness and control for compliance with applicable standards and regulations. |
This two-way radio uses electromagnetic energy in the radio frequency (RF) spectrum to provide communications between two or more users over a distance. RF energy, which when used improperly, can cause biological damage.
All Retevis two-way radios are designed, manufactured, and tested to ensure they meet government-established RF exposure levels. In addition, manufacturers also recommend specific operating instructions to users of two-way radios. These instructions are important because they inform users about RF energy exposure and provide simple procedures on how to control it.
Please refer to the following websites for more information on what RF energy exposure is and how to control your exposure to assure compliance with established RF exposure limits:http://www.who.int/en/
Local Government Regulations
When two-way radios are used as a consequence of employment, the Local Government Regulations requires users to be fully aware of and able to control their exposure to meet occupational requirements. Exposure awareness can be facilitated by the use of a product label directing users to specific user awareness information. Your Retevis two-way radio has a RF Exposure Product Label. Also, your Retevis user manual, or separate safety booklet includes information and operating instructions required to control your RF exposure and to satisfy compliance requirements.
Radio License
Governments keep the radios in classification, business two-way radios operate on radio frequencies that are regulated by the local radio management departments (FCC, ISED, OFCOM, ANFR, BFTK, Bundesnetzagentur…).To transmit on these frequencies, you are required to have a license issued by them. The detailed classification and the use of your two radios, please contact the local government radio management departments.
Use of this radio outside the country where it was intended to be distributed is subject to government regulations and may be prohibited.
Changes or modifications not expressly approved by the party responsible for compliance may void the user’s authority granted by the local government radio management departments to operate this radio and should not be made. To comply with the corresponding requirements, transmitter adjustments should be made only by or under the supervision of a person certified as technically qualified to perform transmitter maintenance and repairs in the private land mobile and fixed services as certified by an organization representative of the user of those services. Replacement of any transmitter component (crystal, semiconductor, etc.) not authorized by the local government radio management departments equipment authorization for this radio could violate the rules.
FCC Requirements:
This device complies with part 15 of the FCC Rules. Operation is subject to the condition that this device does not cause harmful interference. (Licensed radios are applicable);
This device complies with part 15 of the FCC Rules. Operation is subject to the following two conditions: (Other devices are applicable)
(1) This device may not cause harmful interference, and
(2) this device must accept any interference received, including interference that may cause undesired operation.
NOTE:
- This equipment has been tested and found to comply with the limits for a Class A digital device, pursuant to part 15 of the FCC Rules. These limits are designed to provide reasonable protection against harmful interference when the equipment is operated in a commercial environment. This equipment generates, uses, and can radiate radio frequency energy and, if not installed and used in accordance with the instruction manual, may cause harmful interference to radio communications. Operation of this equipment in a residential area is likely to cause harmful interference in which case the user will be required to correct the interference at his own expense.
- This equipment has been tested and found to comply with the limits for a Class B digital device, pursuant to part 15 of the FCC Rules. These limits are designed to provide reasonable protection against harmful interference in a residential installation. This equipment generates, uses and can radiate radio frequency energy and, if not installed and used in accordance with the instructions, may cause harmful interference to radio communications. However, there is no guarantee that interference will not occur in a particular installation. If this equipment does cause harmful interference to radio or television reception, which can be determined by turning the equipment off and on, the user is encouraged to try to correct the interference by one or more of the following measures:
–Reorient or relocate the receiving antenna.
–Increase the separation between the equipment and receiver.
–Connect the equipment into an outlet on a circuit different from that to which the receiver is connected.
–Consult the dealer or an experienced radio/TV technician for help.
CE Requirements:
- (Simple EU declaration of conformity) Shenzhen Retevis Technology Co., Ltd. declares that the radio equipment type is in compliance with the essential requirements and other relevant provisions of RED Directive 2014/53/EU and the ROHS Directive 2011/65/EU and the WEEE Directive 2012/19/EU; the full text of the EU declaration of conformity is available at the following internet address: www.retevis.com.
- Restriction Information
This product can be used in EU countries and regions, including: Belgium (BE), Bulgaria (BG), Czech Republic (CZ), Denmark (DK), Germany (DE), Estonia (EE), Ireland (IE), Greece (EL), Spain (ES), France (FR), Croatia (HR), Italy (IT), Cyprus (CY), Latvia (LV), Lithuania (LT), Luxembourg (LU), Hungary (HU), Malta (MT), Netherlands (NL), Austria (AT), Poland (PL), Portugal (PT), Romania (RO), Slovenia (SI), Slovakia (SK), Finland (FI), Sweden (SE) and United Kingdom (UK).
For the warning information of the frequency restriction, please refer to the package or manual section. - Disposal
The crossed-out wheeled-bin symbol on your product, literature, or packaging reminds you that in the European Union, all electrical and electronic products, batteries, and accumulators (rechargeable batteries) must be taken to designated collection locations at the end of their working life. Do not dispose of these products as unsorted municipal waste. Dispose of them according to the laws in your area.
IC Requirements:
Licence-exempt radio apparatus
This device contains licence-exempt transmitter(s)/receiver(s) that comply with Innovation, Science and Economic Development Canada’s licence-exempt RSS(s). Operation is subject to the following two conditions:
(1) This device may not cause interference.
(2) This device must accept any interference, including interference that may cause undesired operation of the device.
RF Exposure Information
- DO NOT operate the radio without a proper antenna attached, as this may damage the radio and may also cause you to exceed RF exposure limits. A proper antenna is the antenna supplied with this radio by the manufacturer or an antenna specifically authorized by the manufacturer for use with this radio, and the antenna gain shall not exceed the specified gain by the manufacturer declared.
- DO NOT transmit for more than 50% of total radio use time, more than 50% of the time can cause RF exposure compliance requirements to be exceeded.
- During transmissions, your radio generates RF energy that can possibly cause interference with other devices or systems. To avoid such interference, turn off the radio in areas where signs are posted to do so.
- DO NOT operate the transmitter in areas that are sensitive to electromagnetic radiation such as hospitals, aircraft, and blasting sites.
- Portable Device, this transmitter may operate with the antenna(s) documented in this filing in Push-to-Talk and body-worn configurations. RF exposure compliance is limited to the specific belt-clip and accessory configurations as documented in this filing and the separation distance between user and the device or its antenna shall be at least 2.5 cm.
- Mobile Device, during operation, the separation distance between user and the antenna subjects to actual regulations, this separation distance will ensure that there is sufficient distance from a properly installed externally-mounted antenna to satisfy the RF exposure requirements.
- Occupational/Controlled Radio, this radio is designed for and classified as”Occupational/Controlled Use Only”, meaning it must be used only during the course of employment by individuals aware of the hazards, and the ways to minimize such hazards; NOT intended for use in a General population/uncontrolled environment.
- General population/uncontrolled Radio, this radio is designed for and classified as”General population/uncontrolled Use”.
RF Exposure Compliance and Control Guidelines and Operating Instructions
To control your exposure and ensure compliance with the occupational/controlled environment exposure limits, always adhere to the following procedures.
Guidelines:
- User awareness instructions should accompany the device when transferred to other users.
- Do not use this device if the operational requirements described herein are not met.
Operating Instructions:
- Transmit no more than the rated duty factor of 50% of the time. To Transmit (Talk), push the Push to Talk (PTT) button. To receive calls (listen), release the PTT button. Transmitting 50% of the time, or less, is important because the radio generates measurable RF energy exposure only when transmitting in terms of measuring for standards compliance.
- Transmit only when people outside the vehicle are at least the recommended minimum lateral distance away from a properly installed according to installation instructions, externally mounted antenna.
- When operating in front of the face, worn on the body, always place the radio in a Retevis approved clip, holder, holster, case, or body harness for this product. Using approved body-worn accessories is important because the use of Non-Retevis approved accessories may result in exposure levels, which exceed the IEEE/ICNIRP RF exposure limits.
Hand-held Mode
- Hold the radio in a vertical position with the microphone (and other parts of the radio including the antenna) at least 2.5 cm (one inch) away from the nose or lips. The antenna should be kept away from the eyes. Keeping the radio at a proper distance is important as RF exposure decreases with increasing distance from the antenna.

Phone Mode
- When placing or receiving a phone call, hold your radio product as you would a wireless telephone. Speak directly into the microphone.
Electromagnetic Interference/Compatibility
NOTE: Nearly every electronic device is susceptible to electromagnetic interference (EMI) if inadequately shielded, designed, or otherwise configured for electromagnetic compatibility.
Avoid Choking Hazard
![]() | Small Parts. Not for children under 3 years. |
Turn off your radio power in the following conditions:
![]() |
|
Protect your hearing:
![]() |
Note: Exposure to loud noises from any source for extended periods of time may temporarily or permanently affect your hearing. The louder the radio’s volume, the less time is required before your hearing could be affected. Hearing damage from loud noise is sometimes undetectable at first and can have a cumulative effect. |
Avoid Burns
![]() | Antennas
Batteries (If appropriate)
Long transmission
|
Safety Operation
![]() | Forbid
|
![]() |
To reduce risk
|
Approced Accessories
![]() |
|
![]()
Guarantee
Model Number: _____________________________________
Serial Number: ______________________________________
Purchasing Date: _____________________________________
Dealer: __________________ Telephone: ________________
User’s Name: _____________ Telephone: ________________
Country: _________________ Address: __________________
Post Code: _______________ Email: ____________________
Remarks:
- This guarantee card should be kept by the user, no replacement if lost.
- Most new products carry a two-year manufacturer’s warranty from the date of purchase. Further details, pls read http://www.retevis.com/after-sale/
- The user can get warranty and after-sales service as below:
•Contact the seller where you buy.
•Products Repaired by Our Local Repair Center - For warranty service, you will need to provide a receipt proof of purchase from the actual seller for verification
Exclusions from Warranty Coverage:
- To any product damaged by accident.
- In the event of misuse or abuse of the product or as a result of unauthorized alterations or repairs.
- If the serial number has been altered, defaced, or removed.


Shenzhen Retevis Technology Co.,Ltd.
7/F, 13-C, Zhonghaixin Science&Technology Park, No.12 Ganli
6th Road, Jihua Street, Longgang District, Shenzhen, China
Web: www.retevis.com 
E-mail: [email protected]
Facebook: facebook.com/retevis
MADE IN CHINA
Model: RB19
























