Audio Pro
Audio Pro 14200 Rechargeable Battery Powered
Specifications
- TYPE: Powered portable stereo speaker with bass reflex
- BATTERY: Up to 30h (at 50% vol). 12h at 100% vol.
- AMPLIFIER: Digital Class D amplifier, 2×5 W + 1×15 W
- TWEETER: 2 x ¾” textile dome tweeter
- WOOFER: 1 x 3.5″
- FREQUENCY RANGE: 60 – 20.000 Hz
- CROSSOVER FREQUENCY:200 Hz
- DIMENSIONS HXWXD: 115 x 215 x 135 mm
- INPUTS: Bluetooth 4.0 + Aux In 3.5mm stereo
- OUTPUTS: USB DC OUT/max 5V 1000
- POWER CONSUMPTION: STBY/ON: 0.38 W-2.6 W
Introduction
The Addon T3 is a little speaker that raises the bar for portable audio. It is the ideal portable speaker for your daily life because of its straightforward operation, beautiful design, amazing sound qualities, and maybe the finest battery life available. The most recent Bluetooth standard is used by add-on wireless speakers to provide the finest sound and transmission. Any Bluetooth-enabled device, including iOS, Android, Windows Phone, Mac, and PC, can wirelessly play music.
Charge the battery fully before using the speaker first time.

CONTROLS


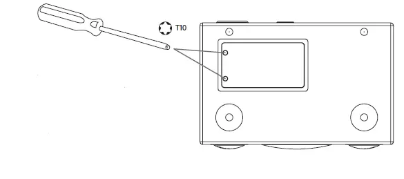
CHANGE BATTERY

Only use Audio Pro original battery!
The warranty time for the battery is one year.
This equipment is a Class II or double insulated electrical appliance. It has been designed in such a way that it does not require a safety connection to electrical earth.
Warning! Disposal of a battery into fire or a hot oven, or mechanically crushing or cut-ting of a battery, that can result in an explosion. Leaving a battery in an extremely high temperature surrounding environment that can result in an explosion or the leakage of flammable liquid or gas. A battery subjected to extremely low air pressure that may result in an explosion or the leakage of flammable liquid or gas.
The lightning flash with arrowhead symbol, within an equilateral triangle, is intended to alert the user to the presence of insulated “dangerous voltage” within the product’s enclosure that may be of sufficient magnitude to constitute a risk of electric shock to persons.
WARNING:
TO REDUCE THE RISK OF FIRE OR ELECTRIC SHOCK, DO NOT EXPOSE THIS APPARATUS TO RAIN OR MOISTURE.
CAUTION:
TO REDUCE THE RISK OF ELECTRIC SHOCK, DO NOT REMOVE COVER (OR BACK). NO USER-SERVICEABLE PARTS INSIDE. REFER SERVICING TO QUALIFIED SERVICE PERSONNEL.
FCC
THIS DEVICE COMPLIES WITH PART 15 OF THE FCC RULES. OPERATION IS
SUBJECT TO THE FOLLOWING TWO CONDITIONS:
- THIS DEVICE MAY NOT CAUSE HARMFUL INTERFERENCE.
- THIS DEVICE MUST ACCEPT INTERFERENCE RECEIVED, INCLUDING
INTERFERENCE THAT MAY CAUSE UNDESIRED OPERATION.
MODEL: T3. FCC ID: 2AGNC-T3 IC: 20967-T3
FCC WARNING
Any Changes or modifications not expressly approved by the party responsible for compliance could void the user’s authority to operate the equipment. This device complies with part 15 of the FCC Rules.
Operation is subject to the following two conditions:
- This device may not cause harmful interference, and
- This device must accept any interference received, including interference that may cause undesired operation.
This equipment complies with FCC radiation exposure limits set forth for an uncontrolled environment. Note: This equipment has been tested and found to comply with the limits for a Class B digital device, pursuant to part 15 of the FCC Rules. These limits are designed to provide reasonable protection against harmful interference in a residential installation. This equipment should be installed and operated with minimum distance 20 cm between the radiator and your body.
This equipment generates uses and can radiate radio frequency energy and, if not in-stalled and used in accordance with the instructions, may cause harmful interference to radio communications. However, there is no guarantee that interference will not occur in a particular installation. If this equipment does cause harmful interference to radio or television reception, which can be determined by turning the equipment off and on, the user is encouraged to try to correct the interference by one or more of the following measures:
- Reorient or relocate the receiving antenna.
- Increase the separation between the equipment and receiver.
- Connect the equipment into an outlet on a circuit different from that to which the receiver is connected.
- Consult the dealer or an experienced radio/TV technician for help.
IC This device complies with Industry Canada license-exempt RSS standard(s). Operation is subject to the following two conditions:
- This device may not cause interference, and (2) This device must accept any interference, including interference that may cause undesired operation of the device.
Frequently Asked Questions
Certainly, 110 and 220 volts. Additionally, it has 2 cables to fit American and European wall outlets.
It doesn’t support microphone.
AAC is the Bluetooth codec for the Addon T3.
Click the settings icon on the speaker in the My Speakers view to do a factory reset. Click Info -» Restore to factory settings after that. Your speaker is about to restart.
Since Bluetooth is often only one-to-one, T3 cannot support this. This is possible with our C3 (WiFi battery speaker) using WiFi.
The T3 power system has 25W RMS.
Yes, it works with Alexa and has Bluetooth connectivity.
Our goods are designed in Sweden and manufactured in China.
No, it doesn’t have any controls.
Short-range connections between devices at distances up to 10 meters. The range can be shortened by obstructions like walls and interference from microwave ovens.
No. All Bluetooth is in the T series. To link your C5 to another C series, you would require that.
It’s just a Bluetooth speaker, that’s all.
No, there isn’t.



![Battery Powered Portable Sound Systems User Manual [v10free, V12free] Battery Powered Portable Sound Systems User Manual [v10free, V12free]](https://static-data1.manualsee.com/1/img/140/56741/2021/02/Battery-Powered-Portable-Sound-Systems-User-Manual-V10FREE-V12FREE.jpg)












