SIGURO SGR-TF-J140W Fresh Refrigerator with Top Freezer

Thank you for purchasing a SIGURO appliance. We thank you for
your trust and are proud to introduce on the following pages the device, its functions and uses.
We believe in a fair and responsible company, and therefore we only work with suppliers who meet our strict criteria to protect the interests of employees, prevent their abuse and fair working conditions.
If you need help with extensive maintenance or repair of the product’s internal workings, contact the vendor’s helpline or our authorized service center at [email protected]. For your convenience in solving any problems with the product, we have unified these contact points and the above contacts can be used in the event of any complaints or post-warranty service.
SAFETY INFORMATION
CD Please read this manual carefully before use and keep it for future reference.
- This appliance is intended for use by children 8 years of age and older and persons with reduced physical, sensory or mental capabilities, or lack of experience and knowledge, provided they have been given supervision or instruction concerning use of the appliance in a safe manner and understand the dangers.
- Children must not play with the device.
- Cleaning and user maintenance should never be performed by unsupervised children.
- If the power cord is damaged, it must be replaced by the manufacturer, its service agent or similarly qualified persons in order to avoid a dangerous situation.
WARNING: RISK OF FIRE! - Children aged 3 to 8 may store food in and remove it from the appliance.
- WARNING: Ventilation openings in the appliance casing or in its construction must be kept free.
- WARNING: Do not use mechanical devices or means other than those recommended by the manufacturer to speed up the defrosting process.
- WARNING: Do not damage the cooling circuit.
- WARNING: Do not use electrical appliances in the food storage area unless they are the types recommended by the manufacturer.
- Do not store potentially explosive substances, such as flammable propellant sprays, in the appliance.
- This appliance is designed for home and light commercial use, including:
– kitchenettes in stores, offices and other workplaces;
– guest use in hotels, motels and other residential environments;
– bed & breakfast establishments;
– workplace cantinas and similar non-commercial uses. - This appliance is designed as free-standing. It is not designed for built-in or mounted use.
- For safe food storage, always follow the instructions in this manual when using the appliance.
- Follow these recommendations to avoid contamination of stored food:
- Leaving the door open for long periods of time can significantly warm the storage compartment.
- Clean food contact surfaces and accessible drainage systems regularly.
- Clean water containers that have not been used for 48 hours or longer. Flush the appliance’s water circuit when the water supply has been dry or disconnected for 5 days or longer.
- Store raw meat and fish in the refrigerator in suitable containers, so that they do not come into contact with or drip on other foods.
- Freezer spaces rated two stars are suitable for storing pre-frozen food, storing and making ice cream, and making ice cubes.
- Spaces rated three stars or less are not suitable for freezing fresh food.
- Before prolonged disuse, turn off, defrost, clean and dry the appliance, then leave the door open to prevent mold from forming inside.
- WARNING: Place the appliance so as to keep the power cord from snagging or otherwise becoming damaged.
- WARNING: Do not place multiple portable outlets or portable extension cords on the back of the appliance.
- WARNING: Any servicing or repair involving the removal of the outer shroud is dangerous when not performed by a qualified technician.
- To avoid electrocution, do not attempt to repair the appliance yourself.
- Volatile liquids and gases may leak from their containers in lowtemperat ures.
- Never place carbonated drinks, bottled or canned, in the freezer.
- Ice cream can cause frostbite if consumed immediately upon removal from a freezer. It is recommended to let it thaw for at least 5 minutes.
- Touching food in a freezer with wet hands may cause frostbite, or your hands might freeze-stick to the food, damaging your skin on removal.
- Keep children away from the appliance’s controls.
- The appliance is heavy. Take extra care when handling it. Ideally get a second person to help you.
- Modifying the appliance in any way is dangerous.
- The LED lighting in the food compartment may only be replaced by an authorized service technician. Never replace the light yourself.
- WARNING: Cooling appliances, particularly class-I combined cooler freezers, may not work properly (the temperature in the frozen food compartment may rise above freezing) when exterior temperatures remain below the lower limit of the appliance’s operating temperature range for prolonged periods.
- WARNING: If the door or lid is equipped with a lock, the keys to the lock must be kept away from children and away from the appliance, to avoid the risk of children locking themselves in.
- WARNING: The coolant and insulation materials used in this appliance require special disposal procedures.
Electrical Connection
This appliance may only be powered from properly grounded mains outlets supplying 220-240 V ~ 50 Hz. Before plugging the appliance in, make sure the outlet voltage matches the values specified on the appliance rating plate.
This appliance may be used with a voltage converter.
The power cord should be routed behind the appliance. It should be out of the way and laid on the floor to prevent accidents.
Do not unplug the appliance by pulling on the power cord. Pull on the plug instead. Avoid using extension cords; these may degrade the appliance’s performance. If the supplied power cord is too short for your needs, it is best to have a mains socket installed closer to it (by a professional electrician).
Climate Class
The appliance’s climate class is indicated on its rating plate.
The climate class determines the ambient temperatures in which the appliance was designed to operate.
| Climate class | Ambient temperature range |
| SN | 10 – 32 °C (50 – 90 °F) |
| N | l6-32°C (60-90°F) |
| ST | 16 – 38 °C (60 – 100 °F) |
| T | 16 – 43 °C (60 – 110 °F) |
Note:
The appliance’s interior temperature setting should be adapted to the climate class, ambient temperature, opening frequency, etc.
Operating the appliance in conditions outside its rated climate class may degrade its performance.
Lock
If the door or lid is equipped with a lock, the keys to the lock must be kept away from children and away from the appliance, to avoid the risk of children locking themselves in.
When disposing of the appliance, destroy the lock to prevent its further use.
Refrigerant R600a
The R600a refrigerant and cyclopentane insulation used in this appliance are safe
for the enviornment and the ozone layer, and have minimal global warming impacts.
However, R600a is a flammable substance.
When transporting, installing or otherwise handling the appliance, take care not to damage the cooling circuit, to prevent liquid or gaseous refrigerant leaks. In the event the cooling circuit is damaged and liquid or gaseous refrigerant leaks into the environment, immediately douse any open flame in the area and open all available windows.
Appliances containing refrigerants require professional, environmentally safe disposal.
Improper disposal may cause injury, fire, or other hazardous situations. Refrigerants may only be handled by qualified personnel certified to do so. Before disposal, check the cooling circuit for potential damage.
- Freezer
- Thermostat
- Shelves
- Wine rack for two bottles of wine/two 1.51 plastic bottles
- Vegetables tray cover plate
- Vegetables tray
- Adjustable feet
- Freezer door
- Fridge door
- Door-mounted trays
- Egg tray
- Ice maker tray
TECHNICAL PARAMETERS
| Rated voltage | 220-240 V ~ |
| Rated frequency | 50 Hz |
| Rated current | 0.4A |
| Rated power consumption at 16 °C ambient temp. (E,J | 0.262 kWh / 24 h |
| Rated power consumption at 32 °C ambient temp. (E32) | 0.7 kWh/ 24h |
| Total usable volume | 211 I (7.5 cu ft) |
| Usable volume: fridge | 170 I (6 cu ft) |
| Usable volume: 4-star freezer | 41 I (l.5 cu ft) |
| Climate class | N/ST |
| Refrigerant type/ mass | R600a / 45 g |
| Electrical safety class | class I |
| Insulator foam | Cyclopentane |
| Freezing capacity | 2 kg/ 24 h |
| Dimensions | 1,428 x 540 x 551 mm (56.3 X 21.2 X 15 in) |
| Weight | 40 kg |
TRANSPORT
The appliance must always be transported upright.
The packaging is meant to protect the appliance in transit; avoid damaging it during transport.
If there is no choice but to transport the appliance on its side, place it so that the door cannot open, to prevent damage to it.
Restore the appliance to upright position as soon as possible.
After spending time horizontal, the appliance must remain upright for at least 4 hours before being plugged in, to give the refrigerant time to settle. Failing to do so risks permanent damage to the appliance, as well as a hazardous operating situation.
The appliance is heavy; we recommend at least two people handle it.
Avoid carrying the appliance by the upper frame, the door, etc.
BEFORE USE
Unpacking
Carefully unpack the appliance and remove any tape, stickers, foil, etc.
Selecting a Spot
Place the appliance on a hard, level surface within reach of the mains socket.
To avoid excess noise and vibration, do not install on carpets, rugs or similar flooring.
The appliance is designed for domestic, indoor use.
Do not install outside or in any spot exposed to rain, snow, moisture or other weather effects.
If necessary, level the appliance using its adjustable feet. Screw the feet in or out to change their height.
Leveling the appliance properly is important in preventing excess noise and vibration.
The room in which the appliance is installed should have a volume such that, when the refrigerant mass in the appliance is divided by this volume, the result is less than 8 g / m3 (0.008 oz/ cu ft).
The refrigerant mass is specified on the appliance rating plate.
Provide adequate space for air to circulate around the appliance: at least 30 mm (6/5 in) above, at least 100 mm (4 in) to the sides, and at least 50 mm (2 in) behind.
Dimensions (millimeters)


Do not place the appliance near stoves, heaters, or other heat sources. Avoid exposing the appliance to direct sunlight.
Do not install in damp or dusty rooms. Do not cover the vents.
The appliance may interfere with radio and television signal reception; avoid this by placing it at a sufficient distance from such receivers.
Cleaning Before Use
Before first use and after prolonged disuse, clean the food compartments and trays with water, either pure or with some white vinegar. Do not use detergents, solvents, hydrocarbon cleaners, etc. These might irreparably damage the finish.
Settle-Down Time
Once installed and cleaned, wait at least l hour before plugging the appliance in to give the refrigerant time to settle in the cooling circuit.
Plugging In
Plug the power cord into a properly grounded mains socket. Set the thermostat to “4” and close the door. Wait about l hour, then check whether the interior is getting any cooler. Wait about 3 to 4 hours before loading the food.
USE
Setting the Temperature
Turn the thermostat dial to set the target interior temperature.
The ”l” setting is warmest; the “7” setting is coldest. For typical use, we recommend the “4” setting.
To power off, turn the thermostat dial to “OFF”.
The interior temperature at any given moment is affected by the ambient temperature, door opening frequency, and the amount of food stored.
If you see frost accumulating inside, try setting the thermostat to warmer.

Fast Freeze
The Fast Freeze feature rapidly cools down the freezer interior.
This may be useful when freezing large amounts of fresh food.
Set the thermostat to “7” about an hour before loading the food.
Once the food has frozen solid, return the thermostat to your previous setting.
The freezer cools to its minimum of -18 °C (O °F) in l-2 hours, depending on quantity inserted.
Note:
Thermostat settings of 6-7 may be useful when ambient temperatures exceed 16 °C (60 °F).
However, leaving the thermostat on this setting for the long term may accelerate icing of the freezer interior.
This is normal behavior resulting from the physics of cooling air, but can be mitigated by only setting the thermostat as cold as necessary given ambient temperatures.
Storing Food
Air cooled by the compressor circulates throughout the appliance interior, making different areas of the interior somewhat different temperatures, and therefore better suited for storing different kinds of food.
Store foodstuffs in their original packaging or in airtight containers to prevent odor and contamination of the food.
Use the fridge area to store non-frozen foods, such as cooked meals, beverages, eggs, dairy, etc. Use the tray to store fruits and vegetables.
Use the freezer area to store ice cream, frozen foods, etc.
Suggested Food Placement
| Door-mounted trays | Beverages,jams, ketchup, eggs, etc. |
| Tray | Fruits, vegetables, refrigerator-safe herbs, etc. |
| Top and middle shelf | Meat, poultry, fish, meat products, finished meals, etc. |
| Bottom shelf | Dairy |
Ice maker
Fill with clean potable water and set in the freezer to make ice cubes.
Shopping Tips
- Reduce waste by only buying as much as you know you can use.
- Always check the “best before” date printed on the packaging.
- Check packaging integrity.
- Check appearance and smell, particularly with fruits and vegetables.
- Only buy fruits and vegetables that are free of blemish.
- Save frozen foods for the last items you take when shopping, and keep them in insulated bags on the way home.
- Always check the integrity of the packaging on packaged foods.
- The freezer can only freeze a certain weight of fresh food per 24 hours of operation. You can find this value on its rating plate.
- Minimize door opening when freezing fresh foods.
- Before loading fresh food to be frozen, and particularly before loading alreadyfrozen food, always check that the interior is sufficiently cold.
- Otherwise, frozen food might thaw before the interior cools to freezing.
- When freezing freshly prepared food, let it cool to room temperature before loading.
- Pack fresh foods in packaging sold for the purpose. Label the packages with food name, weight, and date of freezing.
- Packets should be dry when loaded.
Food Storage Tips
- Regularly check the condition of all stored food; use foodstuffs before they go bad.
- Place the most frequently used items up front to reduce rummaging, allowing you to close the door again sooner.
- Do not re-freeze defrosted or partly defrosted food.
- Defrosted meat should be heat-treated, not eaten raw.
- Do not overload the fridge. Keep some amount of free space between stored items to allow the cold air to circulate throughout.
- Let food cool to room temperature before loading in the fridge.
- Minimize door opening frequency.
- Only store foods intended for refrigeration/ freezing. Some foods, particularly certain fruits and vegetables, do not need to be refrigerated.
- Store food in original packaging or airtight containers to keep it from becoming contaminated or developing a foul odor.
- Do not place food packets in direct contact with the interior liner of the freezer area.
- Do not place water-rich foods close to the freezer area back plate to keep them from freezing stuck.
- Do not load liquid-filled glassware or canned beverages into the freezer.
- Waterbuses liquids increase in volume as they freeze, potentially destroying inflexible containers such as glass or can aluminum.
CLEANING AND MAINTENANCE
Keep the appliance clean. Food residue may accumulate in the fridge and emit a foul odor.
We recommend cleaning the shelves and trays at least once a month.
Routine Maintenance
- Remove all food from the fridge (not the freezer), then remove the shelves and trays. Wash them in warm water with some dish detergent; rinse and wipe dry.
- Clean the fridge interior with a clean towel slightly dipped in clean, lukewarm water. Wipe dry.
- Wipe the door gasket with a soft cloth slightly dipped in warm water.
- Wipe the appliance exterior with a soft cloth slightly dipped in warm water with some dish detergent.
- Dust off the back of the appliance. You may also use a vacuum cleaner with a brush attachment on low power.
Warning:
Do not clean with harsh detergents, alkali, solvents, hydrocarbon cleaners, etc. Only use a soft sponge or towel. Do not use scrapers or other hard tools that might scratch the finish.
De-Icing
Set the thermostat to “OFF”, then unplug the appliance from the mains.
Remove all food from the freezer and fridge areas.
Leave the freezer door open.
To keep the freezer’s contents from defrosting during cleaning, you may wrap it in a towel, place it in an insulated bag, and temporarily store in the cellar or other cool area, or outside out of the sun if the temperature is low enough.
Carefully remove built-up ice.
Thin layers may be scraped off with a plastic scraper.
Do not use hard or sharp tools.
Wipe the freezer interior dry.
Plug in the appliance, set the thermostat to your usual setting, and load the food back in.
Try to minimize de-icing time to avoid your frozen food partly or entirely thawing.
WARNING:
Do not use steam cleaners, hair driers, or other power appliances when deicing.
Warning:
Do not immerse the appliance, power cord or plug in water or other liquids.
Light Replacement
The LED lighting in the food compartment may only be replaced by an authorized service technician. Never replace the light yourself. Contact an authorized service centre instead. The light source installed in this appliance is rated G on the EU energy efficiency scale.
Long-Term Power-Down
When not using the appliance, keep it unplugged from the mains, with the thermostat set to “OFF”.
Clean the interior, including the freezer, as described above.
Leave the door open to prevent a stale odor from developing inside.
TROUBLESHOOTING
| Problem | Cause | Solution |
| Fridge not working | Plugged in badly or not at all | Plug appliance in properly. |
| Blown or tripped fuse | Check fuse box. | |
| Power outage | Minimize door opening and wait for power resto ration. | |
| Appliance poorly sited | Check appliance is out of direct sunlight, away from heat sources. The cooling circuit is not designed to operate at ambient temperatures below 70 °C (50 °F), and may not work properly in such conditions. | |
| Unusual noises | Appliance poorly leveled | Use adjustable feet to re-level appliance. |
| Appliance touching the wall | Move appliance away from wall. |
| Problem | Cause | Solution |
| Poor cooling performance | Hot food or too much food loaded | Check food to identify items that mayn’t need refrigeration. Let food cool down before loading. |
| Door opened too often | Open door less often. | |
| Bad seal on door | Check and remove ob structions between door gasket and appliance body; clean gasket if required. | |
| Appliance sited in direct sunlight or near a heat source | Move appliance out of direct sunlight/ away from heat source. | |
| Insufficient air circulation | Provide clearance around appliance at least as spec ified in “Selecting a Spot” above. | |
| Thermostat setting too warm | Set thermostat to colder. | |
| Foul odor | Rotten food present in fridge | Dispose of rotten food. |
| Fridge needs cleaning | Clean fridge interior. | |
| Improperly packaged, pun gent food | Package pungent foods more thoroughly, e.g. in airtight container. |
If a problem is not listed in the table above or if it persists, power down the appliance, unplug it from the mains, and contact an authorized service center.
CHOOSING DOOR HINGE SIDE
We recommend getting a second person to help with switching the door hinge from one side to the other.
- Check that the appliance is unplugged.
- Remove the top door hinge cover plate, unbolt the hinge {3 bolts) and carefully remove it.

- Carefully remove the freezer door and set it aside.
- Unbolt the middle hinge (2 bolts).

- Carefully remove the fridge door and set it aside.
- Unbolt the bottom hinge and remove it.

- Remove the spacer and nut holding the hinge pin in the bottom hinge’s flange. Remove the pin.

- Move the pin to the other hole in the flange. Put on the spacer and nut, then tighten.

- Mount the bottom hinge to the other side of the appliance body. Check that all bolts are tight.
- Loosen and remove the bolt holding the fridge door stop (at bottom of door) to the appliance body. Remove the doorstop and mount it on the other side of the body.

- Mount the fridge door on its hinge.
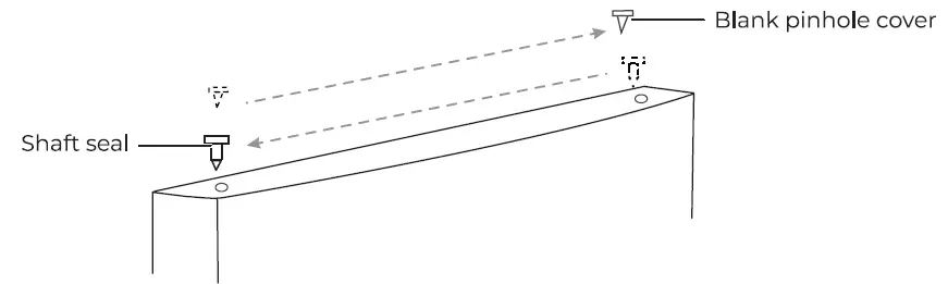
- Move the working shaft seal for the upper hinge to the other side of the door top, and move the blank pinhole cover from that side to the side where the shaft seal was previously.

- Remove the middle hinge cover plate and move it to the other side of the appliance body.

- Mount the middle hinge to the other side of the appliance body.

- Loosen and remove the bolt holding the freezer door stop (at bottom of door) to the appliance body. Remove the doorstop and mount it on the other side of the body.

- Mount the freezer door on its hinge.
- Move the working shaft seal for the upper hinge to the other side of the door top, and move the blank pinhole cover from that side to the side where the shaft seal was previously.

- Remove the top hinge cover plate and move it to the other side of the appliance body.
- Mount the top hinge on its three bolts. Before tightening these bolts, check that the door aligns well with the body and has a good seal. Replace the top hinge cover plate.

Note:
When remounting both doors, check that their top edges align with the appliance body. If the door is mounted poorly aligned, the door gasket is likely to lose its seal, degrading cooling performance.
| Product Information Sheet COMMISSION DELEGATED REGULATION (EU) 2019/2016 with regard to energy labelling of refrigerating appliances | |||||
| Supplier’s name or trade mark: Siguro | |||||
| Supplier’s address: PL – SIGURO, Jankovcova 1522/53 17000 Praha Holesovice Ceska republika | |||||
| Model identifier: SGR-TF-J140W | |||||
| Type of refrigerating appliance: | |||||
| Low-noise appliance: | No | Design type: | freestanding | ||
| Wine storage appliance: | No | Other refrigerating appli- ance: | No | ||
| General product parameters: | |||||
| Parameter | Value | Parameter | Value | ||
| Overal dimensions (millimetre) | Height Width Depth | 1428 | Total volume (dm3 or I) | 211 | |
| 540 | |||||
| 551 | |||||
| EEi | 100 | Energy efficiency class | E | ||
| Airborne acoustical noise emis- sions (dB(A) re 1 pW) | 41 | Airborne acoustical noise emission class | C | ||
| Annual energy consumption (kWh/a) | 176 | Climate class: | temperate, subtropi cal | ||
| Minimum ambient tempera- ture (QC), for which the refrig- erating appliance is suitable | 16 | Maximum ambient tem perature (QC), for which the refrigerating appliance is suitable | 38 | ||
| Winter setting | I No | ||||
| Compartment Parameters: | |||||
| Compartment parameters and values | |||||
| Compartment type | Compartment Vol ume (dm3 or I) | Recom- mended tempera- tu re setting for opti mised food storage (QC) These set tings shall not con- tradict the storage conditions set out in Annex IV, Table 3 | Freezing capacity (kg/24h) | Defrosting type (auto-defrost=A, manual defrost=M) | |
| Pantry | |||||
| Wine storage | No No Yes No No No No No Yes No | ||||
| Cellar | |||||
| Fresh food | 170,0 | ||||
| Chill | |||||
| 0-star or ice-making | |||||
| 1-star | |||||
| 2-star | |||||
| 3-star | |||||
| 4-star | 41,0 | ||||
| 2-star section | |||||
| Variable temperature compartment | |||||
| For 4-star compartments | |||||
| Fast freeze facility | I No | ||||
| Light source parameters: | |||||
| Type of light source | |||||
| Energy efficiency class | |||||
| Minimum duration of the guarantee offered by the manufacturer: 36 months | |||||
| Additional information: | |||||
| Weblink to the manufacturer’s website, where the information in point4(a) Annex of Commission Regulation (EU) 2019/2019 is found: www.siguro.cz | |||||
| Product Information Sheet COMMISSION DELEGATED REGULATION (EU) 2019/2016 with regard to energy labelling of refrigerating appliances | |||||
| Supplier’s name or trade mark: Siguro | |||||
| Supplier’s address: PL – SIGURO, Jankovcova 1522/53 17000 Praha Holesovice Ceska republika | |||||
| Model identifier: SGR-TF-J140S | |||||
| Type of refrigerating appliance: | |||||
| Low-noise appliance: | No | Design type: | freestanding | ||
| Wine storage appliance: | No | Other refrigerating appli- ance: | No | ||
| General product parameters: | |||||
| Parameter | Value | Parameter | Value | ||
| Overal dimensions (millimetre) | Height Width Depth | 1428 | Total volume (dm3 or I) | 211 | |
| 540 | |||||
| 551 | |||||
| EEi | 100 | Energy efficiency class | E | ||
| Airborne acoustical noise emis- sions (dB(A) re 1 pW) | 41 | Airborne acoustical noise emission class | C | ||
| Annual energy consumption (kWh/a) | 176 | Climate class: | temperate, subtropi cal | ||
| Minimum ambient tempera- ture (QC), for which the refrig- erating appliance is suitable | 16 | Maximum ambient tem perature (QC), for which the refrigerating appliance is suitable | 38 | ||
| Winter setting | I No | ||||
| Compartment Parameters: | |||||
| Compartment parameters and values | |||||
| Compartment type | Compartment Vol ume (dm3 or I) | Recom- mended tempera- tu re setting for opti mised food storage (QC) These set tings shall not con- triadic the storage conditions set out in Annex IV, Table 3 | Freezing capacity (kg/24h) | Defrosting type (auto-defrost=A, manual defrost=M) | |
| Pantry | |||||
| Wine storage | No No Yes No No No No No Yes No | ||||
| Cellar | |||||
| Fresh food | 170,0 | ||||
| Chill | |||||
| 0-star or ice-making | |||||
| 1-star | |||||
| 2-star | |||||
| 3-star | |||||
| 4-star | 41,0 | ||||
| 2-star section | |||||
| Variable temperature compartment | |||||
| For 4-star compartments | |||||
| Fast freeze facility | I No | ||||
| Light source parameters: | |||||
| Type of light source | |||||
| Energy efficiency class | |||||
| Minimum duration of the guarantee offered by the manufacturer: 36 months | |||||
| Additional information: | |||||
| Weblink to the manufacturer’s website, where the information in point4(a) Annex of Commission Regulation (EU) 2019/2019 is found: www.siguro.cz | |||||
Alza.cz, a. s., Jankovcova 1522/53, 170 00 Prague 7, Czech Republic © 2022 Alza.cz, a. s.
All Rights Reserved.
www.siguro.net
































