COSORI CP158-AF-RXB Air fryer 1700 W Non-Stick Coating User Manual
Package Contents
- 1 x Premium 5.5-Litre Air Fryer
- 1 x Recipe Book
- 1 x Quick Reference Guide
- 1 x User Manual
- 1 x Skewer Rack
- 5 x Skewers
Specifications
| Power Supply | AC 220–240V, 50/60Hz |
| Rated Power | 1700W |
| Capacity | 5.5 L / 5.8 qt (serves 3–5 people) |
| Temperature Range | 75°–205°C / 170°–400°F |
| Time Range | 1–60 min |
| Dimensions (including handle and air outlet spacer) | 29.9 x 39.8 x 32.1cm / 11.8 x 15.7 x 12.7 in |
| Weight | 5.4 kg / 11.9 lb |
| Skewer Rack Dimensions | 20 x 20 x 9.1 cm / 7.9 x 7.9 x 3.6 in |
| Skewer Dimensions | 21 cm / 8.3 in |
INTRODUCTON
Thank you for your purchase!
(We hope you love your new air fryer as much as we do.)
the Cosori Cooks Community on Facebook facebook.com/CosoriUK
our recipe gallery www.cosori.com/recipes
weekly, featured recipes made exclusively by our in-house chefs
CONTACT OUR CHEFS
Our helpful, in-house chefs are ready to assist you with any questions you might have!
Email: [email protected]
On behalf of all of us at Cosori,
Happy cooking!
IMPORTANT SAFEGUARDS
Follow basic safety precautions when using your air fryer. Read all instructions.
Key Safety Points
Do not touch hot surfaces. Use handle.
Only press the basket release button with the baskets resting flat on a counter or any level, heat-resistant surface.
The handle is attached to the inner basket, not the outer basket. When you press the basket release button, the outer basket will drop.
Do not block any ventilation openings. Hot steam is released through openings. Keep your hands and face clear of openings.
General Safety
- Do not immerse the air fryer housing or plug in water or liquid.
- Closely supervise children near your air fryer.
- Unplug when not in use, and before cleaning. Allow to cool before putting on or taking off parts.
- Do not use your air fryer if it is damaged, not working, or if the cord or plug is damaged. Contact Customer Support (see page 27).
- Do not use third-party replacement parts oraccessories, as this may cause injuries.
- Ddo not use outdoors.
- Do not place the air fryer or any of its parts on a stove, near gas or electric burners, or in a heated oven.
- Be extremely cautious when moving your airfryer (or removing the baskets) if it contains hot oil or other hot liquids.
- Do not clean with metal scouring pads. Metal fragments can break off the pad and touch electrical parts, creating a risk of electric shock.
- Do not place anything on top of your air fryer. Do not store anything inside your air fryer.
- Only use your air fryer as directed in this manual.
- Not for commercial use. Household use only.
- Cleaning and user maintenance shall not be made by children.
- Keep the appliance and its cord out of reach of children.
- This equipment can be used by children 8 years and older as well as persons with reduced physical, sensory, or mental capabilities or lack of experience and knowledge if they have been given supervision or instruction concerning use of the air purifier in a safe way and understand the hazards involved.
- Children shall not play with the appliance.
While Air Frying
- An air fryer works with hot air only. Never fill the baskets with oil or fat.
- Never use your air fryer without the baskets in place.
- Do not place oversized foods or metal utensils into your air fryer.
- Do not place paper, cardboard, non-heatresistant plastic, or similar materials into your air fryer. You may use parchment paper or foil.
- Never put baking or parchment paper into the air fryer without food on top. Air circulation can cause paper to lift and touch heating coils.
- Always use heat-safe containers. Be extremely cautious if using containers that aren’t metal or glass.
- Keep your air fryer away from flammable materials (curtains, tablecloths, etc). Use on a flat, stable, heat-resistant surface away from heat sources or liquids.
- Immediately turn off and unplug your air fryer if you see dark smoke coming out. White smoke is normal, caused by heating fat or food splashing, but dark smoke means that food is burning or there is a circuit problem. Wait for smoke to clear before pulling the baskets out. If the cause was not burnt food, contact Customer Support (page 27).
- Do not leave your air fryer unattended while in use.
Plug and Cord
- Do not let the power cord (or any extension cord) hang over the edge of a table or counter, or touch hot surfaces.
Note: This air fryer uses a short power-supply cord to reduce the risk of entangling or tripping. Use extension cords with care. The marked electrical rating of the extension cord must be as great as the rating of the air fryer (see page 2).
- This air fryer is not intended to be operated by means of an external timer or separate remote control system

Electromagnetic Fields (EMF)
The Cosori Air Fryer complies with all standards regarding electromagnetic fields (EMF). If handled properly and according to the instructions in this user manual, the appliance is safe to use based on scientific evidence currently available.
SAVE THESE INSTRUCTIONS

This symbol means the product must not be discarded as household waste, and should be delivered to an appropriate collection facility for recycling. Proper disposal and recycling helps protect natural resources, human health and the environment. For more information on disposal and recycling of this product, contact your local municipality, disposal service, or the shop where you bought this product.
This product is RoHS compliant. This product is in compliance with Directive 2011/65/EU, and its amendments, on the restriction of the use of certain hazardous substances in electrical and electronic equipment.
GETTING TO KNOW YOUR AIR FRYER
Your Cosori Air Fryer uses rapid 360° air circulation technology to cook with little-to-no oil for quick, crispy, delicious food with up to 85% fewer calories than deep fryers. With user-friendly, one-touch controls, nonstick baskets, and an intuitive, safe design, the Cosori Air Fryer is the star of your kitchen.
Air Fryer Diagram
Note:
- Do not try to open the top of the air fryer. It is not a lid.
- The baskets are made of aluminium metal with nonstick coating. They are PFOA-free and BPA-free

- A. Air Inlet
- B. Control Screen
- C. Inner Basket
- D. Outer Basket
- E. Basket Handle
- F. Sliding Button Guard
- G. Basket Release Button
- H. Housing Handles
- I. Air Outlet
- J. Power Cord
- K. Skewer Rack
- L. Skewers

DISPLAY DIAGRAM
Note: When you press a button to use a function or program, it will turn blue to show that it’s active. [Figure 1.1]
Presets

Control Panel
DISPLAY DIAGRAM (CONT.) 
DISPLAY DIAGRAM (CONT.)
Display

DISPLAY MESSAGES
- Cooking program has ended.

- Reminder to shake or flip food.

- Air fryer is preheated and ready to start cooking.

BEFORE FIRST USE
Setting Up
- Remove all packaging from the air fryer, including any temporary stickers.
- Place the air fryer on a stable, level, heatresistant surface. Keep away from areas that can be damaged by steam (such as walls or cupboards)
Note: Leave 13 cm / 5 in of space behind and above the air fryer. [Figure 2.1] Leave enough room to remove the baskets. - Pull the handle to remove the baskets. Remove all plastic from the baskets.
- Press the basket release button to separate the inner basket from the outer basket.
- Wash both baskets thoroughly, using either a dishwasher or a non-abrasive sponge.
- Wipe the inside and outside of the air fryer with a slightly moist cloth. Dry with a towel.
- Put the baskets back inside the air fryer.

Test Run
A test run will help you become familiar with your air fryer, make sure it’s working correctly, and clean it of possible residues in the process
- 1. Make sure the air fryer baskets are empty and plug in the air fryer.
- Press Preheat. The display will show “205°C” and “5 MIN”.
- Press to begin preheating. When preheating is done, the air fryer will beep.
- Pull out the baskets and let them cool for 5 minutes. Then place the empty baskets back in the air fryer.
- Press
to select the Steak preset. The display will show “205°C” and “6 MIN”. - Press Temp/Time twice. The time will blink on the display. Press the – button once to change the time to 5 minutes.
- Press to begin. When finished, the air fryer will beep.
- Pull out the baskets. This time, let the baskets cool completely for 10–30 minutes.
Basket Tips
- Only separate the baskets to clean or after cooking.
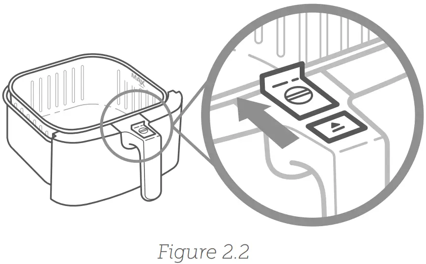
- The button guard protects the release button from being pressed accidentally. Slide the button guard forward to press the release button. [Figure 2.2]

- Never press the release button while carrying the baskets.
- Only press the basket release button with the baskets resting on a counter, or any level, heat-resistant surface.
- The handle is attached to the inner basket, not the outer basket. [Figure 2.3] When you press the release button, the outer basket will drop

Note:
- Do not unscrew the basket handle from the baskets.
- To order accessories, please contact Customer Support (see page 27).
USING YOUR AIR FRYER
Preheating
We recommend preheating before placing food into the air fryer, unless your air fryer is already hot. Food will not cook thoroughly without preheating
- Plug in. Press
to turn on the air fryer. - Press Preheat. The display will show “205°C” and “5 MIN”.
- Optionally, press the + or – buttons to change the temperature. The time will adjust automatically
Temperature Time 205°C 5 minutes 200°C 5 minutes 195°C 5 minutes 190°C 4 minutes 185°C 4 minutes 180°C 4 minutes 170°C 4 minutes 165°C and below 3 minutes - Press
to begin preheating. - When preheating is done, the air fryer will beep 3 times. The display will show:

Note: If no buttons are pressed for 3 minutes, the air fryer will clear all settings and go into standby.
Air Frying
Note
- Do not place anything on top of your air fryer. This will disrupt airflow and cause poor air frying results. [Figure 3.1]
- An air fryer is not a deep fryer. Do not fill the baskets with oil, frying fat, or any liquid.
- When taking the baskets out of the air fryer, be careful of hot steam, and do not press the basket release button.

- You can customise time (1–60 minutes) and temperature (75°–205°C / 170°–400°F), unless noted.
- Results may vary. Check out our Reference Guide and Recipe Book for a guide to customising presets for perfect results.
| Preset | Symbol | Default Temperature | Default Time | Shake Reminder?* |
| Steak | ![]() | 205°C | 6 minutes | |
| Chicken | ![]() | 195°C | 25 minutes | |
| Seafood | 175°C | 8 minutes | ||
| Shrimp | ![]() | 190°C | 6 minutes | SHAKE |
| Bacon | ![]() | 160°C | 8 minutes | |
| Frozen Foods | ![]() | 175°C | 10 minutes | ((SHAKE)) |
| French Fries** | 195°C | 25 minutes | ((SHAKE)) | |
| Vegetables | ![]() | 150°C | 10 minutes | ((SHAKE)) |
| Root Vegetables | ![]() | 205°C | 12 minutes | ((SHAKE)) |
| Bread | 160°C | 8 minutes | ||
| Desserts | ![]() | 150°C | 30 minutes | |
| Preheat | ![]() | 205°C | 5 minutes | |
| Keep Warm KEEP | ![]() | 75°C | 5 minutes |
* See Shaking Food (page 21).
** See Cooking Guide (page 22) for tips on air frying french fries.
Preset Air Frying Programs
Using a preset is the easiest way to air fry. Presets are programmed with an ideal time and temperature for cooking certain foods.
- Preheat your air fryer (see page 17).
- When your air fryer displays “READY”, add food to the baskets.
- Select a preset cooking program (see page 18).
- Optionally, customise the temperature and time. You can do this anytime during cooking.
a. Press Temp/Time once. The temperature will blink on the display. Press the + or – buttons to change the temperature (75°–205°C / 170°–400°F).
b. Press Temp/Time a second time. The time will blink on the display. Press the + or – buttons to change the time (1–60 minutes).
Note: To rapidly increase or decrease time or temperature, press and hold the + or – buttons - Press to begin air frying.
- When using certain presets, the Shake Reminder will appear halfway through cooking time. The air fryer will beep 5 times, and “((SHAKE))” will blink on the display
a. Take the baskets out of the air fryer, being careful of hot steam. The air fryer will pause cooking automatically, and the display will turn off until the baskets are replaced.
b. Shake or flip the food. Be careful not to press the basket release button.
c. Put the baskets back into the air fryer
Note: See Shaking Food (page 21). - The air fryer will beep 3 times when finished. The display will show:

- Optionally, press Keep Warm. Press the + or – buttons to change the time (1–60 minutes).
- Take the baskets out of the air fryer, being careful of hot steam.
- Remove the inner basket from the outer basket to serve food. When separating baskets:
a. Make sure the baskets are resting on a flat surface.
b. Watch for hot oil or fat collected in the outer basket. To avoid splashing, drain oil before replacing inner basket. [Figure 3.2] - Allow to cool before cleaning

Manual Air Frying
- Preheat your air fryer (see page 17).
- When your air fryer displays “READY”, add food to the baskets.
- Set the temperature and time. You can change this any time during cooking.
a. Press Temp/Time once. The temperature will blink on the display. Press the + or – buttons to change the temperature (75°–205°C / 170°–400°F).
b. Press Temp/Time a second time. The time will blink on the display. Press the + or – buttons to change the time (1–60 minutes).
Note: To rapidly increase or decrease time or temperature, press and hold the + or – buttons. - Press to begin air frying.
Note- When manually air frying, there will be no Shake Reminder. You should still shake or flip appropriate foods.
- If you want the Shake Reminder, select a preset program with the reminder (see page 18) and change the time and temperature as desired
- The air fryer will beep 3 times when finished. The display will show:

- Optionally, press Keep Warm. Press the + or – buttons to change the time (1–60 minutes).
- Take the baskets out of the air fryer, being careful of hot steam.
- Remove the inner basket from the outer basket to serve food. When separating baskets: Make sure the baskets are resting on a flat surface.
b. Watch for hot oil or fat collected in the outer basket. To avoid splashing, drain oil before replacing inner basket. [Figure 3.2] - Allow to cool before cleaning
Shaking Food
How to Shake
- During cooking, take the baskets out of the air fryer and shake, mix, or flip the food
- A. To shake food:
- Hold the baskets just above a heat-resistant surface for safety purposes. Do not press the basket release button.
- Shake the baskets.
B. If the baskets are too heavy to shake: - Place the baskets on a heatresistant holder or surface.
- Separate the baskets. Make sure no liquids are dripping from the inner basket.
- Carefully shake the inner basket
Note: Do not use this method if there is a risk of hot liquids splashing.
- When you take the baskets out, the air fryer will pause cooking automatically. As a safety feature, the display will turn off until the baskets are replaced.
- When you replace the baskets, cooking will automatically resume.
- Avoid shaking longer than 30 seconds, as the air fryer may start to cool down.
What to Shake
- Small foods that are stacked will usually need shaking, such as fries or nuggets.
- Without shaking, foods may not be crispy or evenly cooked.
- You can flip other foods, such as steak, to ensure even browning.
When to Shake
- Shake or flip food once halfway through cooking, or more if desired.
- Certain presets use a Shake Reminder (see Preset Settings, page 18).
Shake Reminder
- The Shake Reminder will alert you with 5 beeps, and “((SHAKE))” will blink on the display.
- If you do not remove the baskets, the Shake Reminder will beep again after 1 minute and the display will show a solid “((SHAKE))”.
- The Shake Reminder will go away once you take out the baskets
Cooking Guide
Overfilling
- If the basket is overfilled, food will cook unevenly.
- Food should not be filled over the “MAX” line of the inner basket. [Figure 3.3] Do not pack in food.

Using Oil
- Adding a small amount of oil to your food will make it crispier. Use no more than 30 mL / 2 US tbsp of oil.
- Oil sprays are excellent for applying small amounts of oil evenly to all food items.
Note: For more from the Cosori Kitchen, check out our Recipe Book and Tips from the Chef.
Food Tips
- You can air fry any frozen foods or goods that can be baked in an oven.
- To make cakes, hand pies, or any food with filling or batter, place food in a heat-safe container before placing in the baskets.
- Air frying high-fat foods will cause fat to drip to the bottom of the baskets. To avoid excess smoke while cooking, pour out fat drippings after cooking.
- Liquid-marinated foods create splatter and excess smoke. Pat these foods dry before air frying
French Fries
- Add 8–15 mL / ½–1 US tbs poil for crispiness.
- When making fries from raw potatoes, soak uncooked fries in water for 15 minutes to remove starch prior to frying. Pat dry with a towel before adding oil.
- Cut uncooked fries smaller for crispier results. Try cutting fries into 0.6- by 7.6-cm / ¼- by 3-inch strips.
More Functions
Pausing
- Press to pause cooking. The air fryer will stop heating, and will blink until you press to resume cooking.
- After 30 minutes of inactivity, the air fryer will turn off.
- This function allows you to pause the cooking program without removing the baskets from the air fryer.
Automatically Resume Cooking
- If you pull out the baskets, the air fryer will pause cooking automatically. The display will turn off temporarily as a safety feature.
- When you return the baskets, the air fryer will automatically resume cooking based on your previous settings
Automatic Shutoff
- If the air fryer has no active cooking programs, the air fryer will clear all settings and turn off after 3 minutes of inactivity
Overheat Protection
- If the air fryer overheats, it will automatically shut down as a safety feature.
- Let the air fryer cool down completely before using it again.
CARE AND MAINTENANCE
Note
- Always clean the air fryer baskets and interior after every use.
- Lining the outer basket with foil may make cleanup easier.
- Turn off and unplug the air fryer. Allow it to cool completely before cleaning. Pulln out the baskets for faster cooling.
- Wipe the outside of the air fryer with a moist cloth, if necessary.
- The baskets are dishwasher safe. You can also wash the baskets with hot, soapy water and a non-abrasive sponge. Soak if necessary.

Note: The baskets have a nonstick coating. Avoid using metal utensils and abrasive cleaning materials - For stubborn grease:
A. In a small bowl, mix 30 mL / 2 US tbsp of baking soda and 15 mL / 1 US tbsp of water to form a spreadable paste.
b. Use a sponge to spread the paste on the baskets and scrub. Let the baskets sit for 15 minutes before rinsing.c. Wash baskets with soap and water before using. - Clean the inside of the air fryer with a slightly moist, non-abrasive sponge or cloth. Do not immerse in water. [Figure 4.1] If needed, clean the heating coil to remove food debris.
- Dry before using
Note: Make sure the heating coil is completely dry before turning on the air fryer.
WARRANTY INFORMATION
Arovast Corporation warrants all products to be of the highest quality in material, craftsmanship, and service for 2 years, effective from the date of purchase to the end of the warranty period. Warranty lengths may vary between product categories. This warranty does not limit your rights under the applicable local consumer protection laws. If the applicable local consumer protection laws require themanufacturer to provide a longer warranty period, the warranty period shall be extended to the shortest period required by the laws.
If you have any questions or concerns about your new product, please contact our helpful Customer Support Team.
CUSTOMER SUPPORT
Arovast Corporation
1202 N. Miller St., Suite A
Anaheim, CA 92806
USA
Email: [email protected]
*Please have your order invoice and order ID ready before contacting Customer Support.
SHOW US WHAT YOU’RE MAKING
We hope this has been helpful to you. We can’t wait to see your beautiful results, and we think you’ll want to share glam shots! Our community awaits your uploads—just pick your platform of choice below. Snap, tag, and hashtag away, Cosori chef!
![]()













































