Z2-HFR High Flow Retrofit Kit for Undersink Water Filter Systems
User Guide
User Guide Z2-HFR
High Flow Retrofit Kit for Undersink Water Filter Systems
For correct operation & installation, it is essential to observe these instructions.
Puretec Customer Service
Thank you for purchasing a Puretec High Flow Retrofit Water Filter System. Your system is a proven performer manufactured from only quality materials and components and will give years of ‘spring fresh’ water, if maintained properly.
The Puretec High Flow Retrofit Water Filter System cartridge needs replacing regularly to maintain optimum performance. This is a simple procedure when following instructions. For cartridge replacements contact your nearest Puretec stockist.
Customer Service Helpline 1300 140 140 (Australia) 0800 130 140 (New Zealand).
Operation
The Puretec High Flow Retrofit Water Filter System is designed to run economically for many years, dependent on the initial installation and periodical maintenance.
Flush systems for 10 minutes after any period of non-use more than 2 days.
The Z2-HFR system is designed to operate with mains, rain, harsh and rural water.
Cartridge Replacement
To maintain the high quality of the purified water the cartridges need changing every 6 – 12 months, dependent on water quality and usage.
You can obtain replacement cartridges from your local Puretec dealer. To maintain performance standards and warranty, use only genuine Puretec replacements.
Replacement cartridge code for Z2-HFR model: Puretec Z2-R.
Before Installation
This system comes complete with an installation kit enabling it to be connected to 15mm (½”) male thread to an existing tap or mixer tap (cold supply only – hot water should be filtered prior to heating) or a ¼” tube connection to a dedicated filter tap.
Installation Note: A water filter system/tap, like any product, has a limited lifespan and if not replaced, will eventually fail. Failure can happen early due to unforeseen circumstances. To avoid possible property damage, this product should be regularly examined for leakage and/or deterioration and replaced when necessary. We strongly recommend that a drain pan, plumbed to an appropriate drain or outfitted with a leak detector, be used in those applications where any leakage could cause property damage. We also strongly recommend that the water supply be turned off, upstream to the water filter system/tap, if no one is home for an extended period of time.
INSTALLATION SHOULD BE COMPLETED BY QUALIFIED TRADESPEOPLE. FAULTY OPERATION DUE TO UNQUALIFIED PERSONS WILL RESULT IN VOIDED WARRANTY COVERAGE.
Installation Requirements
- A range of fittings have been included to allow for connection to a variety of system setups. The fittings needed may vary in combination to those in the following instructions. Use the fitting combination required for your individual system setup.
- Water supply pressure: 200 – 520 kPa.
Note: Where line pressure exceeds 500 kPa, an approved pressure limiting device must be installed to comply with Australian & New Zealand Plumbing Standards. (Ref. AS/NZS 3500.1:2021, Clause 3.3.4). - Water supply temperature: 0° – 38 °C (protect from freezing).
Alternative fittings may be required if being connected to anything other than ½” braided hose (not included) or ¼” tubing (not included) . No electrical or drainage requirements.
Figure 1 – Mixer Tap Installation Diagram
Note:
- Allow extra free space around the system to avoid accidental impact.
- Where line pressure exceeds 500 kPa, an approved pressure limiting device must be installed to comply with Australian & New Zealand Plumbing Standards. (Ref. AS/NZS 3500.1-2003, Clause 3.3.4)
Installation Procedure to An Existing Mixer System
Where line pressure exceeds 500 kPa, an approved pressure limiting device must be installed to comply with Australian & New Zealand Plumbing Standards. (Ref. AS/NZS 3500.1-2003, Clause 3.3.4). Install the pressure limiting valve prior to the cold water line inlet on the filter system.
Note: A range of fittings have been included to allow for connection to a variety of system setups. The fittings needed may vary in combination to those in the below instructions. Use the fitting combination required for your individual system setup.
- Isolate the water supply and release the water pressure by operating the faucet lever. Disconnect the existing braided hose connections on the exisiting system (inlet and outlet).
Note: Place a container underneath the system to catch any water spillage. - Install the head assembly by positioning it in the desired location, marking the position of fixing holes and fixing with mounting screws (can be mounted horizontally or vertically). Allow room for the connecting hoses and for removing the cartridge (70 mm) as per the installation diagram.
Note: The arrow on the head indicates the direction of the water flow.
Note: Knocking the cartridge can cause the cartridge to come out of the locking position. To limit the likelihood of this occurring it is best not to store items too close to the system to avoid accidental dislodgement of the cartridge. - Install filter cartridge to the head assembly. Please note the arrow on the cartridge label indicates Undo and Install directions.
Warning: Ensuring the cartridge is in the correct lock position is critical prior to operating the system. Not being seated in the correct position can cause the locking tabs to shear and damage the head and/or water leakage. See Fig 4 for the correct position. - Push one of the brass adaptors into the outlet and one into the inlet of the cartridge head, ensuring it is pushed in all the way (see Fig. 3).
- Connect the braided hose (cold water line) to the inlet brass adaptor and the braided hose connected to the tap filter line to the outlet brass adaptor (see Fig 1).
- Make sure all fittings are tight and the braided hoses are kink free.
- Restore the water supply and check for leaks. If leaking occurs then undo cartridge and check the cartridge is seated properly.
- Run the system for at least 10 minutes (turn on mixer tap to run cold water) to remove carbon fines. Water may appear milky, but this is normal and is only tiny air bubbles that will clear after a short period.
Figure 2 – Filter Tap Installation Diagram
Note:
- Allow extra free space around the system to avoid accidental impact.
- Where line pressure exceeds 500 kPa, an approved pressure limiting device must be installed to comply with Australian & New Zealand Plumbing Standards. (Ref. AS/NZS 3500.1-2003, Clause 3.3.4)
Installation Procedure
Installation Procedure to An Existing Filter Tap System
Where line pressure exceeds 500 kPa, an approved pressure limiting device must be installed to comply with Australian & New Zealand Plumbing Standards. (Ref. AS/NZS 3500.1-2003, Clause 3.3.4). Install the pressure limiting valve prior to the cold water line inlet on the filter system.
- Isolate the water supply and release the water pressure by operating the faucet lever. Disconnect the existing tube connections on the existing system (inlet and outlet).
Note: Place a container underneath the system to catch any water spillage. - Install the head assembly by positioning it in the desired location, marking the position of fixing holes and fixing with mounting screws (can be mounted horizontally or vertically). Allow room for the connecting hoses and for removing the cartridge (70 mm) as per the installation diagram.
Note: The arrow on the head indicates the direction of the water flow.
Note: Knocking the cartridge can cause the cartridge to come out of the locking position. To limit the likelihood of this occurring it is best not to store items too close to the system to avoid accidental dislodgement of the cartridge. - Install filter cartridge to the head assembly. Please note the arrow on the cartridge label indicates Undo and Install directions.
Warning: Ensuring the cartridge is in the correct lock position is critical prior to operating the system. Not being seated in the correct position can cause the locking tabs to shear and damage the head and/or water leakage. See Fig 4 for the correct position. - Push one of the reducers into the outlet and one into the inlet of the cartridge head, ensuring it is pushed in all the way in (see Fig. 3 ).
- Connect the tube from the cold water line to the inlet side reducer and the tube connected to the filter tap to the outlet side reducer (see Fig 2).
- Make sure all fittings are tight and the tubes are kink free.
- Restore the water supply and check for leaks. If leaking occurs then undo cartridge and check the cartridge is seated properly.
- Run the system for at least 10 minutes (turn on mixer tap to run cold water) to remove carbon fines. Water may appear milky, but this is normal and is only tiny air bubbles that will clear after a short period.
Use Guidelines
- Use for mains water supply.
- Minimum operating pressure 200 kPa.
- Maximum operating pressure 520 kPa.
Note: Where line pressure exceeds 500 kPa, an approved pressure limiting device must be installed to comply with Australian & New Zealand Plumbing Standards. (Ref. AS/ NZS 3500.1-2003, Clause 3.3.4). - Do not allow exposure to temperatures below 0 °C, protect from freezing.
- Maximum operating temperature 38 °C.
- Nominal flow rate 8 Lpm.
- This system must be installed according to local plumbing codes on the cold water line only.
- This system requires regular replacement of the filter cartridge to maintain proper operation. Varying chlorine, sediment, or organic substance levels may affect replacement frequency.
- Be sure to change the filter cartridge at least every 38,000 litres or every 6 – 12 months which ever occurs first; or whenever you detect a change in taste, odour, or decrease in flow.
Caution: Do not use with water that is microbiologically unsafe or of unknown quality without adequate disinfection before or after the system.
Figure 3 – How To Use Quick Connect Fittings
- Cut the tube square and push in to the tube stop. For metal tube remove burrs and chamfer tube end to prevent O-Ring seal being damaged.

- Fitting grips before it seals. Ensure tube is pushed in to tube stop.

- Tube is secured in position.

- Push collet against body and slide tube out of fitting.
DISCONNECTION PROCEDURE
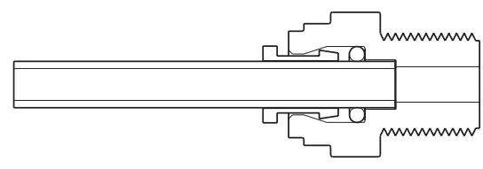
Fitting The Cartridge Correctly
Figure 4 – Fitting The Cartridge Correctly
Ensuring the cartridge is in the correct lock position is critical prior to operating the system. Not being seated in the correct position can cause the locking tabs to shear and damage the head and/or water leakage. 
Cartridge Changeout
Cartridge Changeout
- Shut off water supply and release the water pressure by opening up the tap.
- Remove all packaging from the new cartridge, including any wraps or caps (if applicable). Replacement cartridge code for Z2-HFR model: Puretec Z2-R.
- Rotate the old cartridge counterclockwise 1/4 turn, pull it out and dispose of it.
- Insert the new cartridge into the filter head and rotate clockwise 1/4 turn until the arrows on the head and cartridge align.
- Turn on the water and check for leaks. If leaks occur, repeat step 2 & 3. If leaks persist, discontinue use and call your supporting dealer.
- Flush filter for 5 minutes before use or until water runs clear.
Warranty
Notes
Puretec water care products are designed, manufactured and supported by Puretec Pty Ltd the name you can trust for viable and proven water solutions. The complete range of Puretec products are developed, refined, made to meet and exceed stringent specifications for the worldwide market. Important: Sales of products are subject to our Terms and Conditions which are available upon request. All specifications, information and photos are a guide only and are subject to change without notice. Please ring to confirm details. Warning: For correct operation of this appliance it is essential to observe manufacturer’s instructions.
Warranty
Any claim under this warranty must be made within 1 year of the date of purchase of the product. This product is warranted to be free of defect of material and workmanship for 1 year from date of purchase. 1 year warranty is 1 year parts and labour. Excludes cartridges.
Puretec is renowned for its quality and after-sales support so if you have any issues please call 1300 140 140 (AU) or 0800 130 140 (NZ). To make a warranty claim, contact us directly or the place of original purchase. All costs relating to a warranty claim must be approved by Puretec prior to any work being carried out.
Puretec will pay your reasonable, direct expenses of claiming under this warranty. You may submit details and proof of your expense claim to place of purchase for consideration. The warranty only applies if the product was used and/or installed in accordance with the user guide and/or installation instructions. This warranty is given in lieu of all other express or implied warranties and manufacturer shall in no circumstance be held liable for damages consequential or otherwise or delays caused or faulty manufacturing except as excluded by law.
Applicable to all above, is that the warranties need to be approved by Puretec to ensure product was not incorrectly used, installed or claimed. False and incorrect claims will be pursued at Puretec’s discretion, including chargeable inspection and labour costs incurred. All installation and service work should be completed by qualified tradespeople. Faulty operation due to unqualified persons will result in voided warranty coverage.
Warranty/Australia
This warranty is given by Puretec Pty Ltd, ABN 44 164 806 688, 37-43 Brodie Road, Lonsdale SA 5160, telephone no. 1300 140 140 and email at [email protected].
This warranty is provided in addition to other rights and remedies you have under law: Our goods come with guarantees which cannot be excluded under the Australian Consumer Law. You are entitled to replacement or refund for a major failure and to compensation for other reasonably foreseeable loss or damage. You are also entitled to have the goods repaired or replaced if the goods fail to be of acceptable quality and the failure does not amount to a major failure.
Warranty/New Zealand
This warranty is given by Puretec NZ LP, Reg. No 50081773, PO Box 875 Cambridge 3450 NZ, telephone no. 0800 130 140 and email at [email protected].
This warranty is provided in addition to other rights and remedies you have under law: Our goods come with guarantees which cannot be excluded under the Consumer Guarantees Act. You are entitled to replacement or refund for a major failure and to compensation for other reasonably foreseeable loss or damage. You are also entitled to have the goods repaired or replaced if the goods fail to be of acceptable quality and the failure does not amount to a major failure.
AUSTRALIA
P 1300 140 140
E [email protected]
W puretec.com.au
NEW ZEALAND
P 0800 130 140
E [email protected]
W puretec.co.nz






















