
WD-118981
Hot water dispenser
Instruction manual

SAFETY INSTRUCTIONS
Before use make sure to read all of the below instructions in order to avoid injury or damage, and to get the best results from the appliance. Make sure to keep this manual in a safe place. If you give or transfer this appliance to someone else make sure to also include this manual. In case of damage caused by user failing to follow the instructions in this manual the warranty will be void. The manufacturer/importer accepts no liability for damages caused by failure to follow the manual, a negligent use or use not in accordance with the requirements of this manual.
- This appliance can be used by children aged from 8 years and above if they have been given supervision or instruction concerning use of the appliance in a safe way and if they understand the hazards involved.
- Cleaning and user maintenance shall not be made by children unless they are older than 8 and supervised.
- Keep the appliance and its cord out of reach of children aged less than 8 years.
- Appliances can be used by persons with reduced physical, sensory or mental capabilities or lack of experience and knowledge if they have been given supervision or instruction concerning use of the appliance in a safe way and understand the hazards involved.
- Children shall not play with the appliance.
- If the supply cord is damaged, it must be replaced by the manufacturer, its service agent or similarly qualified persons in order to avoid a hazard.
- This appliance is intended to be used in household and similar applications such as: staff kitchen areas in shops, offices and other working environments; farm houses; by clients in hotels, motels and other residential type environment; bed and breakfast type environments.
- Regarding the instructions for cleaning the surfaces which come in contact with food, please refer to the paragraph “cleaning and maintenance” of the manual.
- Warning: Avoid spillage on the connector.
- There is a potential risk of injuries from misuse.
- The heating element surface is subject to residual heat after use.
- Before inserting the plug into the mains socket, please check that the voltage and frequency comply with the specifications on the rating label.
- Disconnect the mains plug from the socket when the appliance is not in use and before cleaning.
- Ensure that the mains cable is not hung over sharp edges and keep it away from hot objects and open flames.
- Do not immerse the appliance or the mains plug in water or other liquids. There is danger to life due to electric shock!
- To remove the plug from the plug socket, pull the plug. Do not pull the power cord.
- Do not touch the appliance if it falls into water. Remove the plug from its socket, turn off the appliance and send it to an authorized service center for repair.
- Do not plug or unplug the appliance from the electrical outlet with a wet hand.
- Never attempt to open the housing of the appliance, or to repair the appliance yourself. This could cause electric shock.
- Never leave the appliance unattended during use.
- This appliance is not designed for commercial use.
- Do not use the appliance for other than intended use.
- Do not wind the cord around the appliance and do not bend it.
- Do not operate the appliance without water to avoid damaging the heating elements.
- Do not put the appliance into a working disinfection cabinet.
- Please ensure the appliance is used on a firm and flat surface out of reach of children, to avoid being overturned in a sudden.
- Do not touch the hot surface or water spout when the appliance is operating.
- To avoid being scalded, it is prohibited to use hand or any parts of your body to feel the temperature or steam when the appliance is using.
- Do not use the appliance to heat anything other than water. Do not fill above the “max” indication. Do not operate if water is below minimum.
- CAUTION! Before use ensure the drainage stopper under appliance is well tightened.
PARTS DESCRIPTION

| 1. Temperature control knob 2. ON/off button 3. Indicator light 4. Spout 5. Tray 6. Tray cover | 7. Tank cover 8. Water tank 9. Housing 10. Reset key 11. Drainage stopper |
BEFORE USE
If you are using the appliance for the first time, please clean the water tank before use. Always unplug from the plug socket before cleaning. Fill the water tank with clean water, plug in and press the On/off switch to turn on the appliance, let the water flow out until the tank is empty and repeat the same steps for several times, then refill with clean water to be ready for operation.
CAUTION! Before use ensure the drainage stopper under appliance is well tightened.
USE
- Open the lid, fill the water tank with the desired amount of water, and then close the lid. Note: do not fill over the Max level. The water tank can be disassembled to clean or fill. Tips: We suggest to use purged water.
- Place your cup on the removable tray, make sure it aligns with the spout.
- Plug in the appliance.
- Turn the temperature control knob to select the desired temperature.
- Press the On/off switch (to a higher position) to turn on the appliance, the indicator light will first illuminate red, and then illuminate green. The red light here indicates that the inner water pump is pumping water to the inner storage box. It will turn into green in a second. If the water tank is empty, the indicator light will also illuminate red.
- The desired water will flow out continuously from water spout in about 5-10 seconds.
- Press the ON/off switch again, the appliance will be turned off. The indicator light will be off. If you want to obtain water again, repeat above procedure.
Note:
- To protect against scalding, do not touch the boiled water and steam.
- When the water tray is full, remove the water tray and empty it; insert it back properly.
RESET THERMOSTAT
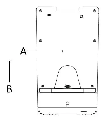
The appliance has a reset thermostat to recover the heating function after abnormal operation; if the unit doesn’t switch on, stop working, is not boiling water, you can reset the thermostat by a reset key easily. (A: reset hole; B: reset key)

CLEANING AND MAINTENANCES
- Always switch off and unplug the appliance and allow it to cool completely before cleaning.
- Do not immerse the appliance into any liquid to avoid the damage.
- To maintain its performance, we suggest to descale the appliance at least once every month. Please use a toxic free detergent such as citric acid; add some citric acid into water and operate two or three times, the scale will dissolve completely. After cleaning, pour out all boiled water and add fresh water to operate the appliance before you drink.
- Open the drainage stopper to clean the waste water. Tighten it back after cleaning. Note: If found water leakage from the bottom, please tighten the drainage stopper.
- You can remove the spout (the spout is removable) to clean up scale deposit. 6. Do not use any chemical, metal, wood or abrasive detergent to clean the appliance housing, always use a damp cloth.
STORAGE
When the appliance is not used for a long time it should be cleaned and put back into original packing to protect the electrical components.
TECHNICAL DATA
Operating voltage: 220-240V~ 50/60Hz
Power: 2200-2600W
GUARANTEE AND CUSTOMER SERVICE
Before delivery our devices are subjected to rigorous quality control. If, despite all care, damage has occurred during production or transportation, please return the device to your dealer. In addition to statutory legal rights, the purchaser has an option to claim under the terms of the following guarantee: For the purchased device we provide 2 years guarantee, commencing from the day of sale. If you have a defective product, you can directly go back to the point of purchase.
Defects which arise due to improper handling of the device and malfunctions due to interventions and repairs by third parties or the fitting of non-original parts are not covered by this guarantee. Always keep your receipt, without the receipt you can’t claim any form of warranty. Damage caused by not following the instruction manual, will lead to a void of warranty, if this results in consequential damages then we will not be liable. Neither can we hold responsible for material damage or personal injury caused by improper use if the instruction manual is not properly executed. Damage to accessories does not mean free replacement of the whole appliance. In such case please contact our service department. Broken glass or breakage of plastic parts is always subject to a charge. Defects to consumables or parts subjected to wearing, as well as cleaning, maintenance or the replacement of said parts are not covered by the warranty and are to be paid.
ENVIRONMENT FRIENDLY DISPOSAL
Recycling European Directive 2012/19/EU This marking indicates that this product should not be disposed with other household wastes. To prevent possible harm to the environment or human health from uncontrolled waste disposal, recycle it responsibly to promote the sustainable reuse of material resources. To return your used device, please use the return and collection systems or contact the retailer where the product was purchased. They can take this product for environmental safe recycling.
| Emerio B.V. Zomervaart 1A 2033 DA Haarlem The Netherlands | Customer service: T: +31 (0) 23 3034369 E: [email protected] | Kundeninformation: T: +49 (0) 3222 1097 600 E: [email protected] | Klantenservice: T: +31 (0) 23 3034369 E: [email protected] |
![]()



















