Xaralyn Bowl 90 / Table 90 Outdoor Fire Instruction Manual

- Close the valve of the gas cylinder or the regulator after use.
- Read the instructions before using this appliance.
- For use outdoors and in well ventilated areas.
- The use of this appliance in enclosed areas can be dangerous and is PROHIBITED.
- The appliance must be installed in accordance with the instructions and local regulation.
- A well ventilated area must have a minimum of 25% of the surface area open. The surface area is the sum of the walls surface.
- This appliance is intended for decorative purposes

FOR OUTDOOR USE ONLY
- Read the instructions before using the appliance.
- Warning: Accessible parts may be very hot, keep young children away.
- Close the valve of the gas bulb or the regulator after use.
- For use outdoors and in well ventilated areas.
- The use of this appliance in enclosed areas can be dangerous and is PROHIBITED.
- The appliance must be installed in accordance with the instructions and local regulation.
- A well ventilated area must have a minimum of 25% of the surface area open. The surface area is the sum of the walls surface.
ASSEMBLY AND USER INSTRUCTIONS
Your new Fire table Bowl 90 is made from the highest quality and eco-friendly materials, and produced under strict manufacturing controls.
Please read the Instructions for assembly before commencing. and follow the instructions for use carefully. We congratulate you on your decision to buy this outdoor gas fire pit and wish you great fun when warming with it.
IMPORTANT SAFETY INSTRUCTIONS
- Please change the gas bulb in a amply ventilated area, away from any ignition source candle, cigarettes, other flame producing appliances.
- Please check that the regulator seal is correctly fitted and able to fulfill its function.
- Do not obstruct the ventilation holes of the bulb housing.
- Please close the gas supply at the valve of the gas cylinder or the regulator after use.
- In the event of gas leakage, the appliance shall not be used or if alight, the gas supply shall be shut off and the appliance shall be investigated and rectified before it is used again.
- Please check the tubing or the flexible hose at least once per month and each time the cylinder is changed. If it shows signs of cracking, splitting or other deterioration, it shall be exchanged for new hose of the same length and of the equivalent quality.
- Please check the tightness of the connections of the gas line supply, including gas cylinder valve/regulator, regulator/hose, hose/appliance gas inlet.
- The appliance area must be kept clear and free from combustible materials, gasoline, and other flammable vapors and liquids.
- Do not use this appliance if any part has been under water. Immediately call a qualified service technician to inspect the appliance and to replace any part of the control system and any gas control that has been under water.
- Children and adults should be alerted to the hazards of high surface temperatures and should stay
away to avoid burns or clothing ignition. - Young children should be carefully supervised when they are in the area of the appliance.
- Clothing or other flammable materials should not be hung from the appliance or placed on or near
the appliance. - Any guard or other protective device removed for servicing the appliance shall be replaced prior to operating the appliance.
- Installation and repair should be done by a qualified service person. The appliance should be inspected before use and at least annually by a qualified service person. More frequent cleaning may be required as necessary. It is imperative that the control compartment, burners, and circulating air passageways of the appliance are kept clean.
- DO NOT burn solid fuels in this appliance.
- This outdoor gas appliance is intended for warming purpose.
- This outdoor gas appliance is for Outdoor Use ONLY.
- This outdoor gas appliance is not intended to be installed in or on recreational vehicles and/boats.
- This outdoor appliance is not for use on wood decks or other flammable surface.
- Before each use of this gas appliance, open the door and/or the Gas Tank Drawer and inspect the hose. If there is evidence of excessive abrasion or wear or if the hose is damaged, the hose assembly must be replaced prior to the appliance being put into operation. Use only the replacement hose assembly specified in this manual. Make sure to leak test.
- Before each use of this gas appliance, inspect the burner. The burner must be replaced prior to the appliance being put into operation if it is evident that the burner is damaged. Use only the replacement burner specified in this instruction.
- Make sure to properly locate the gas hose including locating the hose out of pathways where people may trip over it or in areas where the hose may be subject to accidental damage.
- Keep the fuel supply hose away from any heated surface.
- Never use this appliance closer than 3 meters from anything flammable, including houses or overhead tree branches.
- Never use gasoline, kerosene, or any other liquid fuel to start a fire.
- Always maintain a safe distance from the fire.
- Always supervise children around the fire.
- Never leave a fire unattended.
- The appliance is hot during and after use, always allow ample cooling time before touching or moving.
- When first use, preheat the lava rocks for 15 minutes to burn out the impurities and air in the natural lava rocks.
WARNING
- Read the instructions before installation and use.
- This appliance must be installed and the gas bulb stored in accordance with the regulations in force.
- Do not obstruct the ventilation holes of the bulb housing.
- Do not move the appliance when in operation.
- Shut off the valve at the gas bulb or the regulator before moving the appliance.
- The tubing or the flexible hose must be changed within the prescribed intervals.
- Use only the type of gas and the type of bulb specified by the manufacturer.
- In case of violent wind particular attention must be taken against tilting of the appliance.
- Keep the instructions for future reference.
- For use outdoors or in amply ventilated areas.
- An amply ventilated area must have a minimum of 25% of the surface area open.
- The surface area is the sum of the walls surface.
- Be careful, accessible parts may be very hot. Keep away from young children.
SPECIFICATIONS
The gas fire pit, with gas type l3+, is designed to operate on Propane 37 mbar. Gas consumption, prefssures and injectors orifice sizes are listed in the below table.

DO NOT use this appliance with an adjustable regulator. We suggest you use this appliance with LP gas cylinder listed as below table.

Part List

ASSEMBLY INSTRUCTIONS
- Carefully unpack all parts from the box, compare parts with package content listed above, make sure all parts are present before beginning assembly of product. If any part is missing or damaged, do not attempt to assemble the product. Contact customer service for replacement parts.
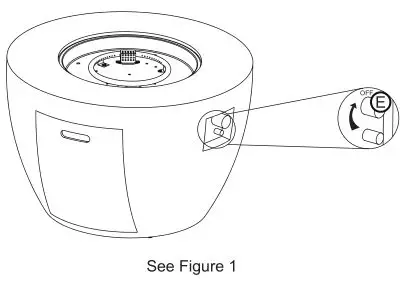
- Check that the control knob (E) for the gas supply system is turned to the “OFF” position before starting any assembly (see Figure 1).

- Please use a flexible hose with a length less than 50cm
- Please use a regulator complied with standard EN 12169.
- Place the gas cylinder onto gas cylinder support, then screw the regulator nut clockwise tightly (see Figure 2).

- Open the box of lava rocks, put the lava rocks (K) into the fire bowl of the fire pit body (H) (see Figure 3).
NOTE: DO NOT completely cover the burner element or block the guard (D) with the lava rocks (K). When the first use, preheat the lava rocks (K) for 15 minutes to burn out the impurities and air in the natural lava rocks (K).
WARNING: Keep children away during assembly, as this item contains lava rock (K, which are small pieces and can be swallowed by children.
CAUTION: Please be advised that this fire pit is equipped with natural lava rock that may crackle or pop the first time it is used. The lava rock has been pre-heat treated to release any natural inherent moisture. However, in rare cases on first time use, the lava rock may pop or burst causing small pieces of hot rock to potentially be a projectile. These hot pieces could cause injury or property damage. As a precaution, please follow these instructions the first time the fire pit is used:- On first use, do not stand over or near the fire pit once lit.
- Light the fire pit and let it run on high for 20 minutes.
- Once lit, do not go within 12 feet of the fire pit for at least the first 20 minutes on the first use to ensure any residual moisture trapped in the rocks gets released.
- After the first heating cycle there is little further concern. It is rare that any crackling will happen on the first use, this is simply a precaution.
- Keep lava rock covered and dry while not in use to prevent additional moisture from getting in the rocks.
- If lava rocks are exposed to moisture after first use, run the burner on low to gradually warm and dry the rocks before repeating steps 1 through 3.
- Cover the fire pit with the outdoor weather cover (A) when not in use to protect it from the elements or when fire pit is cool COMPLETELY after the use (see Figure 4).

BATTERY
Make sure the control knob is in the “OFF” position. Unscrew the push button cap on the igniter module located on the control panel to access the battery compartment. The igniter module requires one AAA size battery (J) (see Figure 5).
WARNING:
- Please observe proper polarity and use the correct battery type when placing or replacing the battery. Improper installation could result in ignition failure.
- Please remove the battery if consumed or if product is to be left unused for a long period of time.

LEAK TEST
To prevent fire or explosion hazard when testing for a leak:
- Always perform the leak test as described below before lighting this appliance or each time the gas bulb is connected for use.
- Do not smoke or allow other sources of ignition in the area while conducting a leak test.
- Conduct the leak test outdoors in a well-ventilated area.
- Do not use matches, lighters or a flame to check for leaks.
- Do not use this appliance until any and all leaks are corrected. If you are unable to stop leak, disconnect the propane supply. Call a gas appliance service shop or your local propane gas supplier.
To perform a leak test:
- Make 2~3 oz. of leak solution by mixing one part liquid dishwashing detergent and three parts water. Noted: make sure control knob is “OFF”.
- Apply several drops of solution where the gas cylinder valve attaches to regulator (see Figure 6), inspect the solution at the connection looking for bubbles. If NO bubbles appear, the connection is secure. If bubbles appear, the connection has the leak, disconnect the regulator, reconnect, perform another leak check. If you continue to see bubbles after several attempts, cylinder valve is defective and should be returned to cylinder’s supplier.
- Apply several drops of solution where hose attaches to appliance gas inlet (see Figure 7), where the regulator attaches to hose (see Figure 8). If NO bubbles appear, the connections are secure. If bubbles appear, the connection has the leak, disconnect, reconnect, perform another leak check. If you continue to see bubbles after several attempts, the part is defective and should replace the part.

LIGHTING INSTRUCTIONS
- Push in gas control knob slightly and turn to “OFF”.
- Turn gas control knob the “ON/MIN”.
- Push in gas control knob all the way and hold. Continue to press the ignition button for 15 seconds.
- If the burner does not light in 15 seconds, release the knob and it will pop back out. Wait 5 minutes before attempting to light the burner again, repeat step 1 to 3.
TO TURN OFF GAS
- Push in gas control knob slightly and turn to “OFF”.
WARNING: For your safety, read and follow the Lighting Instructions in this manual and in the Rating Plate on the appliance. IMPROPER LIGHTING PROCEDURES COULD RESULT IN A FIRE HAZARD OR EXPLOSION HAZARD OR PROPERTY DAMAGE, INJURY OR LOSS OF LIFE.
Observe Flame Height When Lit: The burner will display blue and yellow flames. These flames should be a blue / yellow color between 1~2 in. height (see Figure 9). These flames should not be yellow or produce thick smoke. This would indicate an obstruction of airflow through the burners. The flames should be blue with straight yellow tops.

CARE AND MAINTENANCE
To enjoy the outstanding performance from your fire pit, make sure you perform the following activities on a regular basis:
- Use warm soapy water for cleaning. Never use flammable or corrosive cleaning agents.
- While cleaning the fire pit, make sure to keep the area around the burner dry at all times. DO NOT submerge the control valve assembly. If the gas control is submerge in water, DO NOT use it. It must be replaced.
- Air flow must be unobstructed. Keep controls, burner, and circulating air passageways clean. Signs of possible blockage include:
- Gas odor with extreme yellow tipping of flame.
- Fire pit does NOT reach the desired temperature.
- Fire pit flame is excessively uneven.
- Fire pit makes popping noises.
- Spiders and insects can nest in burner or orifice. This dangerous condition can damage fire pit and render it unsage for use. Clean burner holes by using a heavy-duty pipe clearer. Compressed air may help clear away small particles.
- Carbon deposits may create a fire hazard. Clean burner with warm soapy water if any carbon deposits develop.
- Cover your fire pit with an outdoor weather cover when not in use to protect it from the elements.
NOTE: Always allow fire pit to cool COMPLETELY before you cover the fire pit with an outdoor weather cover or you attempt the service or maintenance.
WARRANTY
Firepits
Burner, steel fire pit bowl, all mechanical parts and fittings to control panel and burner assembly are warranted for a period of one (1 year from original date of purchase, against defects in material and or workmanship. Rust is not covered.
Frames
Frames are warranted to be free from defects in materials and workmanship for a period of one (1 year. Damage to frames or welds due to improper assembly or exposure to water and sub-freezing temperatures, is not covered. Breakage that is a result of product being dropped, acts of nature, acts of war, etc. are not covered.
Finish
The finish is warranted against peeling, cracking, or blistering for a period of one (1 year provided the product has not been scratched or abraded. Scratches and chips resulting from normal wear and tear are not covered. Fading resulting from exposure to elements is not covered. Stains as a result of chemical spills and certain food items are not covered.
Table Tops
All table tops are warranted for a period of one (1 year from original date of purchase, against defects in material and or workmanship. Breakage, discoloration, staining, and or any other weather related issues are not covered.
Warranty Exclusions
Failure caused by unreasonable or abusive use. Firepits that were clearance items, display models or items purchased in an “as is” condition, freight damage, firepit damaged by acts of nature, vandalism, fire, abuse, lack of proper care and maintenance, or improper assembly; straps and normal fading or discoloration from exposure to elements, oils, spills, fluids or chemicals; Table top against breakage; hardware against corrosion or rusting; buckling or splitting of tubing resulting from exposure to water and freezing temperatures; glass table tops, purchased or replacement parts; plastics. Also excluded: loss of use of time and or inconvenience, money, travel, packaging or any other consequential or incidental damages. In no event shall Xaralyn | Clean fire system responsibility exceed the value of the replacement product. Warranty is to the original purchaser when items are purchased from one of our authorized retailers and is not transferable. All warranty claims must be submitted with a dated register receipt within the warranty period. Should replacement of the warranted item be unavailable, Xaralyn | Clean fire system reserves the right to substitute items of our choice similar in style, color and quality. For quality control purposes and verification, we reserve the right to request photographs of the damage item(s). The terms of this warranty are subject to change without notice.
Xaralyn Bowl 90 / Tree Outdoor Fire Instruction Manual – Download
Xaralyn Bowl 90 / Tree Outdoor Fire Instruction Manual – Download (Optimized)


NOTE: DO NOT completely cover the burner element or block the guard (D) with the lava rocks (K). When the first use, preheat the lava rocks (K) for 15 minutes to burn out the impurities and air in the natural lava rocks (K).

















