DirtDevil Vacuum Cleaner Owner’s Manual

- Please read these instructions carefully before using your Breeze™ Can Vac.
- Let us help you put your cleaner together or answer any questions, call:
1-800-321-1134 (USA)
1-800-661-6200 (Canada)
website: www.dirtdevil.com
CONGRATULATIONS
You are now the proud owner of the Dirt Devil® Breeze™ Vision® Canister, with Power You Can See™! The unique bagless design provides hassle-free emptying, yet delivers superior cleaning power. We trust your new purchase will bring you many years of satisfaction.
We are very proud of our products and hope that you are equally satisfied with their quality and performance.
Thank you for your support of Dirt Devil® products.
Visit our website at www.dirtdevil.com
CONSUMER INFORMATION
- THIS VACUUM IS INTENDED FOR HOUSEHOLD USE ONLY.
IMPORTANT SAFETY INSTRUCTIONS
When you use an appliance, basic precautions should always be followed, including the following:
- READ ALL INSTRUCTIONS BEFORE USING THIS APPLIANCE
- ALWAYS FOLLOW THESE SAFETY INSTRUCTIONS
- DO NOT LEAVE CLEANER UNATTENDED
- WARNING – FULLY ASSEMBLE CLEANER BEFORE OPERATING.
WARNING: TO REDUCE THE RISK OF FIRE, ELECTRIC SHOCK OR INJURY:
- Do not leave appliance when plugged in. Unplug from outlet when not in use and before servicing.
- Do not use outdoors or on wet surfaces.
- Do not allow to be used as a toy. Close attention is necessary when used by or near children.
- Use only as described in this manual. Use only manufacturer’s recommended attachments.
- Do not use with damaged cord or plug. If appliance is not working as it should, has been dropped, damaged, left outdoors, or dropped into water, return it to a service center for inspection. Call 1-800-321-1134 for the nearest service center.
- Do not pull or carry by cord, use cord as a handle, close a door on cord, or pull cord around sharp edges or corners. Do not run appliance over cord. Keep cord away from heated surfaces.
- Do not unplug by pulling on cord. To unplug, grasp the plug, not the cord.
- Do not handle plug or appliance with wet hands.
- Do not put any object into openings. Do not use with any opening blocked; keep free of dust, lint, hair and anything that may reduce air flow.
- Keep hair, loose clothing, fingers, and all parts of body away from openings and moving parts.
- Turn off all controls before unplugging.
- Use extra care when cleaning on stairs.
- Do not use to pick up flammable or combustible liquids, such as gasoline, or use in areas where they may be present.
- Look on your vacuum cleaner and follow all label and marking instructions.
- Do not use an extension cord with this cleaner.
- Keep end of hose, wands and other openings away from your face and body. Keep your hands, feet, hair and clothing away from moving parts; especially the revolving brush.
- Do not use the vacuum cleaner without dirt container and/or filters in place.
- Store the vacuum cleaner indoors. Put the vacuum cleaner away after use to prevent tripping accidents.
- Do not pick up anything that is burning or smoking, such as cigarettes, matches, or hot ashes.
- The hose contains electrical wires. Do not use when damaged, cut, or punctured. Avoid picking up sharp objects. (Power Pak model only)
- Always turn off this appliance before connecting or disconnecting either hose or motorized nozzle.
Approved by the Vacuum Cleaner Manufacturer’s Association Executive Committee, April 29, 1987.
SAVE THESE INSTRUCTIONS
WARNING: To reduce the risk of electric shock, this appliance has a polarized plug (one blade is wider than the other). This plug will fit in a polarized outlet only one way. If the plug does not fit fully in the outlet, reverse the plug. If it still does not fit, contact a qualified electrician to install the proper outlet. Do not change the plug in any way.
NOTE: RETURN WARRANTY CARD TO REGISTER YOUR CLEANER
This cleaner contains a thermal protector which will automatically shut off the current flow at abnormally high motor temperatures. If the thermal protector is activated – turn main switch off and unplug the cleaner. Inspect the exhaust, inlet, hose, dirt container, filter and secondary filter for any blockage. After approximately 30 minutes the motor will have cooled and the vacuum will be ready to use. Note: The cleaner must remain unplugged during the 30 minute cooling period.

FEATURES
- Perma Filter™ with CleanStream™
- See Thru Dirt Container
- Rolling Caster Wheel
- Hose
- 10” Floor Nozzle
- 11” Carpet Nozzle
- Handle Grip
- 2 Extension Wands
- Dusting Brush
- Tool Clip
- Crevice Tool
- Shoulder Strap
- Easy Glide Wheels
- Exhaust Filter
- On/Off Switch
- Carry Handle
Power Pak Models Only - Brushroll On/Off Switch
- Power Nozzle
- Hepa Filter™
*Attachments vary per model
CORD WRAP AND QUICK RELEASE

CORD WRAP AND QUICK RELEASE
- For storage, the cord can easily be wrapped around the two cord hooks located underneath the canister.
- Turn the canister on end as shown in Diagram 1.
- Wrap the cord around one cord hook and then the other.
- To release your cord without unwinding it, slide the grey tab upward with finger (Diagram 2).
HOW TO ASSEMBLE & OPERATE
HOW TO ASSEMBLE:
HOSE INSTALLATION AND REMOVAL
WARNING: TO REDUCE THE RISK OF INJURY – UNPLUG CLEANER BEFORE REMOVING OR INSTALLING HOSE.
- Hold hose and match tabs to align with slot inlets of canister (Diagram 1).
- Insert hose. Turn clockwise until hose locks into place (Diagram 2).
ATTACHMENT INSTALLATION AND REMOVAL
- The hose can be used alone or with many combinations of wands and tools.
- Attachments are packaged separately in the box. To store on the unit, simply slide them into the tool clip already located on one of the extension wands.
- Choose any of the handy accessories to meet your various cleaning needs. Then simply push it firmly onto the hose or wand end until the pin locks into place.
- To remove the tool, pull apart gently. You may gently rotate the attachment back and forth a little to make the removal easier. To unlock the wand, push pin, rotate and then pull apart.
HOW TO OPERATE:
- Snap together the two interlocking wands until pin locks into place.
- Push assembled wands into desired cleaning nozzle (carpet nozzle or bare floor nozzle).
a. Carpet cleaning – Select carpet setting on nozzle to High Pile or Low Pile.
b. Bare Floor Cleaning – Attach Floor Nozzle and use. - Insert handle end of hose into assembled wands.
- Push power switch to turn the unit on. 5. Pull handle back into the operating position.
NOTE: For cleaning drapes, throw rugs, or other loose items, you may need to reduce the suction to prevent sucking the item into the cleaning tool. To reduce suction, twist the plastic end on the handle grip until the hole in the grip is exposed. Uncover the hole until the desired amount of reduced suction is achieved.
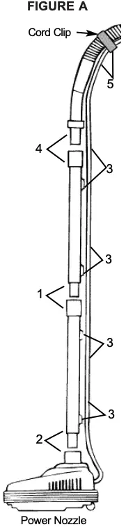
POWER PAK MODELS ONLY
POWER NOZZLE ASSEMBLY
(REFER TO FIGURE A).
WARNING: TO REDUCE THE RISK OF INJURY FROM MOVING PARTS – UNPLUG CLEANER BEFORE CONNECTING OR DISCONNECTING POWER NOZZLE.

- Push together the two interlocking wands until pin locks in place.
- Insert assembled wands into power nozzle to lock into place.
- Press power nozzle cord into slots on back of wands.
- Insert handle end of hose into assembled wands.
- Press cord clips (already attached to cord) onto hose.
HOSE INSTALLATION AND REMOVAL
WARNING: TO REDUCE THE RISK OF INJURY – UNPLUG CLEANER BEFORE REMOVING OR INSTA LLING HOSE.

- Hold hose and match tabs to align with slot inlets of canister (Diagram 1).
- Insert hose. T urn clockwise until hose locks into place (Diagram 2).
- Plug the cord from the hose into the outlet on the cleaner located just in front of carry handle (Diagram 3).
ATTACHMENT INSTALLATION AND REMOVAL
- Choose any of the handy accessories to meet your various cleaning needs. Then simply push it firmly onto the hose or wand end.
- Attachments are packaged separately in the box. To store on the unit, simply slide them into the tool clip already located on one of the extension wands.
- The hose can be used alone or with many combinations of wands and tools. Push the wand into the hose handle until the pin locks into place.
- To remove the tool, pull apart gently. You may gently rotate the attachment back and forth a little to make the removal easier. To unlock the wand, push pin, rotate and then pull apart.
HOW TO OPERATE:
- Pull handle back into the operating position.
- Push power switch on POWER P AK nozzle as shown (Diagram 4).
- Select carpet or bare floor cleaning (Diagram 4).
a. For Carpet Cleaning – Push power switch on the power nozzle. Be sure brush roll is rotating for effective cleaning and grooming.
b. For Bare Floor Cleaning, push power switch on the power nozzle. Be sure brush roll stops rotating.
DIRT CONTAINER & PERMA FILTER™: REMOVAL & REPLACEMENT


CLEANING DIRT CONTAINER & FILTER
WARNING: TO REDUCE THE RISK OF INJURY FROM MOVING PARTS – UNPLUG CLEANER BEFORE SERVICING.
REMOVE & EMPTY DIRT CONTAINER: FOR BEST RESULTS EMPTY DIRT CONTAINER AFTER EACH USE.
WARNING: DO NOT USE DIRT CONTAINER HANDLE TO CARRY CLEANER.
- Sit canister in an upright position. Grasp handle and press button with thumb (Diagram 1).
- Pull lid up and back while holding handle and pressing button (Diagram 1a).
- Grasp handle on dirt container. Lift the dirt container up and out (Diagram 2).
- Remove filter assembly by twisting counter clockwise in order to empty and clean dirt container (Diagram 3 & 4).
- Before replacing filter, shake dirt from filter by tapping against edge of garbage can.
- Return filter to dirt container . Return filter to dirt container by twisting filter assembly clockwise. Close lid on the canister (Diagram 1).
PERMA FILTER™ WITH CLEANSTREAM™ FILTRATION (internal) – located in dirt container (Diagram 3). The Perma Filter™ with Cleanstream ™ Filtration should not need to be replaced but should be cleaned every time the dirt container is emptied to maximize performance of vaccum.
CLEANING DIRT CONTAINER: Periodically , you may want to wash your dirt container.
- Use a sponge and lukewarm water to wipe compartment clean. Let dry completely before using again.
EXHAUST FILTER REMOVAL & REPLACEMENT

EXHAUST FILTER REMOVAL & REPLACEMENT
WARNING: TO REDUCE THE RISK OF INJURY FROM MOVING PARTS – UNPLUG CLEANER BEFORE SERVICING.
This canister contains two filters which work together to prevent dust & allergens from escaping the vacuum and re-entering the air. The first is a Perma Filter™ with Cleanstream™ filtration located inside of the dirt container . The other is an external exhaust filter located in the rear of the canister. Depending on the model, the exhaust filter is either a MicroFresh™ filter or a HEPA filter.
MICROFRESH™
EXHAUST FILTER (external) – Part# 3-250363-001 located in rear of unit.
- Unique filtration system for over 99.9% ”fresh” exhaust air
- Ideal for allergy sufferers
The MICROFRESH™ Filter should be replaced every six months.
- Push release button and pull door down (Diagram 1).
- Grasp MircoFresh™ filter and pull out (Diagram 2). IMPORTANT: Do NOT clean with water.
- To Replace: Insert new Microfresh™ filter (white side up, yellow side down) into the channel of the housing and close door.
For Microfresh™ filter replacements call 1-800-321-1134 (USA)
*HEPA FILTER (external) – Part# 3-250380-001 located in rear of unit.
The HEPA Filter should be replaced annually. Write date of filter replacement on reminder label.
- Push release button and pull door down.
- Grasp HEPA filter cartridge and pull out (Diagram 3). IMPORTANT: Do NOT clean with water.
- To Replace: Insert new HEPA filter into housing and close door.
For HEPA filter replacements call 1-800-321-1134 (USA).
*Not available on all models
SEE ABOVE FOR PERMA FILTER REPLACEMENT
*HEPA Filtration System is available for all models at your local authorized Dirt Devil Dealer.
BELT OR BRUSH ROLL REMOVAL AND REPLACEMENT (POWER PAK MODEL ONLY)

BELT OR BRUSH ROLL REMOVAL AND REPLACEMENT
WARNING: TO REDUCE THE RISK OF INJURY FROM MOVING PARTS – UNPLUG BEFORE SERVICING.
- To remove nozzle guard: turn power nozzle over and insert finger into openings near an arrow as shown (Diagram 1). Squeeze clip and pull nozzle guard toward you.
TO REMOVE BELT:
- Be sure belt is of f motor shaft.
- Lift and remove brush roll (Diagram 2).
- Dispose of old belt.
TO REPLACE BELT:
- Loop belt around motor shaft (Diagram 3).
- Slip brush roll through belt. Place belt on raised area of brush roll without bristles.
- Pull brush toward you and insert into side holder #1 and then #2 (Diagram 4).
- Replace nozzle guard. Match the front tabs to the slots on the nozzle base. Swing down to snap hooks. Press firmly on entire nozzle guard to fit into place (Diagram 5).
IMPORTANT: BE SURE BELT IS NOT TWISTED AND BRUSH ROLL ROTATES SMOOTHLY.
INSTALLATION AND REMOVAL OF CONVENIENT SHOULDER STRAP

INSTALLATION AND REMOVAL OF CONVENIENT SHOULDER STRAP (Optional)
- Insert clips into grooves (one front, one back) on top of canister (Diagram 1).
- Your Breeze ™ Vision® Canister can now be carried on your shoulder while cleaning above the floor (Diagram 2).
- To remove each clip from the cleaner, squeeze the clip together and pull up and out of the slot.
TROUBLE SHOOTING GUIDE

*Attachments vary per model
ANY OTHER SERVICING SHOULD BE DONE BY AN AUTHORIZED SERVICE REPRESENTATIVE
CUSTOMER SERVICE (1-800-321-1134)
In the event that further assistance is required, see your Yellow Pages for an authorized Royal Dealer. Costs of any transportation to and from any place of repair are to be paid by the owner. The service parts used in this unit are easily replaced and readily available from an authorized Royal Dealer or retailer. Always identify your cleaner by the model number when requesting information or ordering replacement parts. (The model number appears on the bottom of the cleaner.)
DirtDevil Vacuum Cleaner Owner’s Manual – Download [optimized]
DirtDevil Vacuum Cleaner Owner’s Manual – Download


















