
ELECTRIC SHORTBOARD BOO’GER
HP1 and HR1 Controller

OWNER’S MANUAL
READ BEFORE YOU RIDE!
ALWAYS WEAR A HELMET when riding the board Other protective gear like wrist guards, gloves, elbow and knee pads are also strongly recommended.
THE BOARD MAY LOSE POWER OR BRAKES Ride at speeds manageable without power or brakes.
DO NOT ride downhill on a full charge. This will damage the battery.
It is strongly recommended all riders take their first rides in LEARNING MODE (Mode 1) and slowly elevate modes to learn the feel and power of the board.
HILLS AND HIGH SPEED can be very dangerous Always assume you may need to foot brake your way out of a sticky situation and never ride faster than you can stop. Ride within your capabilities.
NEVER ride the board while under the influence of drugs and/or alcohol.
PROLONGED EXPOSURE TO HIGH HEAT may damage the electronics. Avoid leaving your board in a hot car or trunk.
LEARN AND OBEY local traffic laws.
SHARE THE ROAD. Be courteous of cyclists, pedestrians and other modes of transport.
WARNING!
RISK OF DEATH OR SERIOUS INJURY. Skateboarding, electric or otherwise, is a dangerous activity. You put yourself at risk of death or serious injury every time you ride a skateboard. Appropriate precautions naturally mitigate these risks.
AVOID WATER! Your Hoyt St board is water resistant, not waterproof The electronics and other components are susceptible to water damage.
ELECTRIC SHOCK RISK. When opening the deck to remove batteries, avoid touching the encased electronics, particularly with metal, as it can damage the electronics and deliver an electric shock.
PINCH POINTS at the motor end of your board can grab fingers, hair and loose clothing. Keep clear of the motors, belts, pulleys and other moving parts.
MAINTENANCE is important to keep your board in safe and optimal condition. Familiarize yourself with the maintenance section of this manual and establish a regular schedule of care.
If your board is behaving Irregularly, please contact [email protected] so we can troubleshoot the problem together.
PERFORMANCE SPECS
RANGE
Depending on many variables including rider weight, speed, incline, temperature and tempo, your Hoyt St electric skateboard will travel up to 16 miles. Reference our Range Calculator at Hoytskate.com for more accurate estimates.
SPEED
Top speed varies depending on operating mode. Mode 1 top speed is 20 mph, mode 2 and 3 are 25 mph with progressively more aggressive acceleration curves and hill climbing.
GRADE
Maximum grade in mode 3 on a full charge is 30% while mode 2 is 25% and mode 1 is 15%. A running start and momentum is required to achieve maximum grade.
WEIGHT
Your Hoyt St Boo’ger weighs in at 17.5 pounds. The ranges, speeds and grades noted above are assuming a 160 lb rider.
GLOSSARY
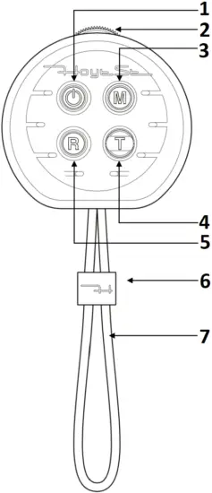
REMOTE CONTROL

- RC POWER
- THROTTLE
- MODE
- TIME TRAVEL
- REVERSE (LEFTIES)
- SLIDER
- LANYARD

TOP VIEW BOTTOM VIEW
- THROTTLE
- USB CHARGING PORT
SKATEBOARD

- BATTERY INDICATOR
- KINGPIN & BUSHING
- TRUCK
- WHEEL
- UNDERCARRIAGE
- DECK FASTENERS
- POWER BUTTON
- CHARGING PORT
- BRUSHLESS MOTOR
- MOTOR PULLEY COVER
- BELT
- WHEEL PULLEY
- MOTOR MOUNT
CAUTION!
KEEP FINGERS, HAIR & LOOSE CLOTHING AWAY FROM MOVING PARTS.
CHARGER

Hoyt St chargers are UL certified and built with the highest level of quality and safety. To charge your Hoyt board, plug in the charger to the port located at the bottom right underside of the board Lift open the charging port and insert the charger A red LED will light up while charging and turn green when fully charged The process requires ~2 hrs. Never leave your board unattended while charging and avoid leaving plugged in for extended periods, like overnight.
TIP 1: The batteries will not be damaged in any way by operating the board after a partial charging session.
TIP 2: Be wary of quick charge claims by resellers. A charge time of 2-3hrs for a 260WH lithium ion battery is recommended by industry experts. An accelerated charging session requires a higher current flow to the cells and may shorten battery life.
CAUTION: The majority of lithium ion battery accidents occur during the charging process. Only use Hoyt St’s supplied charger. Using a different charger may damage the batteries, shorten their life cycles, or even cause fires.
OPERATION
GETTING STARTED
CHARGE THE DECK
Full charge = 2 hours
Charger light turns green when deck is fully charged.
CHARGE THE REMOTE
Full charge = 8 hours of use on a full charge. When charging, LEDs glow red until full charge reached, then green. While riding, click the power button once to check state of charge.
Blue = 8 to 4½ hours
Green = 4½ to 1 hour
Yellow = 1 hour to 20 min
Red = <20 min
OPERATION
LET’S RIDE!
SAFETY FIRST
ALWAYS WEAR A HELMET and consider other protective equipment.
Verify the board is functioning (without rider) in a flat, open area clear of obstructions.
If this is your first ride, we urge you to get a feel for the power and nuance of the board In beginner mode.
Beware of obstacles that may cause control issues: gravel and rocks, cracks and tracks, grates and drains, water and ice, etc.
Remember skateboarding is a dangerous activity, capable of causing serious injury or death. Take necessary precautions to avoid both.
STANCE
Position your body to brace yourself against the forces of acceleration and deceleration.

ACCELERATING BRAKING
POWER THE REMOTE ON AND OFF
Press and hold the power button until it vibrates.
ON: hold 1½ seconds (short vibration).
OFF: hold 1½ seconds (long vibration).
AUTO-OFF: after 5 minutes of inactivity.
POWER THE DECK ON AND OFF
ON: instantaneous.
LED color indicates charge level.
OFF hold 2 seconds. until LED light turns off.
AUTO-OFF: board will turn off automatically after 30 minutes of inactivity.
SAFETY NOTE: always turn skateboard off when remote is off to avoid wi-fi hijacking.
CHECK REMOTE-DECK PAIRING
Paired:
remote LED lights will flash red until board is turned on.
Unpaired:
remote LED lights continuously blink red.
Reference Maintenance section for re-pairing.
CHECK DECK BATTERY LIFE

- LED deck battery indicator at nose of deck illuminates when the board is on.
USING THE REMOTE CONTROL

- REVERSE
- POWER
- FORWARD
- BRAKE/REVERSE
- MODE
- TIME TRAVEL
POWER: Powering on and off requires a VA second hold. Remote will vibrate at activation. Auto-off activates after 5 minutes of inactivity.
Double click to lock/disengage throttle but maintain pairing. Double click again to unlock. Blue light will glow when locked.
MODE: The Hoyt St remote control comes with 3 modes: Click once to toggle between modes, each mode vibrating (once, twice or thrice) to indicate mode.
Mode 1: Learning on flat ground for beginners.
Mode 2: Moderate acceleration and hill climb. Mode of choice for majority of riders.
Mode 3: Delivers more power on acceleration and steep uphill climbs.
All modes have equal braking characteristics.
Toggling modes while operating the skateboard is enabled when throttle in neutral position.
REVERSE: For left handed remote use. Hold button for 1½ seconds until vibrating beep. Test to validate throttle direction has reversed before riding.
TIME TRAVEL: Feature not yet unlocked.
Wireless Electrical Parameters::
RF Range: 2408-2475MHZ
RF Power: >20dBm(EU)
Input Power: 1S3.7V*1000mAh
HP1: 2AZE4-HP1 HR1: 2AZE4-HR1
BACKPACK
WITH BOARD:

WITHOUT BOARD: Your Hoyt St backpack is designed to fold into a compact standard size pack when riding the board and wearing the pack. Fold the pack just above the backpack straps and clip the ends into each other.

- TOOLS: (SKATE TOOL, ALLEN WRENCHES)
LIMITED WARRANTY
Your Hoyt St electric skateboard is covered by a 6 month manufacturer’s warranty, covering defects in craftsmanship and materials Not covered is damage as a result of abuse, misuse, neglect, negligence, accident or exposure to water. Modification of components and/or tampering with the electronics voids the warranty. Perishable items like wheels, belts and bearings are excluded from warranty.
If you discover a product defect within 6 months of ship date, contact [email protected] for return instructions.
Retain your box for return shipping. Warranty excludes damage from shipping in alternative packaging.
ADDITIONAL ONLINE INFO
Website: www.hoytskate.com
Email: [email protected]
YouTube: Hoyt St Electric Skate
Instagram: hoytskate
Facebook: Hoyt St Electric Skate
Twitter: @hoytskate
Mail: 922 NW 11th 104 Portland, OR 97209
Enjoy your Hoyt St electric skateboard!
MAINTENANCE GUIDE
![]()
Every several rides inspect all screws, nuts and bolts, and tighten as necessary Ensure belts are under proper tension.
Remote Control (Re-)Pairing: Pairing is the process of wirelessly coupling your remote control transmitter with the receiver built into the board so other transmitters cannot interfere with data transmission. To re-pair the remote:
- Turn off skateboard and remote control.
- Simultaneously hold the Power Mode and Reverse buttons until remote control LEDs flash green rapidly
- Turn on skateboard’s power. Pairing is complete when the remote vibrates and stops flashing.
Changing Wheels (wheel pulley transfer):
- Remove screws from wheel pulley and remove hub cap.
- Remove the pulley from the wheel with a pulley puller or arbor press.
- Use a rubber mallet or arbor press to press the pulley into the new wheel.
- Reinstall the screws and hubcap using Loctite blue.
Hoyt St will transfer your wheel pulleys to new wheels free of charge (excluding shipping) when new wheels purchased from Hoytskate.com. Contact [email protected] for details.
Wheel bearings: Electric skateboards can easily travel hundreds of miles at high speeds over several sessions; it is imperative that the bearings be maintained for rider safety. Periodically check for noise A grinding or squeaking noise may indicate compromised bearings Bearings should either be replaced or cleaned every three hundred miles. No skateboard bearings are fully protected from the debris that rainwater and mud carries. Avoid riding in the rain or be prepared to replace/clean your bearings more frequently.
Belt maintenance: Hoyt St 300-5M-15 belts have been built to last hundreds of miles without replacement.
- Inspect belts and pulleys periodically by manually rotating the wheels. Remove any sharp objects and debris that may have lodged in the belt or pulley teeth.
- Belt replacement:
- Unscrew wheel nut, carefully setting aside washers.
- Pull the wheel and pulley assembly off the belt by gently rotating the wheel while nudging the belt towards the truck.
- Once the wheel is off, unscrew the four bolts on the motor gear cover.
- Remove the old belt and place the new belt around the motor gear.
- Add the motor gear cover and firmly screw into place.
- Ensure motor pulley is fully pressed against motor.
- Install first wheel washer. Align the bearing spacer with the hole and install the wheel and pulley onto the axle and over the belt. Add the second washer.
- Belt tension: Proper tension is a key performance factor. Your board comes preassembled with optimal tension.
- Excessive belt tension can lead to increased rolling resistance, lower range, more noise and belt failure
- Low tension leads to pulley slippage during hard acceleration and braking.
- Belt tension adjustment:
- Important: Loosen but do not remove the bolts. Use Allen wrench included with purchase.
- Loosen two hex bolts located on inside of the motor mount alongside tension springs.
- Once the hex is loosened, the motor mount springs will auto set the belt tension.
- If necessary, manually adjust the belt and motor mount for proper alignment and re-tighten the bolts.

4mm stubby Allen Skate Tool
![]()
PLEASE CONTACT [email protected] if your board is behaving irregularly so we can troubleshoot together.

922 NW 11TH AVE 104 PORTLAND, OREGON 97209
www.hoytskate.com
© Hoyt PDX Electric, LLC 2018
Cover Art © KimJonesPhotoArt.com
LIMITED WARRANTY
ADDITIONAL ONLINE INFO

















