Lucci decor 031029 Manor

Installation Instructions
Manor
SKU# 031029 – Close to Ceiling fitting only, shade sold separately
Rated Voltage 220-240V~ 50Hz
Thank you for purchasing this quality Lucci product. To ensure correct function and safety, please read and follow all instructions carefully before using the product. Please keep the instructions for future reference.
Warranty
- This light fitting is covered by a 12 month warranty; please retain proof of purchase and evidence of installation by a licensed electrician.
- Warranty will be void if there is any damage due to improper usage or modification to the fitting.
Installation requirements
- Must be installed by a licensed electrician.
- All wiring and installation of the light fitting must adhere to local and national wiring rules. eg. AS/NZS 3000:2007/Amendment 2:2012 Electrical installations.
- Do not exceed the maximum wattage rating.
- Select a suitable location for installation;
- This product is suitable for indoor use only.
- Ensure the fitting is not installed next to any air vents and is not in any moist or damp areas.
- The mounting point must support 2 times the weight of the fitting.
- Take care not to pull any electrical wires during unpacking as this may damage the connection.
- Lay out all the components on a smooth surface and make sure there are no components missing before assembling. If parts are missing, return the complete product to the place of purchase for inspection or replacement.
- Check whether the fitting has been damaged during transport. Do not operate/install any product which appears damaged in any way. Return the complete product to the place of purchase for inspection, repair or replacement.
- Ensure power to the circuit you are working on has been switched OFF.
Shade compatibility
This fitting is compatible with the following shades (sold separately); SKU# 031004, 031005, 031006, 031007, 031008, 031009, 031010, 031011, 031012, 031013, 031014, 031015, 031016, 031017, 031018, 031019, 031025, 031026, 031027, 031028.
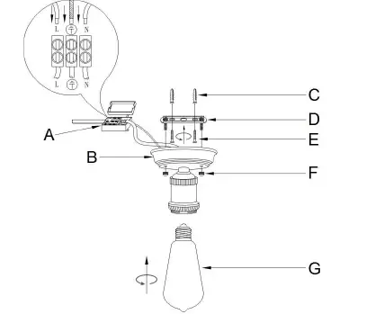
Installation directions
- Remove all packaging material from the product.
- Remove the mounting bracket (D) from the canopy (B) by loosening the decorative nuts (F).
- Use the mounting bracket (D) as a template to mark the screw positions on the ceiling.
- Install the mounting bracket (D) onto the ceiling by using appropriately sized mounting screws (E) and anchors (C). Ensure the screws (E) and anchors (C) used are suitable for the mounting surface.
- Remove the cover from the terminal block (A) and connect the mains supply wire.
- Mains Supply Wire Fitting Wire
- Earth – Yellow/Green Yellow/Green
- Neutral – Blue or Black Blue
- Live – Brown or Red Brown
- Ensure the wires are secure and no bare wires are exposed. Install the cover back over the terminal block (A).
- Install the canopy (B) onto the mounting bracket (D) and secure with the decorative nuts (F).
- Install a globe (G – not included) into the lamp holder. Do not exceed the maximum wattage rating.
NOTE: If you have bought a shade (sold separately), refer to the instruction manual included with the shade for installation directions.
Safety tips
- Always ensure the power is OFF and the fitting has cooled down before performing any maintenance, cleaning, changing the globe or adjustment to the fitting.
- Do not touch the globe with bare hands. Use a clean cloth, gloves or a tissue.
- To avoid injury or damage to the fitting, ensure that power leads and screws are secure before connecting the power.
- Select a suitable location away from liquids and hazards.
- Ensure that the fitting does not come in contact with corrosive chemicals, etc.
- To clean, wipe with a damp clean cloth. Never soak the fitting with water.
Specifications
- SKU # 031029
- Model # LD-C3374
- Rated Voltage 220-240V~ 50Hz
- Rated Wattage MAX. 45W
- Lamp Holder ES / E27
- Weight 1.5kg (Maximum weight configured with shade)
- Dimensions H:97m Dia:113mm (Close to ceiling fitting only)




















