Hunter 19771 Laurel Ridge Natural Iron Pendant Ceiling Light

For Models:
19771
19772
19873
PREPARING FOR INSTALLATION

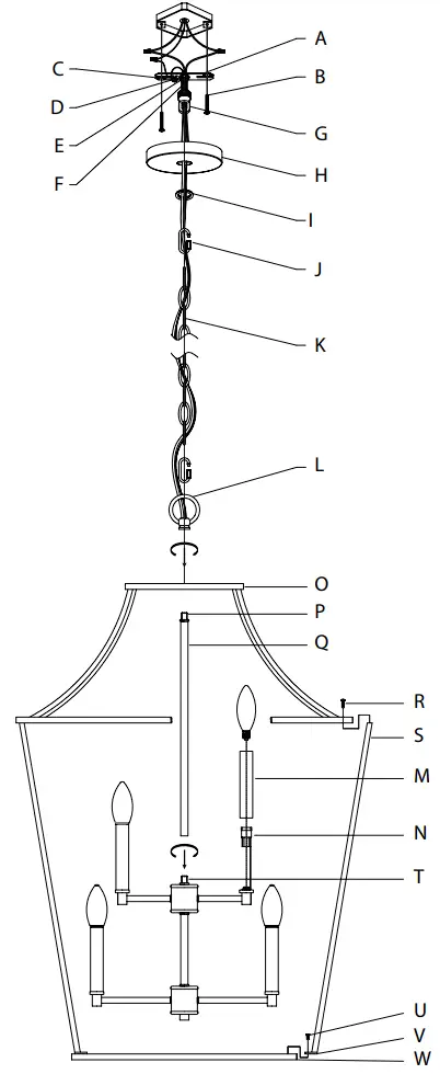
Carefully remove all contents from the carton. Shut off the power at the circuit breaker and completely remove the old fixture from the ceiling, including the old mounting bracket. Remove the new mounting bracket assembly from the bag. One end of the threaded post (F) should be attached to the mounting bracket (A) with a washer(D) and a hex nut (E) in place. The other end should have the canopy loop (G) attached. Unscrew the canopy loop ring (I) from the canopy loop (G). Depending on the placement of your junction box the position of threaded post (F) may need to be adjusted to allow the canopy to be flush with the ceiling. Determine this by lifting mounting bracket (A) up to the junction box and place canopy (H) over the canopy loop (G), so that it is flush with the ceiling. Adjust the position of threaded post (F) on the mounting bracket (A) so that the canopy (H) covers at least half of the exterior threads on the canopy loop (G) while it is securely connected to threaded post (F). The threaded post (F) can be adjusted by loosening hex nut (E) to allow movement of threaded post (F) on mounting bracket (A). Once the ideal position of the threaded post (F) is determined, tighten up the washer (D) and the hex nut (E) onto the threaded post (F) just beneath the mounting bracket (A) to secure the threaded post in place.
| Here are the tools you’ll need to complete your installation: | |
![]() Ladder | ![]() Screwdriver |
![]() Pliers | ![]() Wire Strippers |
| |
| |
READ AND SAVE THESE INSTRUCTIONS
These instructions are provided for your safety. It is very important that they are read carefully and completely before beginning installation of the lighting fixture.
ASSEMBLING THE FIXTURE
Connect frame rod (S) to square frame (W) by lining up the foot (V) with the screw hole on square frame (W) and inserting screw (U) but do not tighten completely. Repeat for all 4 corners of square frame (W). Attach upper frame (O) to each frame rod (S) using screw (R). Tighten all screws (U) in square frame (W). Thread wires through and connect center rod (Q) to threaded post (T) on the fixture. Then thread wires through the top of upper frame (O) and loop (L) attaching loop (L) tightly to threaded post (P). By measuring, determine the correct number of chain links needed for proper hanging height. If necessary, use a pair of pliers to open and remove any excess chain. Attach one quick-connect link (J) to each end of chain (K). Use one quick-connect link (J) to attach chain (K) to loop (L) and securely close. Feed the fixture wires up through the chain (every three links or so), pulling the wires until taut. Slide canopy loop ring (I) and canopy (H) onto the chain/wire and thread wires through canopy loop (G). Use the remaining quick-connect link (J) to attach chain (K) to canopy loop (G). To shorten the fixture, trim the wires to desired length. Leave at least 8 to 10 inches of wire in addition to the desired length. Have a helper support the fixture’s weight and attach the mounting bracket (A) to the junction box by securely tightening the mounting screws (B).
CONNECTING THE WIRES
Attach the fixture’s wires to the power supply wires from the junction box. Connect black to black (Live); white to white (grounded); grounding to grounding (green or copper). Twist the ends of the wire pairs together. Then, twist on a wire connector. Make sure all twists are in the same direction. Loop fixture’s ground wire around grounding screw (C) and tighten. If there is no ground wire (green or copper) from the junction box, contact a qualified electrician.
FINISHING THE INSTALLATION
Place the canopy (H) flush to the ceiling and slide the canopy loop ring (I) up beneath the canopy. Tightly screw canopy loop ring (I) onto the canopy loop (G) to properly secure the canopy (H) in place. Slide candle sleeves (M) onto sockets (N). Install light bulb (not included) in accordance with the fixture’s specifications. (Do not exceed the recommended wattage.) Your installation is now complete. Turn on the power and test the fixture.
CLEANING TIPS
Treat the fixture gently! Regular cleaning will reduce the need for deep cleaning. For regular cleaning, turn off the light and wipe down the fixture with a clean lint-free cotton or microfiber cloth. Never spray cleaner directly onto the fixture.
![]() | Hunter Pro Tip: Let the tool do the work! Use chain pliers to easily open and close chain links to shorten your fixture. |





WARNING 




















