
Instruction manual


www.tfa-dostmann.de/en/service/downloads/instruction-manuals



Wireless thermometer
Thank you for choosing this instrument from TFA.
Before you use this product
- Please make sure you read the instruction manual carefully.
- Following and respecting the instructions in your manual will prevent damage to your instrument and loss of your statutory rights arising from defects due to incorrect use.
- We shall not be liable for any damage occurring as a result of the non-following of these instructions. Likewise, we take no responsibility for any incorrect readings or for any consequences resulting from them.
- Please take particular note of the safety advice!
- Please keep this instruction manual safe for future reference.
Delivery contents
- Wireless thermometer (base station)
- Outdoor transmitter Cat.-No. 30.3234.02
- Instruction manual
Range of application and all the benefits of your new the instrument at a glance
- Outdoor temperature over wireless outdoor transmitter (max. 80 m)
- Indication of indoor temperature and humidity
Indication of maximum and minimum values with manual or auto-reset - Wall mounting or table stand
For your safety
- This product is exclusively intended for the range of applications described above. It should only be used as described within these instructions.
- Unauthorized repairs, alterations, or changes to the product are prohibited.
Caution!
Risk of injury:
- Keep these devices and the batteries out of reach of children.
Batteries contain harmful acids and may be hazardous if swallowed. If a battery is swallowed, this can lead to serious internal burns and death within two hours. If you suspect a battery could have been swallowed or otherwise caught in the body, seek medical help immediately. - Batteries must not be thrown into a fire, short-circuited, taken apart, or recharged. Risk of explosion!
- Low batteries should be changed as soon as possible to prevent damage caused by leaking.
- Wear chemical-resistant protective gloves and safety glasses when handling leaking batteries.
Important information on product safety!
- Do not expose the devices to extreme temperatures, vibrations, or shocks.
- Protect the base station from moisture.
- The outdoor transmitter is splashproof, but not watertight. When placed outdoors, choose a shady and dry place for the transmitter.
Elements
5.1 Base station (Receiver)
A: Display (Fig. 1):
A1: Reception symbol
A2: Outdoor temperature
A3: Max/min values
A4: Indoor temperature
A5: Indoor humidity
A6: Auto-reset of the maximum-minimum values
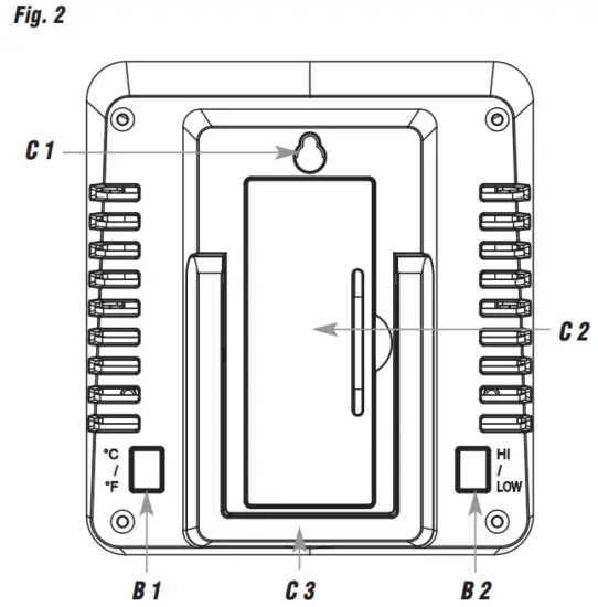
B: Buttons (Fig. 2):
B 1: °C / °F button
B 2: HI /LOW button
C: Housing (Fig. 2):
C 1: Mounting hole
C 2: The battery compartment
C 3: Stand
5.2 Transmitter (Fig. 3+4):
- 1: LED signal lamp
- 2: The battery compartment
- 3: Mounting hole
Getting started
6.1 Insert the batteries
- Place the instruments on a table at a distance of about 1.5 meters from each other. Avoid being close to possible sources of interference such as electronic devices and radio equipment
- Open the battery compartment of the transmitter and insert a new battery (1,5 V AA), ensure that battery polarities are correct. The LED signal lamp flashes.
- Close the battery compartment again.
- Remove the protective film from the base station display.
- Open the battery compartment of the base station.
- Insert a new battery (1,5 V AA), polarity as indicated. All segments will be displayed briefly. The indoor temperature and humidity appear on the display.
- Close the battery compartment again.
6.2 Reception of outdoor transmitter
- After inserting the batteries the transmitter will automatically transmit the temperature. The reception symbol will be flashing on the display.
- If the reception of outdoor temperature fails, “- -” appears on the display. Check the battery and try it again. Check if there is any source of interference.
- You can also start the initialization manually. Hold the °C / °F and HI / LOW buttons on the base station for five seconds at the same time.
- “- -” appears on the outdoor temperature display and the reception symbol flashes. The base station will scan again the outdoor temperature.
Operation
7.1 Indication of the temperature
- Press the °C/7 button to change between °C (Celsius) or °F (Fahrenheit) as the temperature unit
7.2 Maximum and minimum values
- There are two memory modes for highest and lowest values.
7.2.1 Maximum and minimum values with manual reset
- As soon as the base station and the outdoor transmitter are active the maximum and minimum values for indoor and outdoor will be stored and displayed in the right row.
- Press and hold the HI / LOW button for three seconds, the values are deleted (display “-“) and reset to the actual values.
7.2.2 Maximum and minimum values with auto reset
- Press the HI /LOW button to enter the automatic reset mode of the maximum-minimum values.
- HI /LOW 24 HR appears on the display.
- This mode displays the maximum and minimum values measured in the last 24 hours. When a reading is older than 24 hours, it is replaced with the next higher or lower reading that is still within the current 24-hour time window
- Note: The highest and lowest values are not simultaneously reset to the current measurement at a specific time.
- Manual reset is also possible.
Positioning and mounting of the base station and the transmitter
- The base station can be placed onto any flat surface (fold-out stand) or wall-mounted (mounting hole) at your chosen location. Make sure you avoid the vicinity of any source of interference such as computer screens, TV sets, or solid metal objects.
- The transmitter can be wall mounted (mounting hole at the back). When placed outdoors, choose a shady and dry place for the transmitter. Direct sunlight may trigger incorrect measurements and continuous humidity damages the electronic components needlessly.
- Once the desired location is chosen, check whether the transmission from the transmitter to the base station is possible (transmission range of up to 80 m in open areas). Within solid walls, especially ones with metal parts, the transmission range can be reduced considerably.
- If necessary choose another position for the transmitter and/or base station.
Care and maintenance
- Clean the devices with a soft damp cloth. Do not use solvents or scouring agents.
- Remove the batteries if you do not use the devices for a long period of time.
- Store the devices in a dry place.
Troubleshooting
| Problem | Solution |
| No indication on the base station | ➜ Ensure that the battery polarity is correct ➜ Change the battery |
| No transmitter reception Display “—” | ➜ No outdoor transmitter is in- stalled ➜ Start the manual search for the out-door transmitter ➜ Check the outdoor transmitter’s battery (do not use a rechargeable battery!) ➜ Restart the outdoor transmitter and the base station according to the manual ➜ Choose another place for the outdoor transmitter and/or the base station ➜ Reduce the distance between the outdoor transmitter and the base station ➜ Check if there is any source of Interference |
| Incorrect indication | ➜ Change the battery |
Please note: When the batteries are charged, the contact between the transmitter and the base station must be restored – so always insert new batteries into both devices or start the manual search for the transmitter.
Waste disposal
This product has been manufactured using high-grade materials and components which can be recycled and reused.
Never dispose of empty batteries and rechargeable batteries with ordinary household waste.
As a consumer, you are required by law to take them to your retail store or to an appropriate collection site depending on national or local regulations in order to protect the environment.
The symbols for the contained heavy metals are: Cd=cadmium, Hg=mercury, Pb=lead This product is labeled in accordance with the EU Waste Electrical and Electronic Equipment Directive (WEEE).
Please do not dispose of this product in ordinary household waste. As a consumer, you are required to take end-of-life devices to a designated collection point for the disposal of electrical and electronic equipment, in order to ensure environ-mentally-compatible disposal.
Specifications
| Measuring range Indoor temperature | -10 °C … +60 °C |
| Humidity | 10%RH … 99%RH |
| Outdoor temperature | -40 °C … +60 °C |
| Temperature accuracy | ± 1 °C |
| Humidity accuracy | ± 3% (35 … 75%) |
| Range | max. 80 m (open field) |
| Transmission frequency | 433 MHz |
| Maximum radio-frequency power | < 10mW |
| Power consumption Base station Outdoor transmitter | 1 x 1,5 V AA 1 x 1,5 V AA batteries (not included) Use alkaline batteries |
Base station
| Dimensions | 77 x 22 x 86 mm |
| Weight | 70 g (device only) |
Outdoor transmitter
| Dimensions | 64 x 20 x 41 mm |
| Weight | 34 g (device only) |
No part of this manual may be reproduced without the written consent of TFA Dostmann. The technical data are correct at the time of going to print and may change without prior notice. The latest technical data and information about this product can be found on our homepage by simply entering the product number in the search box.
EU Declaration of conformity
Hereby, TFA Dostmann declares that the radio equipment type 30.3065 is in compliance with Directive 2014/53/EU. The full text of the EU declaration of conformity is available at the following Internet address:
www.tfa-dostmann.de/service/downloads/ce
www.tfa-dostmann.de
E-Mail: [email protected]
TFA Dostmann GmbH & Co.KG
Zum Ottersberg 12, D-97877 Wertheim, Germany



















