55703191 42 Inch LED Shop Light with Bluetooth Speakers
Instruction Manual
Package contents

| Part | Description | Quantity |
| A | Shop Light | 1 |
Hardware Included

| Part | Description | Quantity |
| AA | Mounting Chain | 2 |
| BB | Drywall Anchor | 2 |
| CC | Hook Screw | 2 |
NOTE: Keep your receipt and these instructions for proof of purchase.
WARNING: RISK OF ELECTRIC SHOCK. Ensure the electricity to the wires you are working on is shut off. Either remove the fuse or turn off the circuit breaker before removing an existing light fixture or installing the new one.
If you are unfamiliar with electrical installations, we recommend you contact a qualified electrician to do the installation.
InstallatIon PreParatIon
Select a suitable location that can support the weight of the fixture. Determine the method for mounting the fixture before drilling, based on the type of ceiling.
- Mark two spots on the ceiling 30 in. (760mm) apart for suspension mounting before the installation.
MOUNTING TO A DRYWALL CEILING:
a. Drill a 1/8-in. the pilot hole into each of the screw locations marked on the ceiling. You can also use an awl or nail to dimple the screw holes.
b. Install a drywall anchor (BB) and a hook screw (CC) in each drilled mounting hole.
NOTE: The drywall anchors (BB) are only to be used for mounting the fixture to plaster or drywall surfaces.
MOUNTING TO A WOOD CEILING:
a. Drill a 1/16 in. diameter pilot hole in the ceiling.
b. Tighten the hook screw (CC) into the wood.
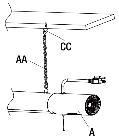
- Attach the S hook at the bottom of the mounting chain (AA) to the hanger on the shop light (A). Repeat this step on the other side of the fixture. Then close all hooks with pliers to secure them.

- Hang the shop light (A) by placing one chain (AA) over each hook screw (CC) that has been installed on the ceiling.
- Adjust chains to level light. The fixture must hang at least 3 in. from the ceiling.

- Plug the electrical plug adapter into an electrical outlet.
- Pull the chain down to turn the light on and off.
CAUTION: When suspension mounting, make sure the light fixture is located directly below the electrical outlet.
Excess cord should be secured to the mounting chain (AA) with the cable tie (not included).
contInuous InstallatIon
Multiple light fixtures can be connected, up to a maximum of eight 42 in. shop lights or 400 total watts. Only the first light fixture needs to be plugged into an electrical outlet.
- Connect each additional fixture using electrical plug adapter. The maximum distance between two light fixtures is 1.22 m (4 ft.).
- For best results, fully insert the electrical plug adapter into the receptacle in the end of the shop light.
WARNING: RISK OF ELECTRIC SHOCK. Disconnect power to the shop light before linking additional shop lights. Do not touch live parts inside the receptacle.

connect to Bluetooth wIreless tecHnology enabled DevIce
- Plug the power cord for the Commercial Electric 42 in. Shop Light with Bluetooth speakers into an electrical outlet. When plugged in, the speakers will emit a brief series of tones to indicate that the speakers have power.
- Enable Bluetooth on your smart device.
- Wait for the smart device to detect the shop light and then select it to pair the device to the speakers. When successfully paired, the speakers will emit a brief series of tones to indicate that your device is connected.
- Play music from your device while connected to the shop light to enjoy the sound from the Bluetooth speakers.
- Turn off the music on your smart device, disconnect the shop light from Bluetooth on your smart device, or disable Bluetooth functionality on your smart device when sound is not wanted from the shop light speakers.
NOTE: Bluetooth-enabled smart devices typically have a range of approximately 33 ft. (10 m). Attempting to pair your smart device to Bluetooth speakers beyond the intended range can result in poor audio quality, dropouts, or failure to connect.
NOTE: Only one device at a time can be connected to the Bluetooth speakers.
care and cleaning
CAUTION: Before attempting to clean the tube and luminaire/light fixture, disconnect the power to the fixture by turning the breaker off or removing the fuse from the fuse box. Clean with a soft, dry cloth. Do not use cleaners with chemicals, solvents, or harsh abrasives. Do not use liquid cleaner on the LEDs, LED driver, or wiring.
Troubleshooting
Minor problems often can be fixed without the help of an electrician.
WARNING: Before doing any work on the fixture, disconnect the power to the light fixture.
| Problem | Possible Cause | Solution |
| The fixture will not light. | The power is off. | Ensure the power supply is on. |
| The circuit breaker is off. | Ensure the circuit breaker is in the on position. | |
| There is a bad connection. | Check to ensure proper wire connections are made. Contact a qualified electrician. | |
| There is a defective switch. | Contact a qualified electrician. | |
| The fuse blows or the circuit breaker trips when the light is turned on. | The wires are crossed or the power the wire is grounding out. | Check the wire connections. Contact a qualified electrician or call Commercial Electric customer service at 1-877-527-0313. |
| The Bluetooth speakers will not pair with a smart device. | The Bluetooth feature is turned off on the smart device. | Ensure the Bluetooth function is turned on within the device settings. A Bluetooth symbol should be visible somewhere on the device screen. Charge up the device being paired with the shop light. Smart power management may have turned off the Bluetooth function when low on power. |
| The smart device is out of the range of Bluetooth speakers. | Be sure the shop light is within 33 ft. (10 m) of the smart device. | |
| The smart device is not discoverable. | Turn on “Discoverable” mode on the device to allow the shop light and smart device to recognize each other. | |
| The smart device did not automatically connect to the Bluetooth speakers. | Confirm the device’s “Discoverable” mode is turned on to allow the shop light and smart device to recognize each other. Go to the pairing list on the device and manually connect the device to the shop light. | |
| The shop light is not powered on. | Make sure the shop light is plugged into a working electrical outlet. Ensure the circuit breaker is in the on position. | |
| Interference is causing confusion with the connection. | Power both the device and the shop light off and back on. Power off other devices the shop light has previously been connected to. Delete the shop light from the smart device and rediscover it. Move away from Wi-Fi routers or computers that could be causing interference. | |
| There is no sound or poor sound quality from the speakers. | Music settings on the smart device need to be adjusted. | Turn music on from the smart device. Turn the volume up from the smart device. |
| The Bluetooth feature is turned off on the smart device. | Ensure the Bluetooth function is turned on within the device settings. A Bluetooth symbol should be visible somewhere on the device screen. Charge up the device being paired with the shop light. Smart power management may have turned off the Bluetooth function when low on power. | |
| The Bluetooth device is too far away from the shop light speakers. | Move the device closer to the shop light/speakers. | |
| Interference is causing confusion with the connection. | Power both the device and the shop light off and back on. Re-pair the device and the shop light speakers. When successfully paired, the speakers will emit a brief series of tones to indicate that your device is connected. Power off other Bluetooth devices within a 33 ft. proximity range. Only one device can be connected to the shop light/speakers at a time. |
WARNING: Carefully read and understand the information given in this manual before beginning the assembly and installation. Failure to do so so could lead to electric shock, fire, or other injuries which could be hazardous or even fatal.
- Changes or modifications not expressly approved by the party responsible for compliance could void the user’s authority to operate the equipment.
- Use the hook to support the chain, not the electrical cord.
- Do not install on a radiant-heating type ceiling.
- The unit is intended to be installed directly beneath a ceiling-mounted receptacle, and that excess cord should be kept out of the workspace, such as by securing it to one of the supporting chains with a cable tie.
NOTICE: The maximum distance to the electrical receptacle is determined by the 1.5 m (4.92 ft.) power cord length.
NOTICE: Connect up to a maximum of seven 42 in. shop lights. Do not exceed 400 total watts for interconnected lights.
NOTICE: This equipment has been tested and found to comply with the limits for a Class B digital device, pursuant to Part 15 of the FCC Rules. These limits are designed to provide reasonable protection against harmful interference in a residential installation. This equipment generates, uses, and can radiate radio frequency energy and, if not installed and used in accordance with the instructions, may cause harmful interference to radio communications. However, there is no guarantee that interference will not occur in a particular installation. If this equipment does cause harmful interference to radio or television reception, which can be determined by turning the equipment off and on, the user is encouraged to try to correct the interference by one or more of the following measures: Reorient or relocate the receiving antenna, increase the separation between the equipment and the receiver, connect the equipment into an outlet on a circuit different from that to which the receiver is connected, and consult the dealer or an experienced radio/TV. Changes or modifications not expressly approved by the party responsible for compliance could void the user’s authority to operate the equipment.
warranty
What Is Covered
The manufacturer warrants this lighting fixture to be free from defects in materials and workmanship for a period of five (5) years from the date of purchase. This warranty applies only to the original consumer purchaser and only to products used in normal use and service. If this product is found to be defective, the manufacturer’s only obligation, and your exclusive remedy, is the repair or replacement of the product at the manufacturer’s discretion, provided that the product has not been damaged through misuse, abuse, accident, modifications, alterations, neglect, or mishandling.
What Is not covered
This warranty shall not apply to any product that is found to have been improperly installed, set up, or used in any way not in accordance with the instructions supplied with the product. This warranty shall not apply to a failure of the product as a result of an accident, misuse, abuse, negligence, alteration, faulty installation, or any other failure not relating to faulty material or workmanship. This warranty shall not apply to the finish on any portion of the product, such as surface and/or weathering, as this is considered normal wear and tear.
The manufacturer does not warrant and specifically disclaims any warranty, whether express or implied, of fitness for a particular purpose, other than the warranty contained herein. The manufacturer specifically disclaims any liability and shall not be liable for any consequential or incidental loss or damage, including but not limited to any labor/expense costs involved in the replacement or repair of said product.
Contact the Customer Service Team at 1-877-527-0313 or visit www.HomeDepot.com.

Questions, problems, missing parts? Before returning to the store,
call Commercial Electric Customer Service
8 a.m. – 7 p.m., EST, Monday – Friday
9 a.m. – 6 p.m., EST, Saturday
1-877-527-0313
HOMEDEPOT.COM
Retain this manual for future use.![]()
MOUNTING TO A DRYWALL CEILING:
MOUNTING TO A WOOD CEILING:






















