RHINO-RACK RUFLB Aluminium Folding Ladder Bracket

Important
- Please read these instructions carefully prior to installation.
- Please refer to your fitting instruction to ensure that the alloy tray is installed correctly.
- Check the contents of this kit before commencing fitment and report any discrepancies
Parts

| Item | Component Name | Qty | Part No. |
| 1 | Base Bracket | 2 | CA1678 |
| 2 | Top Bracket | 2 | CA1679 |
| 3 | M10 Knob | 2 | M874 |
| 4 | M6 x 20mm Socket Screw | 4 | B054 |
| 5 | M6 Spring Washer | 4 | W004 |
| 6 | M6 Flat Washer | 4 | W031 |
| 7 | M6 Plate Nut | 2 | CA1426 |
| 8 | M10 x 100mm Hex Bolt | 2 | B259 |
| 9 | M10 Spring Washer | 2 | W061 |
| 10 | M10 Nut | 2 | N021 |
| 11 | M10 Nyloc Nut | 2 | N101 |
| 12 | Allen Key | 1 | H021 |
| 13 | Instructions | 1 | R1396 |
INSTRUCTIONS
- Loosely assemble the M6 hardware as shown.

- Slide the M10 bolt, spring washer and nut into place. Tighten with 16mm (5/8”) wrench.

- Slide the brackets into the side of the pioneer platform. Space them roughly 595mm (23 7/16”) apart.

- Screw the M10 nyloc nuts down onto the hex bolts. Set the nyloc nut 40mm down from the top of the thread.

- Place the folded ladder into the brackets. The ladder must be angled in under the top hook of the bracket, before being seated onto the bottom ledge of the bracket.

The ladder is slid up under the top hook of the bracket, then comes to rest on the lower ledge.
- The top bracket slides over the hex bolt and rests on the nyloc nut. Be sure to hook the top bracket over a rung of the ladder both front and rear (adjust the nyloc nut if the top bracket cannot grip the ladder properly). Lock the top bracket in place with the M10 knobs. Tighten the brackets in place using the allen key provided.

Note: The top bracket must completely grip the rung of the ladder to be secure. Be sure the nylon nut sits flush with the bracket.
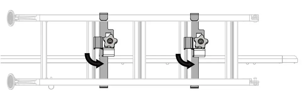
- To remove ladder, loosen M10 knob and swing the brackets down as shown.

The brackets will swing out of the way, releasing the ladder.

Rhino-Rack 3 Pike Street, Rydalmere, NSW 2116, Australia. (Ph) (02) 9638 4744 (Fax) (02) 9638 4822
- Document No: R1396
- Prepared By: Kayle Everett
- Authorised By: Chris Murty
- Fit Time: 15min
- Issue No: 02
- Issue Date: 29/06/2017
These instructions remain the property of Rhino-Rack Australia Pty. Ltd. and may not be used or changed for any other purpose than intended.


























