Cardinal Health CAX1230LA 30°C Plasma Freezers

Preface
IMPORTANT Read this instruction manual. Failure to follow the instructions in this manual can result in damage to the unit, injury to operating personnel, and poor equipment performance.
CAUTION All internal adjustments and maintenance must be performed by qualified service personnel. Material in this manual is for informational purposes only. The contents and the product it describes are subject to change without notice. Cardinal Health makes no representations or warranties with respect to this manual. In no event shall Cardinal Health be held liable for any damages, direct or incidental, arising from or related to the use of this manual. For your future reference, please have the following information readily available. It can be found on the dataplate attached to your unit.
- Model Number:——————-
- Serial Number:———————-
- The following information, if available, is helpful for contacting the factory.
- Date Purchased:——————–
- Purchase Order Number:————————————–
- Source of Purchase:————————————-
- (manufacturer or specific agent/rep organization)
Model
The following table shows the units covered in this operation and the installation manual by model number. Refer to Section 6.1 for details on the voltage specifications for the various models.
Table 1. Applicable Models
| Unit | Model (*) |
| Cardinal Health – CH1230L* | A/D |
| Cardinal Health – CH2330L* | A/D |
| Cardinal Health – CH3030L* | A/D |
| Cardinal Health – CH5030L* | A/D |
Safety Precautions
In this manual, the following symbols and conventions are used:
- This symbol when used alone indicates important operating instructions which reduce the risk of injury or poor performance of the unit.
- WARNING: This symbol indicates potentially hazardous situations which, if not avoided, could result in serious injury or death.
- WARNING: This symbol indicates situations where dangerous voltages exist and potential for electrical shock is present.
- WARNING: This symbol indicates potentially hazardous situations, which if not avoided could result in fire.
- CAUTION: This symbol, in the context of a CAUTION, indicates a potentially hazardous situation which if not avoided could result in minor to moderate injury or damage to the equipment.
- CAUTION: This indicates a situation which may result in property damage.
- This symbol indicates surfaces which may become hot during use and may cause a burn if touched with unprotected body parts.
- Before installing, using or maintaining this product, please be sure to read the manual and product warning labels carefully. Failure to follow these instructions may cause the product to malfunction, which could result in injury or damage.
- This symbol indicates possible pinch points which may cause personal injury.
- The snowflake symbol indicates low temperatures and risk of frost bite. Do not touch bare metal or samples with unprotected body parts.
- This symbol indicates a need to use gloves during indicated procedures. If performing decontamination procedures, use chemically resistant gloves.
- This symbol indicates possible sharp points which may cause skin abrasion.
- The following are important safety precautions that apply to this product:
- Use this product only in the way described in the product literature and in this manual. Before using it, verify that this product is suitable for its intended use. If the equipment is use in a manner not specified by the manufacturer, the protection provided by the equipment may be impaired.
- Do not modify system components, especially the controller. Use OEM exact replacement equipment or parts. Before use, confirm that the product has not been altered in any way.
- WARNING: Risk of Shock. Your unit must be properly grounded in conformity with national and local electrical codes. Do not connect the unit to overloaded power sources.
- WARNING: Risk of Shock. Disconnect unit from all power sources before cleaning, troubleshooting, or performing other maintenance on the product or its controls.
- WARNING: Risk of Fire. This unit is not for storage of flammable materials.
- WARNING: This unit is charged with hydrocarbon refrigerants. Only qualified service personnel should service this unit.
Unauthorized repair of your freezer will invalidate your warranty. Contact Technical Service at 1-800-438-4851 for additional information. - WARNING: Risk of Fire. No equipment that uses an open flame should be placed inside the unit. This will harm the unit, hamper functionality and compromise your safety.
- WARNING: Risk of Fire. Do not use any battery powered or externally-powered equipment in the device.
- CAUTION: Risk of Abrasion. Hidden sharp edges may be present on drawers. Use appropriate Personal Protective Equipment (such as gloves) while handling the drawers to avoid possible sharp points related injury.
EMC
- EMC Registration is done on this equipment for business use only. It may cause interference when the product would be used in home.
- This equipment has been tested and found to comply with the limits for a Class A digital device. Class A covers devices for usage in all establishments other than domestic and that are not directly connected to a low voltage power supply network, which supplies domestic environment.
- This ISM device complies with Canadian ICES-001.
FCC
This equipment has been tested and found to comply with the limits for a Class A digital device, pursuant to part 15 of the FCC Rules. These limits are designed to provide reasonable protection against harmful interference when the equipment is operated in a commercial environment. This equipment generates, uses, and can radiate radio frequency energy and, if not installed and used in accordance with the instruction manual, may cause harmful interference to radio communications. Operation of this equipment in a residential area is likely to cause harmful interference in which case the user will be required to correct the interference at his own expense.
Unpacking
- At the time of delivery, be sure to inspect the unit packaging for damage before signing for the shipment.
- If packaging damage is present, request immediate product inspection and file a claim with the carrier.
- Note Packaging damage does not denote that unit damage exists.
- If the concealed damage is found (damage that is not apparent until the item has been unpacked), stop further unpacking and save all packing for carrier’s inspection. Make a written request for inspection to delivering carrier. This must be done within 15 days after delivery. Then file a claim with the carrier.
- Do not return goods to the manufacturer without written authorization.
Packing List
Inside the freezer cabinet is a bag containing:
- This manual
- Certificate of Conformance
- Safety Data Sheet for Glycerin
- Quick start guide
- Two control panel keys
- Two cabinet door keys
- Chart recorder pamphlet
- Extra chart recorder paper
- If the unit was ordered with shelves, the bag will also include:
- Small bag with shelving clipsIf specified on the order, the bag may also include:
- QC temperature graph and test log
- Calibration information
- Other items with your unit include:
- Power Cord
- Baskets, Shelves or Drawers
- Thermal Bottles
General Recommendations
his section includes some general recommendations for your unit.
Temperature Monitoring
IMPORTANT NOTE We recommend the use of a redundant and independent temperature monitoring system so that the device can be monitored continuously for performance commensurate with the value of the product stored. Please use the probe in glycerin bottle (if present) as the temperature reading reference point for all calibration / validation procedures.
Intended Use
- The -30°C plasma freezers described in this manual are intended for the storage of blood and blood products in a frozen state.
- All materials stored in these products must be in sealed blood bags.
- The product must not be stored in open containers.
- These products are intended for storing samples or inventory at operating temperatures between -35°C and -18°C.
- Expected users of this equipment include but are not limited to personnel from the following areas: Professional
and clinical (blood bank) laboratories, Pharma and Biotech facilities, Industrial and Government facilities or those trained in laboratory protocols put in place at your facility. The units are not for use by the general public. - These products should only be used by authorized and adequately trained personnel.
- It is considered a medical device and has therefore been registered with the medical device regulatory body FDA and is considered a Class 1 medical device by the FDA.
- This product is classified as product code JRM, regulation number 862.2050 and is considered 510(K) exempt. This unit is not intended for use in classified hazardous locations, nor to be used for the storage of flammable or corrosive inventory.
- Storage of unsealed corrosive substances may cause the interior of the unit to corrode.
- Blood bags and blood products CANNOT be stored together with other materials (drugs, reagents and generic use substances). Blood and blood components must be stored in accordance with the temperature settings recommended by the manufacturer and must follow general guidelines around suitable storage period.
Operating Environmental Conditions
- The freezers described in this manual are classified for use as stationary equipment in a Pollution Degree 2 and Overvoltage Category II environment.
- These units are designed to operate under the following environmental conditions:
- Indoor use
- Altitude up to 2000 m (6512 ft)
- Maximum relative humidity 60% for temperatures from 15 to 32°C (59 to 90°F)
- Main supply voltage fluctuations not to exceed 10% of the nominal voltage
- The freezer must not be connected to a GFCI (Ground Fault Circuit Interrupter) protected outlet as it may be subject to nuisance tripping.
- Operation outside of these conditions will affect the performance of the unit and the samples stored inside.
Unit Specifications
- The last character in the model number listed on the freezer identifies the electrical specifications for your unit. The dataplate is located on the upper left side of the unit.
Table 2. Unit Specifications
| Model | Rated Voltage | Rated Current | Frequency / Phase | Power Module Plug | Drawers/ 250ml Plasma Bags | Approximate Weight Kg (lbs) | Exterior Dimensions (D x W x H) |
| 12A | 115 V | 7.2 A | 60 Hz/1 |
IEC C19 |
7 / 273 (39 per drawer) |
162 (358) |
79.0 x 61.9 x 185.4 cm (31.1 x 24.0 x 73.0 in) |
| 12D | 208-230 V | 3.6 A | 60 Hz/1 | ||||
| 23A | 115 V | 10.0 A | 60 Hz/1 |
7 / 532 (76 per drawer) | 209 (461) |
96.2 x 71.1 x 199.4 cm (37.9 x 28.0 x 78.5 in) | |
| 23D | 208-230 V | 7.4 A | 50 Hz/60Hz/1 | 200 (440) | |||
| 30A | 115 V | 10.0 A | 60 Hz/1 |
7 / 665 (95 per drawer) |
221 (488) |
96.2 x 86.4 x 199.4 cm (37.9 x 34.0 x 78.5 in) | |
| 30D | 208-230 V | 7.4 A | 60 Hz/1 | ||||
| 50A | 115 V | 16 A | 60 Hz/1 |
14 / 1064 (76 per drawer) |
332 (731) |
96.2 x 143.5 x 199.4 cm (37.9 x 56.5 x 78.5 in) | |
| 50D | 208-230 V | 9.6 A | 60 Hz/1 |
Installation
WARNING: Do not exceed the electrical rating printed on the dataplate located on the upper left side of the unit. Do not move the unit using the drain pan on the back. This could cause damage to the equipment.
Location
Install the unit on a level area free from vibration with a minimum of 6 inches of space on the sides and rear and 12 inches at the top. Do not position the equipment in direct sunlight or near heating diffusers, radiators or other sources of heat.
WARNING: Risk of Injury. Do not move the unit while loaded. Move by pushing slowly at handle level or lower. Use caution on uneven surfaces.
Installation Instructions
- The unit must be level both front to back and side to side when installed.
- If the unit is out of level, you may need to shim the corners or casters with thin sheets of metal.
- Be sure to set the brakes for units equipped with casters.
- An unlevel unit may result in instability and performance issues for the doors and drawers.
Wiring
- The wiring diagrams are attached on the back of the cabinet.
- CAUTION: Connect the equipment to the correct power source. Incorrect voltage can result in severe damage to the equipment.
- CAUTION: Risk of Shock. For personal safety and trouble-free operation, this unit must be properly grounded while in use . Failure to ground the equipment may cause personal injury or damage to the equipment. Always conform to the National Electrical Code and local codes. Do not connect the unit to overloaded power lines.
- Do not position the unit in a way that impedes access to the disconnecting device or circuit breaker in the back of the unit.
- Always connect the unit to a dedicated (separate) circuit. Each unit is equipped with a service cord and plug designed to connect it to a power outlet which delivers the correct voltage. Supply voltage must be within ±10% of the unit rated voltage. If cord becomes damaged, replace with a properly rated power supply cord.
Table 3. Power Cord Specifications
| Model | Power Cord Specifications |
| 12/23/30 A | 3-G 12 AWG, NEMA 5-15P, 15A/125V |
| 50 A | 3-G 12 AWG, NEMA 5-20P, 20 A/125V |
| D | 3-G 14 AWG, NEMA 6-15P, 15A/250V |
- CAUTION: Risk of Shock. Never cut the grounding prong from the service cord plug. If the prong is removed, the warranty is invalidated.
- In an emergency, the power cord is a disconnect device.
Shelves (Optional)
- Single door plasma freezers have the option to be ordered with 4 wire shelves and double door plasma freezers have the option to be ordered with 8 wire shelves.
- Maximum shelf capacity is 45 kg (100 lbs).
- For safety in shipping, the shelves are packaged and secured inside the cabinet. Insert the shelf support hangers (included inside the unit) into the built-in shelf supports (located on the inside walls of the cabinet interior) at the desired locations. Position the shelves on the flat supports (refer to Figure 1). Do not position shelving to disrupt the thermal bottle(s).

Drawers
- Single-door plasma freezers come standard with 7 drawers and double-door plasma freezers come standard with 14 drawers.
- Drawers are shipped in a factory-installed position that promotes uniform spacing between the drawers.
- The drawer slides are adjustable to higher and lower positions in the cabinet. You can position these slides in the vertical slots which are spaced at one-inch intervals. The drawers must be removed in order to adjust the position of the drawer slides.
- For CH1230, CH2330, and CH5030, the maximum drawer capacity is 27 kg (60 lbs). For CH3030, the maximum drawer capacity is 36 kg (80 lbs).
- CAUTION: Risk of Abrasion. Hidden sharp edges may be present on drawers. Use appropriate Personal Protective Equipment (such as gloves) while handling the drawers to avoid possible sharp points-related injury.
Removing the Drawers
To remove the drawers, complete the following steps (refer to Figure 2):
- Pull the drawer towards you until the slides are fully extended.
- Lift the back of the drawer to disengage the mounting tabs from the slots on the slides.
Note: The drawers fit snugly between the slides. Push the back of the drawer from underneath to remove the drawer. - Raise the back of the drawer almost to a vertical position and disengage the front mounting clips from the sides.

| Label | Description |
| 1 | Tabs |
| 2 | Drawer slide |
| 3 | Slot |
Reinstalling the Drawers
To reinstall the drawers, complete the following steps (refer to Figure 2):
- Pull both the slides of the drawer towards you until the slides are fully extended.
- Position the drawer between the slides and with the back facing end raised at 45 degree angle, insert the mounting clips at the front into the slots in front of the slides.
- Push the back of the drawer down between the slides and insert the basket tabs into the slots at the back.
Note The drawers fit snugly between the slides. Push on the back of the drawer from the inside to insert the drawer tabs completely into the slots. Make sure both the drawer tabs are aligned with the slots on the slides before pushing the drawer down between the slides.
CAUTION: Be careful when reinstalling the drawers to avoid possible pinching.
Changing Drawer Position
Drawer slides have a small wire safety clip at the front pilaster which prevent the slides from falling when the drawer is removed. To change the position of the drawer slides, complete the following steps:
- Locate the safety clip.
- Slip a small screwdriver under the bottom of the wire clip and pry the clip towards the inside of the freezer.

- Lift up the slide at the front. The slide is free to move from the front pilaster.

- The drawer slide must be removed from the rear pilaster at approximately a 45-degree angle towards the center of the cabinet.

- Pull the slide towards the front of the cabinet.
- Determine the desired location for the slide and insert the slide into the rear pilaster at a 45 degree angle towards the center of the cabinet.
- Once the slide is seated in the rear pilaster, rotate the slide until it is parallel with the unit wall and insert slide into front pilaster.
CAUTION: Ensure the slide is level. If the slide is not seated in a level orientation, the drawers/baskets will not function as intended. This could cause injury or product damage. - Replace the safety clip by hooking the clip under the front pilaster slide bracket. Then rotate the wire safety clip to position the other end of the wire safety clip over the top of the same bracket.

- Drawer slides do not require lubrication. Additional lubricant could impede movement of the drawers when lubricant is cold.
Baskets
- Baskets can be ordered as an accessory for this unit.
- The basket slides are adjustable to higher and lower positions in the cabinet.
- You can position these slides in the vertical slots which are spaced at one-inch intervals.
- The baskets must be removed in order to adjust the position of the slides.
- The procedure for removing, reinstalling and changing position of the baskets can be found in Section 7.4.1, Section 7.4.2, and Section 7.4.3.
- The maximum basket capacity is 27 kg (60 lbs).
Temperature Sensor Bottles
- The temperature displayed on the control panel and chart recorder is measured by a probe inserted in sensor bottle inside the cabinet.
- The sensor probe must be inserted in the glycerin bottle prior to operation.
- The sensor bottle is positioned on the left wall towards the top of the unit.
- To install the sensor(s) into the bottles, complete the following steps:
- Remove the bottle from the bracket and verify that each bottle is full of liquid.
- Remove the solid cap from the bottle and save for the next time the unit needs to be moved.
- Remove the taped lid and temperature sensor(s) from the wall.
- Insert the temperature probe(s) into the bottle.
- Secure the lid to the bottle and return the bottle to the bracket.
Door Operation
- The doors on all units are designed to stay open if opened 90 degrees or more.
- The door spring tension cannot be adjusted. If the self-closing door does not work properly, make sure the unit is level.
- Door seal integrity is critical for unit’s performance. Never route anything through the door seal.
- A loose fitting gasket allows moist air to be drawn into the cabinet, resulting in quicker frost buildup on the evaporator coil, longer running time, poor temperature maintenance, and increased operation cost.
- CAUTION: Keep hands and body parts clear of closing doors. The moving parts create a potential pinch point.
- WARNING: Risk of Fire. There are port holes in the walls of the cabinet to help facilitate routing of tubing, independent temperature sensors, and other non-electrical items. The ports are not intended to supply power to devices inside the device. Be sure to seal the holes after routing items to prevent undesired air exchange.
Remote Alarm (Optional)
- All units have factory-installed local alarm contacts that can be used for remote alarm systems.
- The maximum distance between a freezer and a remote alarm depends on the wire gauge used. Refer to Table 4 below:
Table 4. Wire Gauges and Distance to Remote Alarm
| Wire Gauge | Total Wire Length (feet) | Distance to Alarm 1/2 Wire Length (feet) |
| 20 | 530 | 265 |
| 18 | 840 | 420 |
| 16 | 1330 | 665 |
| 14 | 2120 | 1060 |
| 12 | 3370 | 1685 |
- Remote alarm terminals are located at the rear of the machine compartment.
- The three terminals are COMMON, OPEN ON FAIL (Normally Closed), and CLOSE ON FAIL (Normally Open).

To install the remote alarm, make the following connections:
- Connect the COMMON terminal on the cabinet switch to the COMMON wire on the alarm.
- a. To get an alarm when the switch contacts open, connect the OPEN ON FAIL terminal on the cabinet to the OPEN ON FAIL wire on the alarm.
- b. To get an alarm when the switch contacts close, connect the CLOSE ON FAIL terminal on the cabinet to the CLOSE ON FAIL wire on the alarm. The COMMON and CLOSE ON FAIL wires must be tied together in this application. 3. Plug the alarm system service cord into an electrical outlet.
- The contacts will trip in the event of a power outage, high temperature alarm or low temperature alarm.
Final Checks
Before start up, be sure to complete the following steps:
- Make sure that the unit is free of all wood or cardboard shipping materials, both inside and outside.
- Check the positions of the shelves, drawers and baskets. If you want to adjust the positions, see instructions in Section 7.3, Section 7.4 and Section 7.5.
- Verify that the unit is connected to a dedicated circuit.
Startup
Initial Startup
To start up the freezer, complete the following steps:
- Verify that the sensor probe(s) have been installed in the bottle(s) as described in Section 7.6.
- Ensure the double pole circuit breaker switch located next to the power inlet is in “ON” position (i.e. “I” position).
- Insert the key in the switch and turn to the Power On position. The display will show the actual
cabinet temperature and the compressor and evaporator should start within approximately 10 minutes. - Allow the unit to reach operating temperature before loading it with any product. To stabilize the temperature profile, a 24-hour waiting period is recommended.
- If you desire to enable the alarms, turn the three position key switch one turn further clockwise to the Alarm On position. To avoid nuisance alarms, wait until the unit has cooled down to the desired operating temperature (-30°C default).
- If you have a remote alarm, hook it up at this point (refer to Section 7.8).
- If desired, lock the cabinet door using the key. Place duplicate key copies in a safe place.
- All controls should now be fully operational, the alarm active (if enabled), and all visual indicators active.
CAUTION: Use gloves when handling samples to avoid potential frost bite.
Product Loading and Unloading Guidelines
When loading your freezer, take care to observe the following guidelines:
- Never load the plasma freezer beyond capacity. The number of 250 ml bags that are recommended for your unit can be found in Table 2.
- Distribute the load as evenly as possible. Temperature uniformity depends on air circulation, which could be impeded if drawers are overfilled, particularly at the top of the cabinet.
- For critical applications such as plasma storage, be sure that the alarm systems are working and active before you load any product.
- Ensure clearance between the top of the cargo and the bottom of the shelf/drawer/basket. Lack of clearance may affect unit performance or impede operation of drawer/basket. Keep cargo within the bounds of the shelf/drawer/basket.
- For initial product loading and after removing the drawers or baskets for cleaning, be sure to load the unit from the bottom drawer or basket up to ensure the components are seated properly. (Applicable for drawers and baskets only).
- Only open one drawer or basket at a time.
- Avoid disrupting the thermal bottle(s) when repositioning interior components.
- The floor of the cabinet should not be loaded.
- Never load the unit above the load limit line. This is important to ensure that air can circulate properly and evenly distribute the temperature throughout the interior.

Operation
Control Panel
The control panel is located on the top right side of your freezer. You can use the three pushbuttons (#5, #8, and #9 in Figure 10) to change the temperature display (#1) or to adjust temperature and alarm setpoints, as given in Section 9.3. The thermometer display (#2) provides a quick visual indicator of current cabinet temperature and alarm conditions.
- Main temperature display – during normal operation, shows cabinet temperature in degrees Celsius, as measured by the primary sensor inside the cabinet. You can use the buttons to display other values such as setpoints and highest and lowest recorded temperatures. The number in the main display flashes when the value can be modified.
- Thermometer – shows cabinet temperature and alarm conditions. There are 10 horizontal bars: 9 are displayed during normal operation, the tenth (top) bar indicates a warm alarm condition. The number of bars illuminated indicates approximate cabinet temperature. With the default settings, 4 to 6 bars illuminated indicate that the cabinet is at desired setpoint.
- For example, suppose that the cabinet temperature setpoint is -30°C and that the cold and warm alarm setpoints are -35°C and -20°C. Then the number of bars illuminated indicates cabinet temperature as follows:
Table 5. Thermometer Display on Control Panel (Setpoint -30°C)
| Bars Displayed | Temperature (°C) |
| Bulb Only | -35 (cold alarm) |
| 1 Bar | -33.5 |
| 2 Bars | -32 |
| 3 Bars | -30.5 |
| 4 Bars | -29 |
| 5 Bars | -27.5 |
| Bars Displayed | Temperature (°C) |
| 6 Bars | -26 |
| 7 Bars | -24.5 |
| 8 Bars | -23 |
| 9 Bars | -21.5 |
| 10 Bars | -20 (warm alarm) |
When cabinet temperature exceeds the warm alarm setpoint, the top bar of the thermometer flashes. When temperature is lower than the cold alarm setpoint, the bulb flashes. When you are in programming mode (described in Table 7) the thermometer shows the setpoint value you are changing.
- Power failure – illuminates when the main power supply is interrupted. In this case the audible alarm also sounds.
- Service mode – illuminates when the controller is in service programming mode.
- Increase – pushbutton used to increase setpoint values in programming mode and for various display functions.
- Door ajar – illuminates when the freezer door is open longer than the duration specified in the service parameters table; default is approximately 3 minutes (when the alarm is activated and the key switch is turned to the alarm position).
- Battery low – illuminates when the backup battery is low (refer to Section 12.6).
- Decrease – pushbutton used to decrease setpoint values in programming mode and for various display functions.
- Scan – pushbutton used to change the main display and for various other functions.
- Audible alarm – illuminates during warm and cold alarm conditions.
- Key Switch – Switch used to turn the power and alarms on and off for the unit.
- Alarm On – Setpoint Security – when the key switch is in the alarm on position, the alarms are on and the setpoints cannot be modified.
- Power On – when the key switch is in the on position, the unit power is on with no alarms active.
- Off – when the key switch is in the off position, the unit is off.
For full descriptions of display, programming and service functions, refer to Tables 6, 7 and 8.
Display Functions
Table 6. Control Panel Display Function
| Function | Meaning | Sequence | Display |
| Normal operation | Default display while freezer is running. | Temperature display and control panel thermometer icon show cabinet temperature. | |
| Coldest logged temperature | Show coldest cabinet temperature since last startup or reset. | Press | Display shows coldest logged temperature while button is pressed. |
| Warmest logged temperature | Show warmest cabinet temperature since last startup or reset. | Press | Display shows warmest logged temperature while button is pressed. |
| Mute | Silence audible alarm for approximately 6 minutes. | Press SCAN | Display and thermometer show cabinet temperature, alarm icon continues to flash. |
| Reset | Return to default display after alarm condition, clears temperature log. | Press and hold and simultaneously. | Excursion values are reset; temperature display shows cabinet temperature. |
| Alarm Test | Test by simulating warm alarm. Key switch must be in alarm mode. | Press and SCAN simultaneously, hold for approximately 5 seconds | First, the display will show “AtSt” to show entry of the test. Display and thermometer show simulated cabinet temperatures (warm), alarms flash and sound as appropriate. Alarms clear when test is completed. |
Programming Functions
- You can enter the programming mode by pressing the Scan button ( SCAN ) and holding it for approximately 5 seconds.
- The display will then flash “Prg” to indicate that you have entered the programming mode. Use the
and
buttons to modify the values and press the Scan (SCAN) button to save the value and go to the next screen. - Note If the alarms are enabled, all parameters are read-only and cannot be edited.
Table 7. Setpoint Programming Functions
| Screen/Button | Function | Summary | |
| 1 | Initial Screen | Unit Setpoint | The temperature that the unit is set to run |
| 2 | Press Scan ( SCAN ) | Cold Alarm Temperature | The temperature that will actuate the cold alarm (if active) |
| 3 | Press Scan ( SCAN ) | Warm Alarm Temperature | The temperature that will actuate the warm alarm (if active) |
| 4 | Press Scan ( SCAN ) | Exit Program Mode | Returns to normal operating screen |
- If the unit is left idle for a period of approximately 30 seconds during program mode, the program mode shall be exited.
- If at any point the scan button is pressed and held for a period of approximately 10 seconds, the unit shall enter the service mode.
Service Parameters
- You can enter the service mode by pressing the Scan button (SCAN) and holding it for approximately 10 seconds while in
- Programming mode (refer to Section 9.3). The display will then flash “SEr” to indicate that you have entered the service mode
- followed by the software checksum values flashing on the screen. The service icon
will also illuminate. - Use the up
and down
buttons to modify the values and press the scan ( SCAN) button to save the value and go to the next screen. - Note If the alarms are enabled, the unit will not enter Service Mode.
- Resetting any of the following parameter values could adversely affect the performance of your unit. Be sure to understand your
- product requirements before making any adjustments to the service parameter values. These settings very rarely need to be changed from normal operation. Call technical support if you have any questions prior to making any adjustments to service parameter values.
Table 8. Service Parameters
| Screen/Button | Display | Function | Summary | |
| 1 | Initial Screen | SEr -30 | Temp of the unit | Allows the user to see what temperature the unit is designed to run. |
| Varies | CPU Checksum | Shows the current checksum of the CPU board for validation. | ||
| Varies | Relay Board Checksum | Shows the current checksum of the Relay board for validation. | ||
| tyP | Model Type | Unit type 30 for -30 Freezer. This parameter should never be changed. | ||
| 2 | Press Scan ( SCAN ) | CFg | Type of unit | This parameter should only be changed by trained service personnel. |
| 3 | Press Scan ( SCAN ) | CuFt | Size of the unit | Setting for size of the unit. |
| 4 | Press Scan ( SCAN ) |
Pd oFSt |
Control Probe Pulldown Offset | The difference in temperature between the control probe value and the average compartment temperature that determines when the control system changes from pull down mode to steady state operation. This can be useful to adjust if the average compartment temperature has an undershoot or overshoot relative to setpoint during pull down mode. This offset is also used on some freezer models as a response todoor openings. |
|
5. |
Press Scan ( SCAN ) |
Cnt oFSt |
Control Probe Offset | The difference in temperature between the control probe value and the average compartment temperature that is used to control the cooling system to the unit setpoint during steady state operation. This can be useful to adjust if there is a discrepancy between the unit setpoint and the average cabinet temperature. |
|
6 |
Press Scan ( SCAN ) |
dIS oFSt |
Display Probe Offset | The difference in temperature between the display probe value seen on the User Interface display and the average compartment temperature at the unit setpoint during steady state operation. This can be useful to adjust the display during unit calibration procedures. |
|
7 |
Press Scan ( SCAN ) |
Ctr CAl | Display Control Probe with Offset | (If present) Normally OFF (00). If ON (01), the Upper Bottle Temperature output on main display is replaced by the control probe temperature value with offset when exiting the service menu. |
| 8 | Press Scan ( SCAN ) | Cnt ucl | Control Upper Hysteresis | The degree increase in temperature from the setpoint that will trigger the unit to begin cooling to prevent the unit from getting too warm. |
| Screen/Button | Display | Function | Summary | |
| 9 | Press Scan ( SCAN ) | Cnt lcl | Control Lower Hysteresis | The degree decrease in temperature from the setpoint that will trigger the unit to stop cooling to prevent the unit from getting too cold. |
| 10 | Press Scan ( SCAN ) | door AJAr | Door Alarm Time | The approximate time the door can remain open before the door ajar alarm activates in minutes. |
| 11 | Press Scan ( SCAN ) | AdP dEF | Adaptive Defrost | Setting for adaptive defrost ON (01) or OFF (00). |
| 12 | Press Scan ( SCAN ) | dEF Int | Defrost Interval | The time interval between defrost cycles in hours. |
| 13 | Press Scan ( SCAN ) | dEF dur | Defrost Duration | The maximum amount of time the defrost cycle will run in minutes. Value will be “nA” for units with hot gas defrost. |
| 14 | Press Scan ( SCAN ) | dEF Hi | Defrost Temp Out | The maximum temperature that the defrost probe can reach before stopping the defrost cycle. |
| 15 | Press Scan ( SCAN ) | PAn Hi | Drip Pan Temp Out | Maximum temperature drip pan probe can reach before stopping the defrost drip time. |
| 16 | Press Scan ( SCAN ) | qUA | Quality Mode | Normally OFF(00). Used for production line testing. |
| 17 | Press Scan ( SCAN ) | bot | BOT mode | Normally OFF(00). If ON(01), the unit is forced to run at coldest possible temperature for approximately 24 hours. Defrosts will still occur at scheduled. |
| 18 | Press Scan ( SCAN ) | PEr | Perimeter heater Duty Cycle | Controls the perimeter heater ON time. |
| 19 | Press Scan ( SCAN ) | Cnt prb | Control Probe Temperature | Displays control probe temperature (Read Only). |
| 20 | Press Scan ( SCAN ) | Anb prb | Ambient Probe Temperature | Displays ambient probe temperature in deck (Read Only). |
| 21 | Press Scan ( SCAN ) | dEF Prb | Defrost Probe Temperature | Displays defrost probe temperature (Read Only). |
| 22 | Press Scan ( SCAN ) | PAn Prb | Defrost Drip Pan Probe Temperature | Displays defrost drip pan probe temperature. |
|
23 |
Press Scan ( SCAN ) |
— |
Enter Defrost cycle | Pressing the scan button after displaying the defrost Drip Pan probe temperature while not in an alarm mode will force the unit into a defrost cycle. To avoid defrost cycle, leave unit screen idle for approximately 30 seconds. |
- If the unit is left idle for a period of approximately 30 seconds during service mode, the unit will exit service mode and return to normal operation.
- Note If an alarm occurs while in the service mode, it will not show until exiting this mode.
- To reset values back to factory settings, perform the following procedure:
- Turn the key switch to the “OFF” position.
- Hold the up
and down
arrows while turning the key switch to the “ON” position. - Continue to hold the buttons for approximately 10 seconds.
- Release the buttons and turn the key switch to the “OFF” position.
- Turn the key switch to the “ON” position.
Performing this reset will overwrite any changes made after receipt of this unit and may overwrite any changes that were made at the factory to optimize performance.
Temperature Settings
- The factory default temperature setting is -30°C for plasma freezers. To change the factory temperature settings, refer to the instructions in Section 9.3.
Alarms
- The alarm system is designed to provide visual and audible warning signals for both power failure and rise in temperature.
- The alarm is equipped with a battery backup.
- Default cold and warm alarm values are -35°C and -20°C. These values may be adjusted, following instructions in Section 9.3.
- The alarm system is activated only when the key switch is turned to the Alarm On position. The audible warning signal sounds when there is a power failure, temperature alarm condition, or when the door is ajar for approximately 3 minutes with default door alarm setting.
- The Mute function (pressing the ( SCAN ) button) allows you to turn off the audio warning without turning off the visual indicators. The alarm will ring back after approximately 6 minutes if the alarm is still active.
- During a warm alarm, a flashing of the uppermost bar of the thermometer, the temperature display, and the speaker icon will occur at the same time. If there has been a warm alarm since the last alarm reset, but the temperature is not currently in an alarm state, the uppermost bar of the thermometer and the speaker icon will slowly alternate in flashing.
- During a cold alarm, a flashing of the bulb of the thermometer, the temperature display, and the speaker icon will occur at the same time. If there has been a cold alarm since the last alarm reset, but the temperature is not currently in an alarm state, the bulb of the thermometer and the speaker icon will slowly alternate in flashing.
- During a power failure, the power failure icon will illuminate, the thermometer will display without the bulb, and the temperature will flash approximately every 3 seconds.
- If there has been a power failure since the last alarm reset, the power failure icon and the speaker icon will slowly alternate in flashing.
- During a low battery condition, the low battery icon will illuminate.
- The alarms can be reset by pressing and holding the
and
simultaneously.
Chart Recorder
Panel-mounted six inch recorders are standard and factory-installed on all models. Recorder operation begins when the system is powered on.
Set Up and Operation
To prepare the recorder to function properly, complete the following steps:
- Open the recorder door to access the recorder.
- Connect the nine volt DC battery located at the recorder’s upper right corner. This battery provides back-up power.
- Install clean chart paper (refer to Section 10.2 at the next page).
- Close the recorder door.
Note: The recorder may not respond until the system reaches temperatures within the recorder’s range.
| Label | Description |
| 1 | Pressure Sensitive Chart Buttons |
| 2 | Imprinting Stylus |
| 3 | Reference Mark |
| 4 | Hub-Nut and Retaining Wire |
| 5 | Chart |

Changing Chart Paper
To change the chart paper, complete the following steps:
- Locate the pressure sensitive buttons at the front, upper left of the recorder panel.
- Press and hold the change chart button (#3 in Figure 12) for approximately one second. The pen will move off the scale.
- Unscrew the center nut, remove the old chart paper, and install new chart paper. Carefully align the day and time with the reference mark on the recorder panel (a small groove on the left side of the panel, as shown in Figure 11).
- Replace the center nut and hand tighten. Press the change chart button again (#3) to resume temperature recording.
Note Be careful not to pull up on the chart recorder arm while changing paper. Pulling on the arm may damage the recorder.
CAUTION: Do not use sharp or pointed objects to depress the chart buttons. This may cause permanent damage to the recorder.
Power Supply
- The recorder normally uses AC power when the system is operating. If AC power fails, the LED indicator on the recorder flashes to alert you to a power failure. The recorder continues sensing cabinet temperature and the chart continues turning for approximately 24 hours with back-up power provided by the nine-volt battery.
- The LED indicator glows continuously when main power is functioning and the battery is charged.
- When the battery is low, the LED flashes to indicate that the battery needs to be changed.
Calibration and Adjustments
- This recorder has been accurately calibrated at the factory and retains calibration even during power interruptions. If required, however, adjustments can be made as follows:
- Run the unit continuously at the control setpoint temperature. Continue steady operation for at least two hours to provide adequate time for recorder response.
- Measure cabinet center temperature with a calibrated temperature monitor.
- Compare the recorder temperature to the solution temperature. If necessary, adjust the recorder by pressing the
left and right chart buttons (#1 and #2 from Figure 12) for approximately five seconds.
Note: The stylus does not begin to move until the button is held for approximately five seconds.
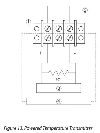
Temperature Transmitter (Optional)
Powered Temperature Transmitter
- A powered temperature transmitter is an option for this unit. This temperature transmitter allows for remote temperature monitoring of your system.
- To connect your remote temperature monitoring system to the powered temperature transmitter, refer to Figure 13 below.

| Label | Description |
| 1 | Terminal Strip |
| 2 | Rear of Unit |
| 3 | Controller and/or Indicator |
| 4 | Customer Provided System |
Note: The building management system load wiring must have a resistance less than 340 ohms.
Unpowered Temperature Transmitter
- An unpowered temperature transmitter is an option for this unit. This temperature transmitter allows for remote temperature monitoring of your system.
- To connect your remote temperature monitoring system to the unpowered temperature transmitter, refer to the diagram attached on the back of the unit.
Maintenance
- WARNING: Risk of Shock. Disconnect equipment from main power before attempting any maintenance to equipment or its controls unless stated otherwise.
Cleaning the Cabinet Interior
- To clean the cabinet interior, remove the shelves, drawers or baskets following the instructions in Section 7.3, Section 7.4 and Section 7.5. Use a solution of water and a mild detergent for cleaning. Rinse the interior storage components and wipe them dry with a soft cloth.
Cleaning the Condenser Filter
- Clean the condenser filter every three months.
- There is one condenser filter located in the back cage of the unit that can be accessed without removing the back cage or disconnecting the power.
To clean the filter, complete the following steps:
- Remove the filter by pulling upwards through the slot in the back cage.
- Shake the filter to remove loose dust.
- Rinse the filter in clean water.
- Shake the excess water from the filter and let it dry.
- Reinstall filter by pushing downwards through the slot in the back cage.
CAUTION: Risk of Abrasion. Do not pull the filter downwards from the bottom. The condenser has sharp surfaces.
Cleaning the Condenser
- Condensers should be cleaned at least every six months; more often if the laboratory area is dusty. In heavy traffic areas, condensers load with dirt more quickly. Failure to keep the condenser clean can result in equipment warm-up or erratic temperatures.
- CAUTION: Risk of Abrasion. Never clean around the condensers with your fingers. Some surfaces are sharp.
- The condenser is located in the top rear of the machine compartment. To clean the condenser, complete the following steps:
- Disconnect the power.
- Remove the filter.
- Vacuum the condenser and clean up any loose dust.
- Replace the filter.
- Reconnect power.
Automatic Defrost
- The defrosting process on all -30°C freezers initiates automatically in response to a built-in timer. The defrost interval timer adapts to user conditions and will either be approximately every 6 hours or 15 hours. During this time, there may be a slight increase in display temperature.
- If a door or port has been open for an extended duration allowing room air to flow into the freezer, frost may build up inside of the freezer and negatively affect the performance of the freezer. The unit defrost may not be able to overcome this and the unit must be manually defrosted by turning the freezer off.
Gasket Maintenance
- Periodically check the gaskets around the door for punctures or tears. Leaks are indicated by condensation or frost which forms at the point of gasket failure. Make sure that the cabinet is level (refer to Section 7.1.1 for leveling information).
- Keep the door gaskets clean and frost free by wiping gently with a soft cloth.
- To check the door seal, complete the following steps:
- Open the door.
- Insert a strip of paper (a couple of inches wide) between the door gasket and the cabinet flange and close the door.
- Slowly pull the paper strip from the outside. You should feel some resistance.
- Repeat this test at 4-inch intervals. around the door. If the door does not seal properly, replace the gasket.
Alarm Battery Maintenance
Have a certified technician replace the alarm battery every twelve months at most or when the alarm is active. The part number for a replacement battery is 322533H01.
Preparation for storage
If the unit is going to be stored in an off condition, allow the unit to warm up and dry out with the door open before moving into storage.
Troubleshooting
WARNING: Risk of Shock. Troubleshooting procedures involve working with high voltages which can cause injury or death. Troubleshooting should only be performed by trained personnel. This section is a guide for troubleshooting equipment problems.
Table 9. Troubleshooting Procedures
| Problem | Cause | Solution |
|
Unit does not operate or Power Failure Indicator is on |
Power supply | Check that the cord is securely plugged in. Plug another appliance into the outlet to see if it is live. Check that the double pole circuit breaker located next to the power inlet is in “ON” position (i.e, “I” position). Try cycling the switch to OFF position (i.e, “O” position) and then bring to ON position (“I”). Test the voltage and verify that it is correct for your unit (refer to Table 2). If the outlet is dead, check the circuit breaker or fuses. The unit should not be connected to a GFCI (Ground Fault Circuit Interrupter) protected outlet as it may be subject to nuisance tripping. |
|
Temperature fluctuates | Temperature Control |
Make sure that the control is set correctly. Refer to Section 9.3. |
| Condenser clogged | Make sure the condenser and filter are clean. Refer to Section 12.2 and Section 12.3. | |
|
Solution bottle | Make sure the solution bottles for the temperature sensors are full. The solution is a 50/50 mixture of glycerine and distilled water. | |
|
Other causes | If the temperature control is set correctly, the condenser is clean, but temperature continues to fluctuate, call an authorized service representative. | |
|
Low battery icon is lit | 12V backup battery needs to be replaced | Replace the battery. It is located on the top right hand side of the cabinet. Call an authorized service representative. |
| Problem | Cause | Solution |
|
Condensation around door frame | Incorrect Perimeter Heater Duty Cycle | Increase the Perimeter Heater Duty Cycle, Refer to Section 9.4. |
| Gaps exist in unit port holes | Ensure all port holes in the cabinet top, sides, and back are sealed properly to prevent warm airflow into the cabinet. Seal any gaps. | |
| Door seal is broken | Verify nothing is placed through the door seal such as a sensor. Check the door seal following instructions in Section 12.5. | |
| Unit is warm around door frame | Perimeter Heater is ON | This is a normal function of the unit and is a result of the perimeter heater to reduce condensation. |
|
Unit warms up | Door is open | Make sure the door is completely closed. |
| Door seal | Check the door seal, following instructions in Section 12.5. | |
| Warm product recently loaded in unit | Allow ample time to recover from loading warm product. | |
| Power supply | Check for proper voltage to the unit. If there is no voltage to the unit, call an electrician. | |
| Setpoints need to be adjusted | To adjust the setpoint, refer to Section 9.3. | |
| Extended air leak into freezer | Warm air entering the freezer from extended door openings, leaking gaskets, or unsealed port holes may create excess frost and ice buildup in the freezer that the automatic defrost may not be able to remove. This will inhibit freezer cooling. The freezer needs to be manually defrosted by turning off the unit to allow all frost and ice to melt. | |
| “E01” on display | Invalid Algorithm | Check to ensure the model type is set correctly in service mode. Refer to Section 9.4. |
| “E02” on display | Control Probe Failure | Check for loose probe connector. Replace control probe. |
| “E03” on display | Defrost Probe Failure | Check for loose probe connector. Replace defrost probe. |
| “E05” on display | Ambient Probe Failure | Check for loose probe connector. Replace ambient probe. |
| “E06” on display | Drip Pan Probe Failure | Check for loose probe connector. Replace drip pan probe. |
| “Err” on display | Upper Bottle Probe Failure | Check for loose probe connector. Replace upper bottle probe. |
| “—” on display | Lost Communication | Call customer service. |
End of Life Care
Be sure to follow local regulations when disposing of an old unit. Some suggestions are listed in the following:
- Remove items and defrost unit. Be sure to clean up any biological safety hazards.
- Remove the cabinet door to help prevent entrapment inside of a unit.
- Have a certified technician remove the refrigerant and compressor, then drain the compressor and oil from the system. Dispose of components following local regulations.
Warranty
During the first twenty four (24) months from shipment from the manufacturing facility, the manufacturer through its authorized
Dealer or service organizations, will at its option and expense repair or replace any part found to be non-conforming in material or workmanship with the exception of the compressor which is covered for an additional 5 years (60 months) from the time of the shipment from the manufacturing facility. The manufacturer reserves the right to use replacement parts, which are used or reconditioned. Replacement or repaired parts will be warranted for only the unexpired portion of the original warranty. Except as expressly stated above, the MANUFACTURER MAKES NO OTHER WARRANTY, EXPRESSED OR IMPLIED, WITH RESPECT TO THE PRODUCTS AND EXPRESSLY DISCLAIMS ANY AND ALL WARRANTIES, INCLUDING BUT NOT LIMITED TO, WARRANTIES OF DESIGN, MERCHANT ABILITY AND FITNESS FOR A PARTICULAR PURPOSE.
An authorized representative of the manufacturer must perform all warranty inspections. In the event of a defect covered by the warranty, we shall, as our sole obligation and exclusive remedy, provide free replacement parts to remedy the defective product.
The warranty provided hereunder shall be null and void and without further force or effect if there is any (i) repair made to the product by a party other than the manufacturer or its duly authorized service representative, (ii) misuse (including use inconsistent with written operating instructions for the product), mishandling, contamination, overheating, modification or alteration of the product by any customer or third party or (iii) use of replacement parts that are obtained from a party who is not an authorized dealer of products.
Heating elements, because of their susceptibility to overheating and contamination, must be returned to the factory and if, upon inspection, it is concluded that failure is due to factors other than excessive high temperature or contamination, the manufacturer will provide warranty replacement. As a condition to the return of any product, or any constituent part thereof, to the factory, it shall be
sent prepaid and a prior written authorization from the manufacturer assigning a Return Materials Number to the product or part
shall be obtained.
IN NO EVENT SHALL THE MANUFACTURER BE LIABLE TO ANY PARTY FOR ANY DIRECT, INDIRECT, SPECIAL, INCIDENTAL, OR CONSEQUENTIAL DAMAGES, OR FOR ANY DAMAGES RESULTING FROM LOSS OF USE OR PROFITS, ANTICIPATED OR OTHERWISE, ARISING OUT OF OR IN CONNECTION WITH THE SALE, USE OR PERFORMANCE OF ANY PRODUCTS, WHETHER SUCH CLAIM IS BASED
ON CONTRACT, TORT (INCLUDING NEGLIGENCE), ANY THEORY OF STRICT LIABILITY OR REGULATORY ACTION.
- (This page was intentionally left blank)
- Distributed by:
- Cardinal Health
- Waukegan, IL 60085 USA
- 2021-03
- cardinalhealth.com
- © 2021 Cardinal Health. All Rights Reserved. CARDINAL HEALTH and the Cardinal Health LOGO are trademarks of Cardinal Health and may be registered in the US and/or in other countries.
- 328021H01(E) Rev. F






CAUTION: Ensure the slide is level. If the slide is not seated in a level orientation, the drawers/baskets will not function as intended. This could cause injury or product damage.






















