
65/900 Smart LED Security Floodlight and Camera
Instruction Manual
SMART LED SECURITY FLOODLIGHT & CAMERA
Models: 65/900, 65/901, 65/902
65/900 Smart LED Security Floodlight and Camera
INSTALLATION AND SAFETY INSTRUCTIONS
IMPORTANT: Read before installing fixture. Retain for future reference.
Thank you for choosing our Starfish Security Floodlight with Camera.
Getting started is easy.
Parts Included

Product Details

Safety Instructions
WARNING: Risk of Fire or Electric Shock.
- This fixture must be wired in accordance with the National Electrical Code and applicable local codes and ordinances. Proper grounding is required to ensure personal safety. Carefully observe grounding procedure under installation section. Make certain power is OFF before starting installation or attempting any maintenance. Risk of fire/electric shock. If not qualified, consult an electrician.
- For proper weatherproof function, all gaskets must be seated properly and all screws inserted and tightened firmly. Apply weatherproof silicone sealant around the edge of the Back Box and/or Junction Box. This is especially important with an uneven wall surface. Silicone all plugs and unused conduit entries.
- Be sure fixture temperature is cool enough to touch. Do not clean or maintain while fixture is energized. Clean glass lens with non-abrasive glass cleaning solution. Do not open fixture to clean the LED. Do not touch the LED.
WIRING: If wiring does not include a ground wire, consult your local electrical code for approved grounding methods. For proper connection, place wire nut over wires and twist clockwise until tight.
Optimal Installation Height
The best installation height is around 2.5M or 8ft, which will optimize the motion sensor performance. 
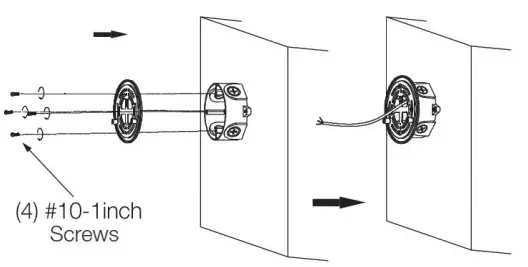
5.1 INSTALLATION: Wall Mount (Built-in Junction Box)
For installation in Wall Mount or Eaves Mount Recessed Junction Box Applications.

STEP 1: Disconnect power supply.
Remove (2) plastic plugs. Remove inserted (2) M5*12 screws, (2) M5 Flat washers and mounting plate.
STEP 2: Fix mounting plate and gasket onto recessed junction box with (4) #10-1inch screws.
STEP 3: Connect the wires with (3) P3 Wire Nuts, refer to the Wiring Diagram below.
STEP 4: Secure fixture onto mounting plate with inserted (2) M5*12 screws, (2) M5 Flat washers and plastic plugs.
STEP 5: Check fixture and connect power supply.
Wiring Diagram

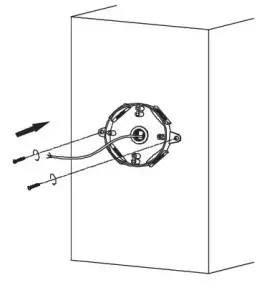
5.2 INSTALLATION: Wall Mount (External Junction Box)
STEP 1: Disconnect power supply. Remove (2) plastic plugs. Remove inserted (2) M5*12 screws, (2) M5 Flat washers and mounting plate.
STEP 2: Attach junction box on the wall (not supplied).
STEP 3: Fix mounting plate and gasket onto junction box with (4) #10-1inch Screws.
STEP 4: Connect the wires with (3) P3 Wire Nuts. Refer to the same Wiring Diagram as Wall Mount (Built-in Junction Box).

STEP 5: Secure fixture onto mounting plate with inserted (2) M5*12 screws, (2) M5 Flat washers and plastic plugs.
STEP 6: Check fixture and connect power supply.
Turn ON Power at the Breaker
After connecting power supply, the lights will turn on and your Starfish Security Floodlight Camera will make a sound to indicate that it’s in pairing mode.
TROUBLESHOOTING
- Check your power source.
- Check electrical connections.
- Check that the motion sensor is working properly.
Connection Preparation
Please install the Starfish Security Floodlight Camera in an area that has adequate Wi-Fi signal to ensure the best product performance.
NOTE: Please refer to Starfish User Guide for detailed product pairing instructions. This product requires a 2.4GHz Wi-Fi connection for proper operation.
Get the APP and Account
Download the Starfish APP and set up your account from the Apple App Store or Google Play Store. You can also scan the QR Code below. 
https://smartapp.tuya.com/satcosmart
Launch the app from your smartphone and click to register and then sign in. Follow the on-screen instructions.
If the Security Floodlight is controlled by an in-wall switch, move the switch to the ON position
NOTE: The switch must remain in the ON position to function properly.
Set Up the Camera
- Power the device on and make sure the indicator is red and flashing quickly or a prompt tone is heard.
- If the indicator is not quickly flashing red, press the reset button on the back of the camera for 5 seconds, and then release. The red LED should begin to blink.
- Follow App’s instructions to complete network pairing process, the device will connect to your Wi-Fi network successfully.
- Once the blue LED light is on, the camera is successfully paired and ready to be used.

Micro SD Card
- The camera includes a 32GB Micro SD Card that is pre-formatted.
- This camera is capable of using up to a 128GB Micro SD Card for additional storage. To ensure the Micro SD Card can record properly. We recommend a Class 10 or higher speed Micro SD Card.
- The Micro SD Card must be formatted to FAT32, if that is not the default formatting.
- Only insert or remove the SD card when power is removed from the device, or else there is a risk of file corruption.

APP Details

| Alarm | Manually Active the Floodlight Alarm |
| Full Screen | Switch Live View to Full Screen |
| History | Review all past video |
| Light | Manually Turn the Floodlights On/Off |
| Motion Notifications | Enable/Disable Motion Notifications |
| Mute | Mute/Unmute the Floodlight Microphone |
| Night Vision | Set Night Vision to Auto/On/Off |
| Notifications | Review past Motion Notifications |
| Picture in Picture | See Live View outside of APP |
| PIR Settings | Adjust PIR Sensitivity & Light On Time |
| Private Mode | Remotely Enable/Disable Camera Recording |
| Record | Record the Live View to Mobile Device |
| Resolution | Set between HD/SD |
| Screenshot | Screenshot the Live View to Mobile Device |
| Settings | Main Settings |
| Talk | Speak through the Floodlight Speaker |
| Zoom | Zoom in on the Live View |
You’re done! Congratulations, your camera is ready to use.

APPENDIX: Camera LED Guide
| NO. | LED Status | Camera Status |
| 1 | Red LED on | System starting up |
| 2 | Red LED blinks | Standby for configuration |
| 3 | Blue LED blinks | Network pairing |
| 4 | Blue LED on | Camera online |
![]()
All trademarks are used for reference purposes only.
Thanks again for choosing our Floodlight camera. Make life safe in your hands. Boost security mobility in your smartphone.
FAQ:
1. Do the floodlights turn on automatically?
– These floodlights have been designed to trigger based on motion in the designated areas, when it is dark outside.
2. Can you upgrade the SD Card to a larger size?
– Yes, this floodlight is capable of using up to a 128GB MicroSD card. We recommend at least a Class 10 MicroSD card for best performance.
3. How do you view the camera feed?
– After pairing, simply open the app and select the Floodlight that you would like to view. Make sure that the camera is within range of your Wi-Fi router for best performance.
4. When do I get alerts?
– This floodlight can provide alerts to notify you when there is motion in a designated area. You can adjust the sensitivity and motion zone to increase or decrease the number of recordings. You can also turn motion alerts on or off, or even set the time of day that they will be sent to your phone.
– For more questions, please send from the APP “Settings” – “FAQ & Feedback”
5-YEAR WARRANTY
The manufacturer warrants this lighting fixture to be free from defects in materials and workmanship for a period of (5) years from the date of original purchase by the consumer. The fixture is not warrantied for use in a commercial or retail application.
The warranty is limited to use in a residential environment. We will repair or replace (at our option) the unit in the original color and style if available, or in a similar color and style if the original item has been discontinued, without charge. Defective units must be properly packed and returned to the manufacturer with a letter of explanation and your original purchase receipt showing date of purchase.
Call 1-866-994-4148 to obtain a return authorization number and an address where to ship your defective product.
NOTE: C.O.D. shipments will NOT be accepted. The liability of the manufacturer is in any case limited to replacement of the defective light fixture product. The manufacturer will not be liable for any other loss, damage, labor costs or injury which is caused by the product. This limitation upon the liability of the manufacturer includes any loss, damage, labor costs or injury which is (1) to person or property or otherwise; (2) incidental or consequential in nature; (3) based upon theories of warranty, contract, negligence, strict liability, tort, or otherwise; or (4) directly, or indirectly related to the sale, use, or repair of the product. This warranty gives you specific rights, and you may also have other rights which vary from state to state.
© Copyright 2022 Satco Products, Inc. 11/22, v2.5

















