Yardreeze NBLMBX200RD0517 3.2-cu ft Freestanding Mini Fridge

Warning and safety instructions
- Please Read the Operating Instructions Carefully Before Using The Refrigerator.
- Please Keep Your Instructions For Reference In The Future.
- Owing To the Update Of the Product Incessantly, Product What You Buy May Be Not Completely Comported With The Instructions. However, It Does Not Convert the Performance Of the Refrigerator And Operation.
- The Instructions Provided Must Be Strictly Observed When Setting Up, Operating And Servicing The Refrigerator.
The Manufacturer Is Not Responsible For Any Accidents Or Damage Caused By Disregard Of The Following Rules:
WARNING AND SAFETY PRECAUTIONS:
- Using the power supply of the refrigerator must agree with the indicated power supply in the nameplate. Otherwise, it will damage the refrigerator, for the damage and breakdown; the manufacturer does not undertake charge-free maintenance in despite of the protected time.
- Installation and connection of the refrigerator must be carried out exactly according to the instructions provided by the manual. Connection parts must be in accordance with the specifications stated on the identification plaque. If the supply cord is damaged, it must be replaced by the manufacturer or its service agent or a similarity qualified person in order to avoid a hazard.
- Do not damage the refrigerator circuit.
- Electrical safety is only guaranteed when the refrigerator is connected to a properly wired, earthed electricity supply.
- In order to ensure the operation normally of the refrigerator, by the long-distance moving, it must wait for 1/2-1 hour or so, then turn on it.
- After electricity failure, wait for more than 5 minutes before you turn on your refrigerator again, or the compressor may be damaged.
- Do not place or use anything flammable, such as gas containers, petrol, banana oil or other such substance near the refrigerator due to fire risk. High-proof alcohol must be stored in tightly sealed bottles or other containers and should always be placed in an upright position. Never store explosive substances in the refrigerator.
- Do not store full, sealed, glass bottles in the freezer, as they will burst upon freezing.
- Do not locate the refrigerator in a damp or wet environment. Or in a position where it is likely to get splashed. Such an environment would weaken the electrical insulation or expose live wires while live wires are dangerous and may cause an electric shock or fire.
- Children should not be left unsupervised with the refrigerator.
- The refrigerator must be disconnected from the electricity in case of breakdown or when cleaning and repairing.
- To remove the plug from the socket, grasp the plug firmly and pull it out. Do not pull at the cable. Do not connect the machine to electrical outlets while your hands are wet or damp.
- Do not step on or lean against the cooler or freezer door, or the base cover of the refrigerator.
- To prevent frostbite, do not touch with bare skin or eat anything that has been directly removed form the freezer.
- If a gas leak is discovered in the same room as the refrigerator, turn off the gas supply. Do not open the refrigerator door and do not remove the plug from the main electricity supply. A small spark resulting from such actions could cause a gas explosion. Open all of the doors and windows in the room to disperse the gas.
REGULATIONS:
This refrigerator is solely for the purpose of refrigerator, freezing and storing food and for making ice and must not be used for any other purpose.
Subtraction diagram

Notice: The inside accessory is different for each model refrigerator.
Using of freezer chamber and cold-storing chamber
FREEZER CHAMBER: A chamber for freezing food or storing refrigerator food and making a small quantity of ice.
NOTICE:
- When buying ready-frozen food, the following precautions should be observed:
- Check that the packaging is in tact.
- Make sure that the products have not exceeded their expiry date.
- Check that the thermometer of the freezer where the food is being bought is indicating a temperature at or below -18 C.
- Once bought frozen foods should be exposed to as little heat as possible and should be placed in the home freezer as quickly as possible.
- Before hot food or hot beverage put into the chamber, it must be cooled according to indoor temperature.
- Before freezing pack the food in tightly sealed containers or bags so that it does not lose its taste, color or nutritional value and so that it does not dry out.
- The following are suitable packing materials: polyethylene bags, aluminum foil and freezing-proof container. All of these materials are available at department stores or stores that specialize in this line of business.
- The following are unsuitable packing materials: wrapping paper, vellum paper, cellophane, rubbish bags and used shopping bags.
- If possible, eliminate the air from the packing container.
- Before placing wrapped food in the freezer mark the date that the food is being placed in the freezer and also mark the contents. For all types of food can be stored frozen, before it starts to deteriorate.
- When a power cut occurs, the doors of the refrigerator should be open as less as possible. Avoid putting new food into the cooler or freezer as this will cause the temperature to rise at a faster rate.
- Do not handle frozen food, nor take them directly from the freezer with wet hands, as wet hands adhere to frozen food.
ICE TRAY
Fill the ice-tray three-quarters full of water and place it in the freezer. Ice cubes can be easily removed from the ice-tray by slightly twisting it.
Notice: Use cool boiled water to make ice cubes. Don’t bend ice tray so as not to break the tray. Don’t make cubic with another container lest damage it.
COLD-STORING CHAMBER: A chamber for not freezing food and beverage The temperature of the cooler can only slow down the growth rate of bacteria to a certain degree and therefore it is only suitable for short-term storage of food. The following foods are suitable for storage in the cooler: eggs, butter, cheese, milk, bottled drinks, tinned food, glazed fruit, fresh sauce, bread, cooked food, meat, fish, fruit and vegetables, etc.
When storing food in the refrigerator, the following instructions are to be observed:
- Seal or well cover food before placing it in the refrigerator. This will prevent it from drying out and will keep it fresh for longer time, help it retain it’s color, nutrition and flavors. Sealing or well covering all of the food in the refrigerator will prevent cross tasting and being air-dried.
- Wash and dry vegetables and fruit, etc. before storage.
- Allow food to cool before placing it in the refrigerator.
- The top of cooler has lowest temperature and it is the area where food is cooled down most fast.
- Fruit and vegetables should be placed in the vegetable basket.
- Keep a space between all of the foods to allow for good ventilation and an even temperature.
- Avoid butter and cooking oil contacting with the plastic parts inside the cooler and with the inner liner.
- Drinks should be tightly sealed and bottle placed upright.
- Only open the cooler door for a minimum amount of time to prevent cold air leakage.
VEGETABLE CASEMENT: The casement for reserving vegetables and fruit.
VEGETABLE CASEMENT COVER: The cover for controlling the temperature of vegetables, fruit and preventing dehydration of vegetables, fruit. The cover can also be used as a plate. BE
CARE OF BREAKING UP GLASS WHEN CLEANING.
SHELF: Tins, bottles or beers can be laid reposefully in the groove of the intelli-plate, The bottle plate can be moved smoothly on the glass plate according to your needs. If you don’t need to use it, it can be demounted.
KNOB OF TEMPERATURE REGULATOR (AS CHART):
The knob is applied to regulate the temperature of the refrigerator. The figure of knob does not mean a specific temperature number. The compressor will not operate in position “0*. The bigger figure, the lower inside temperature. In general, it is applicable that the switch is set to the middle position.
NOTICE:
- The temperature of the freezer may sometimes appear too high. This is either because a large amount of food is stored in the refrigerator or the freezer door is opened frequently. Normally it will go back to its natural status within 24 hours.
- In order to keep food fresh and to save cost, the setting of temperature in the freezer should be from -18°C to -20°C under a normal room temperature. Frequent changes should be avoided once the setting is done.
- In summer when there is a higher room temperature the damper thermostats of the cooler could be turned to position 3. In winter when there is lower than room temperature the damper thermostats of the cooler could be turned to position 1.
INNER LAMP:
- Technical data: 115V/60Hz, 10W Controlled by the door switch: When open the door, light will turn on, otherwise put down.

Defrosting
Water contained in food or getting into air inside the refrigerator by opening doors may form a layer of frost inside. It will weaken refrigeration and waste energy. When it’s thick lies between 4mm and 6mm, you should defrost in time.
FREEZER CHAMBER DEFROSTING
Defrosting in the freezer chamber is operated manually. Before defrosting, take out food or put it into the cold storing temperature temporarily, then set the knob of the temperature regulator to position “O” where the compressor will stop working and leave the open until ice and frost dissolve thoroughly, wipe off the water with a soft cloth. You may be sure to set the knob to its original position after defrosting.
WARNING:
It’s also inadvisable to scrape ice and frost with apparatus, such as sharp tool, wooden bars etc, or with mechanical devices or other manual means, such as hot water, heating container etc, other than those recommended by the manufacturer,so as not to damage the inner casing or the surface of the evaporator.
COLD-STORING CHAMBER DEFROSTING
It is automatic that the cold-storing chamber does not need the defrosting operation. Water from defrosting will be drained into a container located in the top of the compressor through drain pipes of the refrigerator back and evaporate automatically. (As chart)
NOTICE:
Be sure to keep the drain hole unblocked. If blocked, you may canal the eyelet with sharp wooden bars.
Fixing and moving
- The refrigerator should be laid at solid level place. The two fronts should be adjusted to make the refrigerator stable. The legs should be fully contacted with the ground to avoid vibration and noise.
- Do not place the refrigerator near a heat source or expose it to direct sunlight. If the refrigerator is placed near a heat source an insulation plate must be used and the following minimum distance between the refrigerator and the source of heat must be observed:
- 30cm from another electrical appliance not used for cooking
- 30cm from a stove or other cooking facility
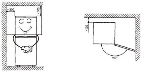
- The refrigerator should be placed in a dry and well-ventilated room. A distance of over 100mm from wall, 300mm from the top and 200mm from both sides of the refrigerator should be kept for proper air circulation. The ventilation inlet and outlet grills and other airways must never be covered. And a clear space should be left to open its doors to 160° (As chart)

- When fixing refrigerator, the foaming package should be cancelled. (Including the foaming bottom)
- When moved, the refrigerator cannot be declined to bigger than 45° or upside down. (As chart)

Cleaning and maintenance
The refrigerator should be cleaned once a month.
- Before cleaning, disconnect the refrigerator from the power supply.
- Whilst cleaning do not allow water to get into the inside light.
- Wipe the inner and outer surface of the refrigerator and its accessories with wet cloth. If they are too dirty, scrub them with neutral detergent.
- Some accessories must be cleaned, such as egg-shelf, tray, vegetable cover etc.
- Lukewarm water with a little detergent or mild disinfectant is suitable for cleaning the whole refrigerator except for the door sealing. Clean the door sealing with clean water only and then rub it dry thoroughly. (They are cleaned by directly dismounted from the door for parts of product) (As chart)

- The compressor located in refrigerator’s back should be cleaned once a year at least. Dusted off the compressor with brush. There is dust in outer surface of compressor; it will enhance volume of power consumption.
- Cleaning agents containing abrasives or acids must not be used, And the following substance does not be used either: alkaloids, soap, abrasive, hot water, brush, banana oil, petrol, high-proof alcohol etc.
Stop using
- When stop using, please switch off the refrigerator by directly disconnecting the plug from the electrical supply.
- If you have decided to cease using the refrigerator for some time. please do as follows: First switch off the refrigerator. then clean inside and leave the door open slightly to ventilate.
NOTE: Stopping use often will decrease the life of the refrigerator.
Troubleshooting
Not every problem is serious enough to warrant calling sales service staff. Before calling for help, please check if the problem can be solved with the aid of the following tips:
Unusual noises
- Check if the refrigerator is standing firmly on level ground, and if the fixtures are all secure. Also, the pipes at the lower back of the refrigerator should not be touching each other, and the compressor should not be in contact with other objects.
No cooling:
Check the power supply for power cut; burnt-out fuse; plug not fitting in the socket or wrong Voltage.
Lamp not working:
The lamp may have burnt out. If this happened replace it with a 10W/115V lamp.
Deterioration of cooling performance:
Check that the setting on the thermostat knob is not too warm, that the door is closed properly, that thick layers of ice have not built up in the freezer, that the door isn’t being opened too frequently, that too much food hasn’t been placed in the refrigerator or that food which is too warm is not being placed in the refrigerator.
Stop working:
Check if there is a power failure, the power voltage is low excessively, the power plug makes contact well and the temperature regulator points to position “O”.
Food is frozen in the cold-storing chamber:
Check if the temperature control dial may be set too big, and if the stowed food contact with the cold source of the cabinet back.
The water overflowed after defrosting:
Check that the drain hole is not blocked, and the drain pan is fixed properly.
Normal phenomena:
- Dew may appear on the exterior of the refrigerator if the external humidity is high. This can be wiped dry.
- The area where the door seal sticks to the refrigerator may be warm. This is caused by the heating device to avoid dew and frost.
- A bubbling/ rattling noise sometimes could be heard. This is due to the refrigerant flowing in the cooling pipe or because the refrigerator is in start-up or closing mode.
- The temperature of the compressor can reach 80°C.
Warranty Registration
We are glad to invite you to register the warranty information. After registration, you may kindly enjoy the exclusive service. Please contact [email protected] if you have problem with signing up.

![]()
- BANGSON INTERNATIONAL CO., LIMITED
- FLAT/RM A 12/F ZJ 300, 300 LOCKHART RD, WAN CHAL, HONG KONG
- [email protected]
- www.facebook.com/BangsonLife






















