Rebel KOM1030 Wifi Repeater Owner’s

SAFETY INSTRUCTIONS
Read this instruction manual and keep it for future reference.
- Protect this device from water, humidity and other liquids. Avoid using/storing it in extreme temperatures. Do not expose it to direct sunlight and other sources of heat.
- Keep the device out of the reach of children.
- Device for indoor use only.
- Disconnect from power outlet if the device is not going to be used for a long time.
- Do not attempt to repair this device yourself. In case of damage, contact the authorized service point for check-up or repair.
- Always disconnect the product from the power source before cleaning.
- Clean this device with a soft, slightly damp cloth.
- Do not use any chemical agents to clean this device.
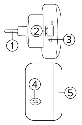
PRODUCT DESCRIPTION
1. Power plug
2. RJ45 socket
3. Reset button
4. WPS button
5. LED indicators
LEDs
| Diode | Status |
| Steady light: the device is on No light: the device is off | |
| Wi-Fi network | |
| Blinking: WPS mode enabled | |
| Steady light: device is connected to the RJ45 socket No light: RJ45 cable not connected Blinking: data transfer |
CONFIGURATION
Connecting
Wired:
- Turn off the wireless network card of the PC.
- Connect the device to the power outlet.
- Using provided Ethernet cable, connect the device to the PC.
Wireless:
- Connect to the repeaters WiFi network
Repeater mode configuration
- Open a web browser and type in the address bar: http://repeater.com or http://192.168.10.1. As Username, type “admin”, default password is “admin”. The configuration page will appear.
- Press the Repeater Wizard button. The list of available Wi-Fi networks will appear.
- Click on the selected network and input password. Input name of the device, that will appear to other devices.
- Press the Save button.
- The device will reboot. The device is ready to use as repeater. Ethernet cable can be disconnected from the PC. For proper operation of the device, plug it to the power outlet within the range of the router. To connect the external device to the repeater with cable, plug it to the RJ45 socket.
AP mode configuration.
- Repeat first step of the previous paragraph.
- Press the AP Configure button.
- Input the SSID (or leave it as default), input the password and press the Save button.
- Connect the device to the router with Ethernet cable. The device is ready to use. External devices can be connected with the Wi-Fi.
WPS button
Repeater mode configuration can be done with the WPS button. To do this:
- Connect the device to the power outlet.
- Press the WPS button on the host-router.
- Press and hold the WPS button on the device within 2 minutes from pressing the button on the router.
- If the connection is established correctly, the SSID will be set to “host_name_ext”, and the password will be the same as in the router.
Additional settings
- Password change: it is recommended to change the password to the configuration panel. To do this, press the Password settings option and input new password. Confirm with the Save button.
- Firmware upgrade: to update the devices firmware, press the Upgrade Firmware button and select the update file. Press the Upgrade button. After successful update, the device will reboot. Attention: during update do not unplug the device from the power outlet.
- Managing the Settings: press the Save/Import Settings button. To import or export the settings, press the Import or Export buttons. To restore factory settings, press the Reset Settings to Default button.
- If the device is not responding or froze, press and hold the Reset button. To press it, use small object, for example a paper clip.
SPECIFICATION
- Supports multiple user access: up to 10 users
- Chipset: MTK7628KN
- Standards: IEEE 802.11 b/g/n
- Frequency: 2,4 GHz
- Security: WEP, WPA/WPA2, WPS (64/128 bit)
- Antenna: 2x built-in
- Transmission rate: up to 300 Mb/s
- Port: RJ45
- Wireless range: up to 100 m (depending on environmental conditions)
- Power supply: 110-240 V; 50/60 Hz; 0,3 A
- Dimensions: 82 x 53 x 85 mm
- Weight: 65 g
Lechpol Electronics Sp. z o.o. Sp.k. hereby declares that KOM1030 is consistent with directive 2014/53/UE.
Full text of the EU Declaration of Conformity is available at following Internet address: www.lechpol.eu.
Correct Disposal of This Product (Waste Electrical & Electronic Equipment)
(Applicable in the European Union and other European countries with separate collection systems) This marking shown on the product or its literature, indicates that it should not be disposed with other household wastes at the end of its working life. To prevent possible harm to the environment or human health from uncontrolled waste disposal, please separate this from other types of wastes and recycle it responsibly to promote the sustainable reuse of material resources. Household users should contact either the retailer where they purchased this product, or their local government office, for details of where and how they can take this item for environmentally safe recycling. Business users should contact their supplier and check the terms and conditions of the purchase contract. This product should not be mixed with other commercial wastes for disposal.
Made in China for LECHPOL ELECTRONICS Sp. z o.o. Sp.k., ul. Garwolińska 1, 08-400 Miętne.



















