KRIPSOL San Sebastian Filter

PARTS DRAWING

- Drain plug
- Filter cover
- Filter gasket
- Distributor
- Drain pipe (aut.)
- A. Drain screen aut.)
- A. Plug
- B. O-ring
- C. Drain corps
- D. O-ring
- Filter casing
- Selector adaptors
- Ring selector O-ring
- Pressure gauge
- Selection valve
- O-ring
- Strainer
- Collector
- Emptying strainer
- Reduced taps
- Distributor arm
- Collector Arms
- Flange
- Selector peephole
- Flat peephole seal
- Nut cover
- Nut
- Flat washer
- Filter viewer ring
- Level viewer
- Drain cover gasket
- Drain plug
- Flat washer
- Nut
- Nut cover
Place the valve (10), making sure that the O-rings (8A) are correctly placed, and screw the nuts (8) manually until hermetic closing is reached. Remove lid (2) and fill the filter up to 1/3 level with water. To avoid sand entering through the diffuser (4), turn it or cover it. Now fill the filter with specified quantity of sand, and place the diffuser (4) into its initial position, uncovered. Close the filter with the lid (2), ensuring that the o-ring (3) gasket is placed on correctly. To hermetically seal the lid (2), tighten the boits with their washers evenly. Connect pipes, turn valve into BACKWASH position and start the pump for at least one minute.
CAUTION NEVER SHIFT VALVE HANDLE POSITION WHILE PUMP IS RUNNING. NEVER DISASSEMBLE VALVE WHILE FILTER IS UNDER PRESSURE.
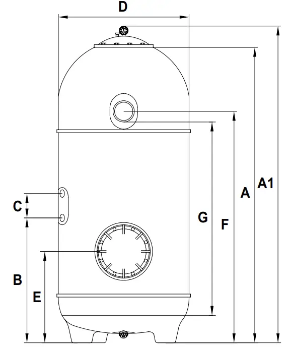
CHARACTERISTICS AND DIMENSIONS

FILTRATION BED DEPTH: 1 M.
| MODEL | AREA SURFACE FILTRATION (m²) | FLOW DEBI T V=40m³/ h | CONNECTION(Ø) | DIMENSIONS (mm) | SAND (Kg.) Sandgrading (mm) | VOLUME (m³) | |||||||||
| A | A1 | B | C | D | E | F | G | 0,4÷0,8 | 1 ÷ 2 | Total(Kg.) | |||||
| *SSB640.C | 0, 32 | 12 | 2” | 1140 | 1550 | 600 | 140 | 640 | 460 | 1130 | 1000 | 425 | 50 | 475 | 0,745 |
| *SSB760.C | 0, 45 | 18 | 2” | 1490 | 1600 | 600 | 140 | 760 | 510 | 1180 | 1000 | 600 | 50 | 650 | 1,020 |
| *SSB900.C | 0, 63 | 25 | 2” | 1510 | 1610 | 590 | 140 | 900 | 500 | 1230 | 1000 | 850 | 75 | 925 | 1,395 |
| **SSP640.C | 0, 32 | 12 | 2” | 1140 | 1550 | 600 | 140 | 640 | 460 | 1130 | 1000 | 375 | 50 | 425 | 0,745 |
| **SSP760.C | 0, 45 | 18 | 2” | 1490 | 1600 | 600 | 140 | 760 | 510 | 1180 | 1000 | 575 | 50 | 625 | 1,020 |
| **SSP900.C | 0, 63 | 25 | 2” | 1510 | 1610 | 590 | 140 | 900 | 500 | 1230 | 1000 | 800 | 75 | 875 | 1,395 |
FILTRATION BED DEPTH: 1,2 M.
| MODEL | FILTRATION AREA SURFACE(m²) | FLOW V=40m³/ h | CONNECTION(Ø) | DIMENSIONS (mm) | SAND Sandgrading (mm) | VOLUME (m³) | |||||||||
| A | A1 | B | C | D | E | F | G | 0,4÷0,8 | 1 ÷ 2 | Total(Kg.) | |||||
| *SBL640.C | 0, 32 | 12 | 2” | 1740 | 1800 | 780 | 140 | 640 | 550 | 1455 | 1200 | 525 | 50 | 575 | 0,820 |
| *SBL760.C | 0, 45 | 18 | 2” | 1740 | 1800 | 740 | 140 | 760 | 650 | 1455 | 1200 | 750 | 50 | 800 | 1,125 |
| *SBL900.C | 0, 63 | 25 | 2” | 1740 | 1800 | 740 | 140 | 900 | 650 | 1455 | 1200 | 1050 | 75 | 1125 | 1,620 |
| **SPL640.C | 0, 32 | 12 | 2” | 1740 | 1800 | 780 | 140 | 640 | 550 | 1455 | 1200 | 475 | 50 | 525 | 0,820 |
| **SPL760.C | 0, 45 | 18 | 2” | 1740 | 1800 | 740 | 140 | 760 | 650 | 1455 | 1200 | 675 | 50 | 725 | 1,125 |
| **SPL900.C | 0, 63 | 25 | 2” | 1740 | 1800 | 740 | 140 | 900 | 650 | 1455 | 1200 | 975 | 75 | 1050 | 1,620 |
With laterals
- MAXIMUM PRESSURE: 2 Kg / cm²
- WORKING PRESSURE: 0,5 ÷ 1,6 Kg / cm²
- TESTING PRESSURE: 3 Kg / cm²
- OPERATING TEMP.: 1º C ÷ 40º C
- FILTRATION RATE: 40 m³/h.
6 WAYS BACKWASH VALVE



DETAIL DRAWING

OFICINAS Y FABRICA:
Pol. Ind. La Frontera. C/ Dos, 91; y C/ Seis, 89. 45217 UGENA (Toledo) ESPAÑA.
Telf.: 925 53 30 25*. Fax: 925 53 30 14. Phone: +34 925 53 30 25. Fax: +34 925 53 30 14.
E-mail Nacional: [email protected]
E-mail Export: [email protected]




















