haws SVS-1000 Sous-Vide Circulator Instruction Manual
SAFETY INSTRUCTIONS
Before use make sure to read all of the below instructions in order to avoid injury or damage, and to get the best results from the appliance. Make sure to keep this manual in a safe place. If you give or transfer this appliance to someone else make sure to also include this manual. In case of damage caused by user failing to follow the instructions in this manual the warranty will be void. The manufacturer/importer accepts no liability for damages caused by failure to follow the manual, a negligent use or use not in accordance with the requirements of this manual.
- This appliance can be used by persons with reduced physical, sensory or mental capabilities or lack of experience and knowledge if they have been given supervision or instruction concerning use of the appliance in a safe way and understand the hazards involved.
- Children shall not use the appliance.
- Cleaning and user maintenance shall not be made by children.
- The supply cord cannot be replaced. If the cord is damaged the appliance should be scrapped.
- Regarding the instructions for cleaning the surfaces which come in contact with food or oil, please refer to the paragraph “CLEAN AND MAINTENANCE” of the manual.
- This appliance is intended to be used in household and similar applications such as: staff kitchen areas in shops, offices and other working environments; farm houses; by clients in hotels, motels and other residential type environments; bed and breakfast type environments.
- Unplug the immersion heater before removing it from the liquid.
- After unplugging, the heating element will remain hot and should not be touched or placed on combustible surfaces.
- Do not operate the appliance if the cord has been damaged, or if the appliance malfunctions or is damaged in any way. Return appliance to the nearest authorized service facility for examination, repair or adjustment.
- Any use of accessory attachments not recommended by the manufacturer may cause hazards.
- Do not use outdoors.
- Do not let cord dangle or hang over the edge of table or counter tops, or allow it to touch hot surfaces.
- Do not place the appliance on or near gas or electric burners, on a stovetop or in an oven.
- Do not use this appliance for any other purpose but its intended use.
- The appliance is not intended to be operated by means of an external timer or a separate remote-control system.
- The appliance should not come into direct contact with food. Use approved boilable bags.
- Food products like juice, soup or milk products still need to be bagged or sealed in jars for cooking.
- Operate the appliance in water only. Keep the water level between the “MIN” and “MAX” levels indicated on the appliance. Do not use the appliance for other than intended purposes.
- Keep the appliance dry. Never operate the appliance unless the water level is between the indicated “MIN” and “MAX” levels on the appliance. Only the heater and impeller portion should be underwater. Do not immerse the cord or upper portion of the appliance into liquid. If the appliance or any of its parts become submerged, unplug it immediately.
- Unplug the appliance before moving it, cleaning and when not in use. Allow the appliance to cool before lifting or storing.
- Wait for the appliance to cool before moving. Do not touch hot surface.
- Remember circulated water can be very hot. Use a trivet to protect your countertop from any container being used with the appliance. Use tongs to reach anything inside the water bath. Extreme caution must be used when moving containers of hot water.
- Cover the water bath. Energy can be saved by covering the water bath with cling wrap when cooking. Do not cover any part of the appliance with cling wrap.
- Use this appliance only with suitable vessels:
- Capacity: approx. 10L;
- Height: over 11cm; – Can be used with water not higher than 95℃.
What does sous-vide mean?
Sous-vide (French for “Under vacuum”) is a method of cooking in which the food is first vacuum-packed in special plastic bags and then cooked at a low temperature in a water bath. The cooking temperatures remain under 95℃. The low temperatures change the products more slowly at a molecular level, making the cooking results more tender and juicy.
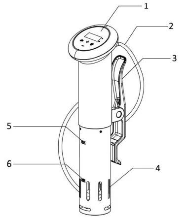
PARTS DESCRIPTION

- Control panel
- Power cord
- Fixing clamp
- Skirt (with heater and impeller inside)
- Maximum water level
- Minimum water level
Control panel

a. Digital display
b. Temperature unit icon
c. Timer icon
d. The key to set the working temperature or time
e. The key to start/stop the appliance
f. The key to increase the working temperature or time
g. The key to decrease the working temperature or time
OPERATION
Caution: During use, the part above the “MAX” line must not be immersed into the liquid.
- Firmly lock the appliance by clamping it on the side of the container. The container’s upper edge should be above the MAX line on the appliance. Place the container on a flat, dry and heat resistant surface.
- Add water to the container. The water level should be set between the “MIN” and “MAX” lines on the appliance. The water level will rise when you add food to the container, so do not fill it up too high.
- Plug the appliance into a suitable power outlet. A beep sound will be heard. All the indicators illuminate and then extinguish while the indicator of the key “
” keeps on in red. The appliance is standby. - Press the key “
”, its indicator flashes in red and the icon “℃” flashes too. Now \you can set your desired working temperature. Press the key “+” or ”-” to adjust the temperature between 30℃ to 95℃. Every press with a beep sound changes 0.1℃. Long press the key “+” or “-“, the temperature \is changed without stop until the key is released.
Press the key “
” to have the icon “ ” flashing. Now you can set your desired working time. Press the key “+” or “-“ to adjust the timer between 00:00 to 99(h):59(m). Every press with a beep sound changes 1 minute. Long press the “+” or “-“, the time is changed without stop until the key is released.- After setting is finished, press the key “
” to let the appliance start heating. The indicator of “
” will turn to continuously illuminated from flashing. - When the set temperature is reached, the appliance will send out a long beep and the time starts to count down.
- Add your food into the container and let the appliance do its work. Three beeps would be heard when the countdown is finished. The appliance will enter into standby.
- Remove the cooked food. CAUTION: The skirt part will become very hot during working or after working, please do not touch it unless it is cooled down completely.
- Unplug the appliance and clean it by following the section “cleaning and maintenance”
Note
- During use, you can press the key “
” to check the set temperature and time. You can also reset the temperature and time by pressing the key “
” (to have its indicator flashing) and then following the above operation. Press the key “
” again after reset, its indicator will turn to continuously illuminated from flashing. The appliance will work based on the reset settings. Please note the resetting shall be finished within 3 seconds, otherwise the resetting will be invalid and the appliance will still work based on the current settings. - During use, you can long press the key “
” to make the appliance stop working and enter into standby mode. - This appliance is equipped with memory function, which means the appliance will work according to the last setting temperature/time after being powered on again under standby mode. However, if the appliance is unplugged, the memory function will not be available. The appliance will display the default temperature “50.0” and timer “03:00” respectively after being turned on again.
CLEANING AND MAINTENANCE
CAUTION: The whole appliance cannot be put into the dishwasher for cleaning. Allow the appliance to cool down to room temperature and then wipe it down carefully with a damp cloth and dry before storing. If the immersed parts become greasy or need more cleaning:
- Lock the appliance onto a container and fill the container with water to the “MAX” level indicated on the appliance.
- Set the temperature to 65°C.
- Add 1/2 tablespoon non-foaming dishwashing liquid per gallon of water used.
- Allow the water to circulate for 10 minutes after 65°C is reached.
- Turn off and unplug the appliance.
- When the appliance is cooled down, rinse the bottom with cold water and dry before storing.
Descaling
With frequent use, descaling should be done every month or more often in regions with hard water. To descale:
- Lock the appliance onto a container and fill the container with water to the “MAX” level indicated on the appliance.
- Set the temperature to 80°C.
- Add 1/4 cup of citric acid powder per gallon of water used.
- Allow the water to circulate for 20 minutes after 80°C is reached.
- Turn off and unplug the appliance.
- When the appliance is cooled down, rinse the bottom with cold water and dry before storing
TIPS FOR SOUS-VIDE COOKING
You will need the following accessories (not supplied) to cook using the sous-vide method:
- Pot;
- Vacuum sealer;
- Special vacuum bag or plastic bags that are heat-resistant and do not release any plasticizers or similar material.
TROUBLESHOOTING
| Problem | Solution |
| Low water – If the water level is below the “MIN” level, a low water warning “Er1” will appear. | Add water so that it fills between the “MIN” and “MAX” as indicated before plugging in the appliance again. |
| Overheat – If the appliance gets too hot, an overheating warning “Er2” will appear. | It may be necessary to add water to the container. Wait a few minutes for the appliance to cool down before restarting. |
RECOMMENDED COOKING TEMPERATURES AND TIMES
| FOOD | THICKNESS1 | TEMPERATURE | TIME | |||
| inch | cm | ℉ | ℃ | min | max | |
| BEEF, VEAL, LAMB, GAME | ||||||
| Tender Cuts Tenderloin, Rib-eye, T-bone, Chops, Cutlets | 1 | 2.5 | 134 or higher | 56.5 or higher | 1 hr | 4 hrs |
| 2 | 5 | 134 or higher | 56.5 or higher | 3 hrs | 6 hrs | |
| Tough Cuts and Grassfed2 Bison, Game | 1 | 2.5 | 134 or higher | 56.5 or higher | 8-10 hrs | 12-24 hrs |
| Lamb Roast or Leg | 2.75 | 7 | 134 or higher | 56.5 or higher | 10 hrs | 24-48 hrs |
| Spare Ribs | 2 | 5 | 134 or higher | 56.5 or higher | 24 hrs | 48-72 hrs |
| Flank Steak, Brisket | 1 | 2.5 | 134 or higher | 56.5 or higher | 8 hrs | 24 hrs |
| 2 | 5 | 134 or higher | 56.5 or higher | 12 hrs | 30 hrs | |
| PORK | ||||||
| Tenderloin | 1.5 | 4 | 134 or higher | 56.5 or higher | 90 min | 6-8 hrs |
| Baby Back Ribs | 165 | 74 | 4-8 hrs | 24 hrs | ||
| Chops, Cutlets | 1 | 2.5 | 134 or higher | 56.5 or higher | 2-4 hrs | 6-8 hrs |
| 2 | 5 | 134 or higher | 56.5 or higher | 4-6 hrs | 8-10 hrs | |
| Roast | 2.75 | 7 | 160-176 | 71-80 | 12 hrs | 30 hrs |
| Spare Ribs | 2.75 | 7 | 160-176 | 71-80 | 12 hrs | 30 hrs |
| Belly (quick) | 2 | 5 | 185 | 85 | 5 hrs | 8 hrs |
| Belly (slow) | 2 | 5 | 167 | 75 | 24 hrs | 48-72 hrs |
| POULTRY | ||||||
| White Meat Chicken Breast, bone in | 2 | 5 | 146 or higher | 63.5 or higher | 2.5 hrs | 4-6 hrs |
| Chicken Breast, boneless | 1 | 2.5 | 146 or higher | 63.5 or higher | 1 hr | 2-4 hrs |
| Turkey Breast, bone in | 2.75 | 7 | 146 or higher | 63.5 or higher | 4 hrs | 6-8 hrs |
| Turkey Breast, boneless | 2 | 5 | 146 or higher | 63.5 or higher | 2.5 hrs | 4-6 hrs |
| Duck Breast | 1 | 2.5 | 146 or higher | 63.5 or higher | 90 min | 4-6 hrs |
| Dark Meat Chicken Leg or Thigh, bone in | 165-176 | 74-80 | 4 hrs | 6-8 hrs | ||
| Chicken Thigh, boneless | 1 | 2.5 | 165-176 | 74-80 | 2 hrs | 4-6 hrs |
| Turkey Leg or Thigh | 165-176 | 74-80 | 8 hrs | 10 hrs | ||
| Duck Leg | 165-176 | 74-80 | 8 hrs | 18 hrs | ||
| Split Game Hen | 2.75 | 7 | 150 or higher | 65.5 or higher | 6 hrs | 8 hrs |
| SEAFOOD | ||||||
| Fish Tuna, Halibut, Snapper, Sole, Salmon, Trout, Mackerel | 0.5-1 | 1.25-2.5 | 126 or higher | 52 or higher | 20 min | 30 min |
| 1-2 | 2.5-5 | 126 or higher | 52 or higher | 30 min | 40 min | |
| Crustaceans, Mollusks Lobster | 1 | 2.5 | 140 | 60 | 45 min | 60 min |
| Scallops | 1 | 2.5 | 140 | 60 | 40 min | 60 min |
| Shrimp | jumbo | jumbo | 140 | 60 | 30 min | 40 min |
| VEGETABLES | ||||||
| Root Carrots, Parsnips, Potato, Turnips, Celery Root, Beets | up to 1 | up to 2.5 | 183 | 84 | 1-2 hrs | 4 hrs |
| 1-2 | 2.5-5 | 183 | 84 | 2.5 hrs | 4 hrs | |
| Tender Asparagus, Broccoli, Corn, Cauliflowers, Eggplant, Onions, Green Beans, Fennel, Squash, Fresh Peas | up to 1 | up to 2.5 | 183 | 84 | 30 min | 1.5 hrs |
| FRUIT | ||||||
| Firm Apple, Pear | up to 1 | up to 2.5 | 183 | 84 | 45 min | 2 hrs |
| Soft Peach, Apricot, Plum, Mango, Papaya, Nectarine, Berries | up to 1 | up to 2.5 | 183 | 84 | 30 min | 1 hr |
| EGGS3 | ||||||
| Soft-cooked in shell (quick) | large | large | 167 | 75 | 15 min | 18 min |
| Soft-cooked in shell (slow) | large | large | 146 | 63.5 | 45 min | 1.5 hrs |
| Hard-cooked in shell | large | large | 160 | 71 | 45 min | 1.5 hrs |
| Pasteurized in shell | large | large | 135 | 57 | 1.25 hrs | 2 hrs |
| Scrambled (5 eggs) | large | large | 167 | 75 | 20 min | 20 min |
*Thickness measurements are based on the thickest section of the food and measured through the vacuum-sealed pouch. Cooking times are for foods starting at refrigerator temperature. Add 15 minutes if starting from frozen.
*Tough cuts of meat will heat through to serving temperature in the same time as tender cuts. We recommend longer cooking times for lean, tough cuts to tenderize them.
*Eggs cooked in the shell should not be sealed in cooking pouches.
TECHNICAL DATA
Voltage: 220-240V ~ 50-60Hz
Power: 1300W
Protection class: IPX7
GUARANTEE AND CUSTOMER SERVICE
Before delivery our devices are subjected to rigorous quality control. If, despite all care, damage has occurred during production or transportation, please return the device to your dealer. In addition to statutory legal rights, the purchaser has an option to claim under the terms of the following guarantee: For the purchased device we provide 2 years guarantee, commencing from the day of sale. If you have a defective product, you can directly go back to the point of purchase.
Defects which arise due to improper handling of the device and malfunctions due to interventions and repairs by third parties or the fitting of non-original parts are not covered by this guarantee. Always keep your receipt, without the receipt you can’t claim any form of warranty. Damage caused by not following the instruction manual, will lead to a void of warranty, if this results in consequential damages then we will not be liable. Neither can we hold responsible for material damage or personal injury caused by improper use if the instruction manual is not properly executed. Damage to accessories does not mean free replacement of the whole appliance. In such case please contact our service department. Broken glass or breakage of plastic parts is always subject to a charge. Defects to consumables or parts subjected to wearing, as well as cleaning, maintenance or the replacement of said parts are not covered by the warranty and are to be paid.
ENVIRONMENT FRIENDLY DISPOSAL
Recycling – European Directive 2012/19/EU
This marking indicates that this product should not be disposed with other household wastes. To prevent possible harm to the environment or human health from uncontrolled waste disposal, recycle it responsibly to promote the sustainable reuse of material resources. To return your used device, please use the return and collection systems or contact the retailer where the product was purchased. They can take this product for environmental safe recycling.
FUN NORDIC ApS
Egelund 8
6200 Aabenraa
Denmark
www.funnordic.dk



















