realflame 9720NG Fire Table

CARBON MONOXIDE HAZARD
This appliance can produce carbon monoxide which has no odor. Using it in an enclosed space can kill you. Never use this appliance in an enclosed space such as a camper, tent, car or home.
DANGER
FIRE OR EXPLOSION HAZARD If you smell gas:
- Extinguish any open flame.
- If odor continues, leave the area immediately.
- After leaving the area, call your gas supplier or fire department. Failure to follow these instructions could result in fire or explosion, which could cause property damage, personal injury, or death.
WARNING:
Do not store or use gasoline or other flamm able vapors and liquids in the vicinity of this or any other appliance. An LP gas tank not connected for use shall not be stored in the vicinity of this or any other appliance.
SPECIFICATIONS
- Product Name Fire Table
- Model No. 9720NG
- Rated Heat Output 50,000 BTUs/hr
- Type of Gas Natural Gas (NG)
- Gas Supply Professionally Installed NG System.
ATTENTION
Please register your fireplace for recall notifications, proof of ownership and quality assurance at https://www.realflame.com/registration.
IMPORTANT SAFETY INFORMATION
General Warnings
- Children and adults should be alerted to the hazards of high surface temperatures and should stay away to avoid burns or clothing ignition.
- Children should be carefully supervised when in the area of the fireplace.
- Clothing or other flammable materials should not be hung from the fireplace or placed on or near the fireplace.
- Any guard or other protective device removed for servicing the fireplace must be replaced prior to operating the fireplace.
- Installation and service must be performed by a qualified service agency or gas supplier. Real Flame recommends using professionals who are certified in the U.S. by the National Fireplace Institute® (NFI) as NFI Gas Specialists.
- More frequent cleaning may be required as necessary. It is imperative that the control compartment, burners, and circulating air passageways of the appliance are kept clean.
- Do not store or use gasoline or other flammable vapors or liquids within 25 ft (7.62 m) of this fireplace or any other appliance.
- Do not store combustible materials in the fireplace enclosure.
- Be sure to protect the hose and its components from any hot surfaces. It is dangerous to allow the hose to come into contact with any hot surface.
- Use only the natural gas hose and quick connect assembly provided. The replacement NG hose and quick connect assembly shall be that specified by the manufacturer.
- Do not attempt to disconnect natural gas hose or quick connect socket from the main gas supply or any gas fitting while the outdoor fireplace is in use.
- Keep all parts of the fireplace clean including the burner and hose assembly. For more information on cleaning your fireplace please refer to the “Care and Cleaning” section of this manual.
- Do not use this fireplace if any part has been under water. Immediately call a qualified service technician to inspect the fireplace and replace any part of the system that has been under water.
- Do not use this fireplace for cooking.
- Do not pour water into the fireplace.
- Do not attempt to move or store this fireplace until all parts are cool.
- Any alteration of this fireplace that is not specifically directed in the owner’s manual will void the manufacturer’s warranty. This includes the use of unapproved filler materials.
Installation Warnings
- Minimum clearance from the fireplace to combustible materials is 60 inches (152.4 cm) from top and 48 inches (121.9 cm) on all sides. Do not place this fireplace under any overhead structure or vegetation.
- The normal inlet pressure for this fireplace is 7.0″ W.C. (1.74 kPa). Maximum inlet pressure is 10.5″ W.C. (2.61 kPa). Minimum inlet pressure is 3.5″ W.C. (0.87 kPa).
- A fireplace with a connection to a fixed piping system must conform with local codes, or in the absence of local codes with The National Fuel Gas Code, ANSI Z223.1/NFPA 54, or International Fuel Gas Code.
- Do not remove the feet from this fireplace.
- Do not place the fireplace on anything that blocks or seals the gap between the fireplace and the ground.
- Do not permanently secure the fireplace in any way or to any surfaces.
- Do not bury the hose. You must be able to visually inspect the hose for damage before each use.
- Do not coil or hide the hose under the fireplace. The hose could be damaged if it touches hot surfaces.
Set Up Warnings
- Prior to each operation, check the hose assembly for evidence of excessive abrasion, wear or damage. Use a handheld mirror, if necessary, to see the hose sections located below the unit.
- If the hose assembly is damaged, cracked, or cut, it must be replaced before using the fireplace. The hose assembly must be replaced with a hose assembly specified by Real Flame. Please contact Real Flame Customer Service at 1-800-654-1704 for assistance.
- Place the hose out of the pathways where people may trip over it. Do not place the hose in areas where it may be accidentally damaged.
- Before each use, examine the burner and its components for dirt and debris. If cleaning is required, use a pipe cleaning brush and compressed air. Also examine the area around the burner. Any dirt or foreign material, such as spider webs, nests, leaves, etc., should be removed. If it is evident that the burner is damaged, the fireplace must not be used, and the burner assembly must be replaced. Please contact Real Flame Customer Service at 1-800-654-1704 for support.
In-Use Warnings
- NEVER LEAVE this fireplace unattended when in use.
- Do not burn solid fuels, such as charcoal briquettes, lump charcoal, manufactured logs, trash, leaves paper, cardboard, any type of natural or treated wood, or any other materials in this fireplace.
- The use of alcohol, prescription or non-prescription drugs may impair your ability to safely operate this fireplace.
- Always use in accordance with all applicable local, state, and national codes. Contact your local fire department for details on outdoor burning.
- Do not use in windy conditions. High winds may cause the flame to extinguish.
- Some surfaces of this fireplace may become hot during use. Be careful and do not touch surfaces until the unit has cooled.
- Do not attempt to disconnect the gas supply from the fireplace when the unit is in use.
- Do not sit on the fireplace.
NATURAL GAS (NG) DANGERS AND WARNINGS
DANGER
This outdoor fireplace is for use with natural gas only. The conversion to or attempted use of liquid propane in this outdoor fireplace is dangerous and could result in property damage, serious injury, or death.
WARNING
Natural gas is flammable and hazardous if handled improperly. Become aware of its characteristics before using any natural gas product. Failure to understand and follow these warnings or any directions and warnings provided by your gas supplier may result in property damage, serious injury, or death.
CAUTION
During any high pressure testing of the gas supply piping system at test pressures in excess of 1/2 piping system.
Natural Gas Characteristics
- Natural gas is flammable, explosive under pressure, lighter than air, and collects in high areas. Collected gas may ignite causing a fire or explosion which could cause property damage, serious injury, or death.
- In its natural state, natural gas has no odor. For your safety, a scent has been added.
- Direct contact with natural gas can burn your skin.
- Natural gas is extremely flammable and hazardous if handled improperly.
Natural Gas Information
- This natural gas fireplace is designed to operate on natural gas only at a pressure of 7″ W.C. (1.74 kPa).
- Check with your local gas provider for local gas pressure, because in some areas natural gas pressure varies.
Natural Gas Connection
- When making a connection, sealing compound or pipe thread tape of the type resistant to the action of natural gas must be applied on 3 to 4 threads of all male pipe threads.
- Connect the end of the natural gas hose with the quick release connector to the manual shut-off Connect the end of the natural gas hose with the quick release connector to the manual shut-off
PARTS LIST
- Item Lid GLG KB/97204201 97204501 N/A 0560NG010 100310002 96200109 100060001 N/A 05603408
- Body 97204501 N/A
- NG Hose and Quick Connect Feet 0560NG010 100310002 96200109 100060001 N/A 05603408
- Protective Cover 100310002
- Hose Guide 96200109 100060001 N/A 05603408
- AA Battery 100060001 N/A 05603408
- Lava Rocks N/A 05603408

ASSEMBLY INSTRUCTIONS
- With the fire table upside down. Install the four feet (4) by screwing them into the holes located in the corners of the unit.Place the hose guide (6) over the hose and fix with the provided screws. Be careful not to damage hose while installing hose guide.

- Install the AA battery as shown in the diagram below.

- Place the filler material into the burner pan by hand. To avoid clogging the burner with dust do not dump the bag into the burner pan. Position the filler across the burner pan to a level that is 1 inch (2.54 cm) above the burner tube. Make sure you do not block the igniter housing with the filler material to ensure proper ignition and operation. If using glass filler, Real Flame suggests first placing a layer of lava rock in the burner pan to improve airflow.

- 4. Connect the fireplace to the natural gas source:recommended by the National Fuel Gas Code, and must be used for the fireplace. A professional gas technician or plumber must make sure that your gas system is capable of providing the correct amount of gas at the correct pressure for your fireplace to operate safely and correctly. The quick connect socket connection must be made outdoors. The diagram below shows the main components of a standard natural gas connection.
If the socket connection is below the fireplace, no part of the hose may contact the side panels or base panel of the burner area when the fireplace is in its normal operating position.
- Install the quick connect socket: Coat the gas supply threading with gas approved pipe compound or tape. Screw the quick connect socket included with the fireplace onto the gas supply pipe. The quick connect should not be permanently attached to the gas hose on the fireplace. The direction of the gas flow is indicated on the socket.

- Using one hand, pull back the sleeve on the quick connect socket and with the other hand, insert the unattached end of the fireplace gas hose into the socket. Release the sleeve and continue pushing the hose into the socket until the sleeve snaps into the locked position.

PRE-USE INSTRUCTIONS
WARNING
Before using this fireplace, make sure you have read, understand, and are following all information provided in this manual. Failure to follow these instructions could cause property damage, serious injury, or death.
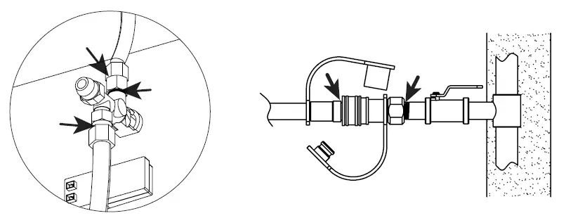
Checking for Leaks
- Make a leak check solution by mixing 1 part dishwashing soap with 3 parts water in a spray bottle.
- Make sure the control knob on the fireplace is in the “OFF” position, then connect your fireplace to the gas supply line and turn the gas on.
- Spray the leak solution on the valve connections, paying particular attention to the areas indicated by arrows in the diagrams below.
- making sure threads are clear of debris. Reconnect the hose, turn the gas supply on and Real Flame Customer Service at 1-800-654-1704 for assistance.
- If no bubbles appear after 1 minute, wipe away excess leak solution and proceed to “Lighting Instructions.”

LIGHTING INSTRUCTIONS

Using the Igniter
- Read and understand all operating instructions before lighting.
- Before beginning, make sure the control knob is in the “OFF” position.
- Connect the quick connect hose to the gas supply.
- Slowly turn the gas on.
- DO NOT lean over any part of the burner. Verify that the area around the burner is free of hazards.
- Push in and turn the control knob counterclockwise to the “LIGHT” position.
- Keep the control knob pushed in for 15-30 seconds after ignition.
WARNING: If ignition does not occur in 15 seconds, turn the control knob to the “OFF” the fireplace and wait at least 5 minutes until the gas has cleared to repeat the lighting procedure. Failure to do so could result in a large flashback of pooled gas, causing property damage, serious injury, or death. - After successfully lighting the fireplace, release the control knob and turn it to the “LOW” setting. Observe the flame and make sure that all the burner ports are lit.
- Adjust the flame to the desired height using the control knob.

Shut-Off Instructions
- Turn the control knob to the “OFF” position.
- Turn the gas supply off at the source.
CARE AND CLEANING
Inspecting Your Fireplace
WARNING
DO NOT inspect, clean, move or store your fireplace until the flames are COMPLETELY out and all parts are cool to the touch.
- Make sure all parts are securely fastened in place. If a part moves when touched, check its connection points to see if they are loose.
- Check all connections for leaks using the method described in the “Checking for Leaks” section of this manual.
- Visually check all components for any signs of damage, rust, or excessive wear.
- If damage or leaks of any kind are found. DO NOT operate the fireplace until the proper repairs have been made.
WARNING
DO NOT tamper with this fireplace. This is dangerous and will void the warranty. Repairs and modifications must be approved by Real Flame and completed by a professional gas technician. This fireplace has been tested and certified by a third party certification agency based on its specific and unique parts. Installing any other parts will void both the certification and the warranty. For approved replacement parts contact Real Flame Customer Service at 1-800-654-1704.
General Care and Cleaning
After repeated use, a slight discoloration or weathering of the fireplace finish may occur. Your fireplace should be cleaned regularly to ensure safe use and extend its life
General Cleaning
Make a cleaning solution using a mild soap mixed with water. Use a soft cloth to wipe down exterior surfaces and rinse with clean water. Never use oven cleaners or abrasive solvents as these will damage the fireplace.
Burner
The burner should be kept clean to ensure proper operation. Clogged burner ports may be cleared with a paper clip or pin. Debris in the burner tube can be cleaned using compressed air or a pipe cleaning brush.
Soot
After use it is possible for soot to develop on some surfaces. This soot deposit will usually
Storage
- Turn the gas supply off at the source. Remove the quick connect hose from the gas supply line and coil for storage under the fireplace.
- Secure all loose filler material or parts.
- Cover the fireplace when not in use and do not allow water to pool on the cover surface. Covering the fireplace will help to protect the internal components from dirt and debris and prevent the finish from fading.
- Store the fireplace in a cool, dry location away from children and pets.
SPIDER AND INSECT WARNING
Spiders or other insects may build webs or nests in your fireplace burner tube which can obstruct or block the flow of gas. Some of the gas may back up in the burner tube and cause a flashback (a fire in the burner tube or underneath the fireplace), which could result in property damage, serious injury, or death. Check and clean the burner tube periodically using a pipe cleaning brush (shown below) and compressed air available at any hardware store.
Example of a typical burner tube. Your exact burner may vary.

Example of pipe cleaning brush available at local hardware store.

TIPS AND TROUBLESHOOTING

If the Fireplace Will Not Ignite
If the igniter system is working correctly, you should hear a clicking sound while the igniter button is being pushed and you should see a spark inside the igniter housing. If you do not see the spark or hear a clicking sound, please check the following:
- Make sure the battery is not dead and that it is installed correctly, with the positive (+) side facing out.
- If you still do not hear a clicking sound or see a spark in the igniter box, look under the fireplace and make sure that the electrode wire is correctly inserted into the back of the electronic igniter box. While inspecting the electrode wire, make sure that it is not cut or broken in any place. If the wire has been damaged contact Real Flame Customer Service at 1-800-654-1704 for a replacement.
If the Fireplace Will Not Stay Lit
If the fireplace lights, but will not stay lit, or remains lit only for a brief time, please check the following
- Make sure that the igniter housing is unobstructed. Clear away any filler material or debris on the housing and make sure there is nothing between the igniter pin and the thermocouple.

- Make sure the thermocouple and igniter pin are correctly positioned

Thermocouple – The thermocouple tip should be located close to the burner, aligned with a burner nozzle so that flames contact it directly. Make sure the flames are making contact with the thermocouple tip.
Damaged Thermocouple If the igniter housing and the thermocouple tip are clear of debris and the flame is clearly contacting the tip of the thermocouple, but the fireplace will still not stay lit, the thermocouple may be damaged. Look beneath the fireplace and find the copper thermocouple wire coming out of the back of the valve. Examine the length of it for any signs of damage. Sharp bends, kinks or damage can cause the thermocouple to not function correctly. If you find damage to the thermocouple contact Real Flame Customer Service at 1-800-654-1704 for a replacement.
Igniter Pin – The igniter pin is where the spark is generated to ignite your fireplace. Make sure you can see this sparking when the igniter button is pushed. If you do not see a spark please contact Real Flame Customer Service at 1-800-654-1704.
Other Common Problems
Clogged or Obstructed Burner
It is common for bugs, especially spiders, to make webs or nests inside of burner tubes. If it seems like you are getting low or no gas flow, visually check all openings in the burner for signs of clogs. If you see anything clogging the burner try using a pipe cleaning brush and compressed air to remove the debris.
High Winds
High winds may cause the flame to blow out. Do not operate your fireplace in high wind conditions.
TECHNICAL PARTS LIST

WARRANTY
Limited Warranty
Real Flame® warrants that the following components of this Real Flame® fireplace (“the Product”) will be free from manufacturing defects in material and workmanship after correct assembly and under normal use and proper maintenance for the periods indicated below, commencing with the date of purchase of the Product:
- The body – 1 year limited warranty.
- The internal components – 1 year limited warranty.
- The burner system – 1 year limited warranty.
This non-transferable warranty extends to the original purchaser only, provided that the purchase was made through an authorized Real Flame dealer. The warranty is also subject to the following conditions and limitations: This warranty does not extend to damages caused by shipping, improper assembly, installation or storage, installation that does not comply with building codes and ordinances, installation or operation not in accordance with the included manual, abuse, lack of maintenance, hostile environments, accident, natural weather, or unworkmanlike repairs. Modification of the Product, use of fuels other than what is approved by Real Flame, or use of parts installed from other manufactures will nullify this warranty. This warranty applies to the functionality of the Product only and does not cover cosmetic issues such as scratches, dents, rust, oxidation, corrosion, areas discolored or cracked due to prolonged exposure to extreme heat, or damage caused by abrasive or chemical cleaners. However, should deterioration of parts occur to the degree of non-performance within the duration of the warranty period, Real Flame will provide a replacement part. Real Flame requires reasonable proof of your date of purchase. Therefore, you should retain your sales receipt and/or invoice. Defective parts subject to this warranty will not be replaced without proof of purchase. Real Flame must have the opportunity to verify the alleged defect. In order for any internal components to be covered under warranty, Real Flame requires the user to troubleshoot with a Real Flame Customer Service member to ensure proper operation and diagnosis of issue. In the event of covered defects in warrantied items, Real Flame will, at its sole option and discretion, replace the defective component, replace the Product or refund the purchase price. Real Flame is not responsible for the installation, labor or any other costs associated with the reinstallation. The foregoing is the exclusive remedy under the terms of this limited warranty. Real Flame will not be responsible for any incidental or consequential damages caused by defects in the Product. Some states do not allow the exclusion or limitation of incidental or consequential damages, so the above limitation or exclusion may not apply to you. This limited warranty is the sole express warranty given by Real Flame. The duration of any implied warranty arising under the laws of any state, including implied warranty of merchantability or fitness for a particular purpose or use, is limited to the duration of the warranty specified above. Some states do not allow limitations on how long an implied warranty lasts, so this limitation may not apply to you. This warranty gives you specific legal rights, and you may also have other rights which vary from State to State.
For warranty service:
- Call Real Flame Customer Service at 1-800-654-1704 for technical support and troubleshooting.
- If experiencing issues with finish, please fill out the ‘Outdoor Warranty Claim’ form at www.realflame.com.
RETURN POLICY
Return Policy
You may return your purchase within 90 days of receipt. No refunds will be issued for incomplete or unauthorized returns. All returned products must be 100% complete, adequately packaged in original packaging and in resalable condition. Products that have been assembled or modified will not be eligible for return. All items must be returned in their entirety, meaning all items included must be returned together. No returns or exchanges on discontinued items. Please begin the return process by contacting the store or company where you bought your Real Flame® item.
Replacement Parts
In the event that an item has been lost or damaged, either by the manufacturer or in shipping, you may request a replacement. Replacement parts are not available for all units and only given at Real Flame’s discretion. We will assess any damage and find a solution, which could include shipping you a replacement. No replacements are available for discontinued items or repackaged (open box) products. Please call Real Flame Customer Service at 1-800-654-1704 for replacement parts before returning the damaged item. Please have the following information (which can be found in your instruction manual) ready before you call Customer Service:
- Model number of item
- 4-8 digit part number
- Lot code number
- Shipping address
- A picture of the damaged item may be requested. Pictures should be sent to [email protected]
Incorrect Order Received
If you received something other than what you ordered, please contact Real Flame Customer Service at 1-800-654-1704 within 48 hours of receiving the item. Refer to www.realflame.com for our complete return guidelines and policies. Please register your fireplace for recall notifications, proof of ownership and quality assurance at https://www.realflame.com/registration.
Real Flame®
7800 Northwestern Ave. Racine, WI 53406 USA
[email protected]




























