arboleaf CM20C Muscle Massage Gun User Manual
IMPORTANT SAFEGUARDS
- Read all instructions.
- This device is not intended to diagnose, treat, cure or pre-vent any disease.
- Consult your physician before use if you experience any pain or have any following health conditions: (1) You are pregnant, or have diabetes, retinal problems, or neuropathy. (2) You have internal medical devices in your body. (3) You have other medical conditions or health concerns.
- This device is charged by a 5V/2A charger or some fast charging power adapter.
- Fully charge the device before its first use. Do not switch on the massage gun while it is charging!
- Do not replace the attachment head while it is running.
- Do not immerse this device in the water or other liquid.
- Do not use this device to massage your head, chest, geni-tal, or any area with wounds. Avoid massaging the surgical area during the healing process.
- Do not attempt to repair the device yourself.
CAUTION
This device has a built-in rechargeable lithium battery.
- Do not dispose of the device with other ordinary trash.
- Properly handle it by following your local recycle guidelines.
SPECIFICATIONS
Model: CM20C
Dimensions: 5.4″ x 3.6″ x 1.8″ ( 137 x 92 x 45 mm )
Net weight 16 oz ( 470 g )
Speed settings: 5
Speed: 2000 – 3200 rpm
Every working time setting: up to 10 min
Power supply: rechargeable lithium battery
Battery charging time: approx. 3 h
Battery life: 8 hours run time
Maximum voltage: 12.6 V
Maximum current: 5A
Maximum power: 60 W
Rated input: 5V-2A
Working noise: <45 dB

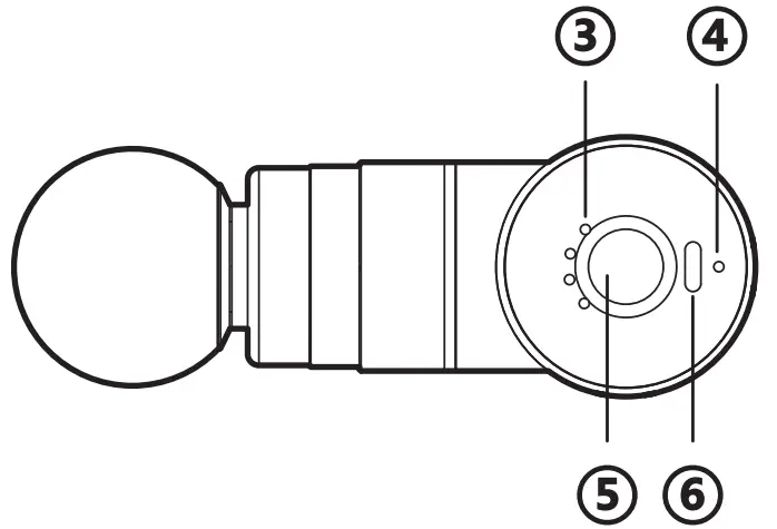
PRODUCT OVERVIEW
Device (Massager)


- Interchangeable attachment head
- Grip
- Speed setting indicator
- Battery level indicator
- Power on-off / Speed switch button
- USB-C port
Accessories
- Attachment heads
- Ball head

- Fork head

- Bullet head

- Flat head

- Ball head
- USB-C cable

QUICK START GUIDE
- Charge the device
Connect the enclosed USB-C cable with a power adapter (not included). The LED display color indicates the battery level.- The red light flashes – the battery level is low.
- The red light stays on – the battery is in charging.
- The green light stays on – the battery is fully charged.
- Select an attachment head
- Ball head: Low impact for massaging sensitive and sore areas
- Fork head: Designed for massaging the spine and neck
- Bullet head: Pinpoint massage including hands, feet and knots
- Flat head: Great for massaging large muscle groups and overall use
- Insert the selected attachment head to the device
Note: Never change an attachment head when the device is on. - Turn on the device
Press the Power on-off/Speed switch button 5 for 2 seconds to turn on the massager. Initially it will be set at Speed 1.
Note: Press the Power on-off/Speed switch button 5 for 2 seconds toggles power on and off. - Set your desired speed
After the device is on, tap the Power on-off/Speed switch button 5 , speed will be shifted up and the next speed light is on. Keep tapping the button 5 until your desired speed light is on. The speed setting is done.
Note: The higher the speed, the higher the intensity of the massage. Below is the general guideline for your reference.- Speed 1 — 2000 rpm: for warming up muscles or very sore muscles
- Speed 2 — 2500 rpm: for soothing tired muscles or sore muscles
- Speed 3 — 3000 rpm: for relaxing stiff muscles
- Speed 4 — 3200 rpm: for massaging very stiff muscles or deep tight knots
- Speed 5 —1000 – 3200 rpm: automatically adjust the speed according to the pressing force
- Massage
Apply massage head to your body’s soft tissues or the target areas of the body. - Auto power off protection
- Battery low protection. When the voltage is dropped to 7.3V, the red indicator starts to flash. The device will be shut off when the voltage below 7V.
- Maximum run-time protection. The device will automati-cally stop when it runs at the same time for 10 minutes. To re-start, press the Power on-off/Speed switch button 5 for 2 seconds to turn on the massager, and then tap the button 5 to set the next speed.
WARRANTY
Arboleaf Corporation warrants this product purchased from an authorized seller to be free from defects in workmanship and materials, under normal use and conditions, for a period of one (1) year following the date of purchase. Proof of pur-chase is required.
This warranty does not cover failures due to misuse, abuse, accidental damage or unauthorized repair. USB charging cable is excluded from the warranty.
FCC compliance statement
This device complies with Part 15 of the FCC Rules. Operation is subject to the following two conditions:
- this device may not cause harmful interference, and
- this device must accept any interference received, including interference that may cause undesired operation. changes or modifications not expressly approved by the party responsible for compliance could void the users authority to operate the equipment.
This equipment has been tested and found to comply with the limits for a Class B digital device. pursuant to Part 15 of the FCC Rules.
These limits are designed to provide reasonable protection against harmful interference in a residential installation. This equipment generates uses and can radiate radio frequency energy and, if not installed and used in accordance with the instructions. may cause harmful interference to radio communications.
However, there is no guarantee that interference will not occur in a particular installation. If this equipment does cause harmful interference to radio or television reception. which can be determined by turning the equipment off and on, the user is encouraged to try to correct the interference by one or more of the following measures:
- Reorient or relocate the receiving antenna.
- Increase the separation between the equipment and receiver.
- Connect the equipment into an outlet on a circuit different from that to which the receiver is connected.
- Consult the dealer or an experienced radio/TV technician for help.
Manufactured by Shenzhen Yolanda Technology Co., Ltd.
Address: Room 201, jinfulai building, No.49-1, Dabao Road, Dalang Area, Xinan Street, Baoan, Shenzhen, China
Prolinx Global LTD 27 Old Gloucester Street, London, WC1 N 3AX, UK
E-mail: [email protected]
DONITEK
98 Avenue de Choisy 94190 Villeneuve-Saint-Georges FRANCE
E-mail: [email protected]























