Model No. PC1035JS1
INSTRUCTION MANUAL
PC1035JS1 Motorized Inflatable Kids Water Craft
Congratulations on the purchase of your Jet Runner Inflatable by PoolCandy®. In order to get the best performance from your product, we offer the following recommendations to help increase its longevity and reduce potential damage.
PoolCandy® Inflatables are designed using heavy-duty PVC materials, allowing the product to perform best when properly inflated. A properly inflated product will expand without distorting the intended shape, and will easily float across water with the least amount of resistance.
Read and follow all safety information and instructions. Keep for future reference.
Failure to follow these warnings and instructions can result in serious injury or death to users, especially children.

Made in China · Distributed by B&D Group, LLC. Miami, FL 33186
WARNING: THIS IS NOT A LIFESAVING DEVICE. DO NOT LEAVE CHILD UNATTENDED WHILE DEVICE IS IN USE. ONLY TO BE USED IN WATER IN WHICH THE CHILD IS WITHIN ITS DEPTH AND UNDER ADULT SUPERVISION.
AGES 8-12
HOW to OPERATE YOUR JET RUNNER MOTORIZED RIDE-ON
Includes:
1 x Inflatable Ride-On
1 x Steering Unit
1 x Screwdriver (for assembly only)
1 x Propeller Assembly
1 x Repair Patch
Inflatable Size: 58 in L x 30 in W x 20 in H

HOW to INFLATE YOUR JET RUNNER MOTORIZED RIDE-ON
VIEW IS BACK OF UNIT
On the back of the unit, you will find all three valves near each other for inflation. Inflate them all in a row starting at the top.
- Inflate the main seat body
- Then inflate the inner base ring
- Lastly, inflate the outer base ring

ASSEMBLY and OPERATION of your JET RUNNER MOTORIZED RIDE-ON
Read and follow all safety information and instructions. Keep for future reference. Failure to follow these warnings and instructions can result in serious injury or death to users, especially children.

- Remove the 5 screws from the front panel of the steering unit using the included Philips-head screwdriver.

- Once the screws have been taken out, remove the front panel covering the battery holder. Remove the battery holder from the steering unit.

- Insert 8x D-cell batteries according to their polarity into the battery holder. Each side of the holder accomodates 4 D-cell batteries.
Once the batteries have been inserted, place battery holder back into the battery compartment, and close the compartment following the instructions in reverse.
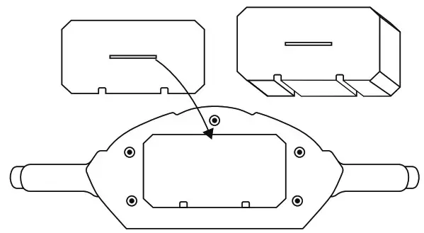
- Once the batteries have been installed, add the shaft slips to the Jet Runner unit – one through the (A) bottom and the other through the top (B).

- When the shaft slips are inside, first add the motor from the bottom and then add the steering unit from the top until they clip into each other.
To Disassemble: Locate the two blue buttons on the underside of the Steering Unit. Press both buttons at the same time to release the Steering Unit from the Propeller Assembly.

The Jet Runner Motorized Ride-on unit is very easy to operate. Just push the blue button on the right handle and the unit will accelerate forward. To turn the unit, just rotate the steering unit either to the left or right and the unit will turn in that
NOTE: To prevent overheating, the Jet Runner Motorized Ride-on may automatically shut down for cooling after long continuous play. The cooling process may take up to 1.5 hours.
SAFETY INSTRUCTIONS and CAUTIONS
SAFETY INSTRUCTIONS
- Constant, competent adult supervision of children and other young users is required at all times.
- Never use this product as a lifesaving device.
- This product is designed for only one child at a time.
- This product is designed for pool use and should not be used in large bodies of water.
- Do not jump onto or off of the product.
- Do not dive onto or off of the product.
- Never drive into or over swimmers.
- Keep hands, hair, and loose objects such as clothing away from the propellers.
- If an object becomes lodged in the propeller, make sure the batteries are removed before
- attempting to dislodge.
- Always use caution and common sense.
WARRANTY & ADDITIONAL INFORMATION
Limited 30-Day Warranty
B&D Group, LLC, warrants to the original consumer that its products are free from any electrical or mechanical defects for a period of 30 days from the date of purchase. If any such defect is discovered within the warranty period, B&D Group, LLC. will repair or replace the unit free of charge upon receipt of the unit, shipping postage prepaid and insured to the factory address received from Customer Service. The warranty covers normal consumer use and does not cover damage that occurs in shipment or failure that results from alterations, accident, misuse, abuse, neglect, wear and tear, inadequate maintenance, commercial use, or unreasonable use of the unit. Removal of any panels voids all warranties. This warranty does not cover cost of repairs made or attempted outside the factory. Any appicable implied warranties, including warranties of merchantability and fitness are hereby limited to 30 days from the date of purchase. Expressed or incidental damages resulting from a breach of any applicable express or implied warranties are hereby excluded. Some states do not allow limitations on the duration of implied warranties and do not allow exclusion of incidental or consequential damages, so the above limitations and exclusions in these instances may not apply. The only authorized service center in the United States would be communicated from Customer Service. Ship the unit carefully packed, preferably in the original carton, and send it prepaid, and adequately insured. Include a letter detailing the complaint or issue, along with your daytime telephone number, name and address inside the shipping carton. If your warranty has expired and you want an estimated fee for service, write to [email protected], specifying the model number and the problem.
PLEASE DO NOT SEND YOUR UNIT WITHOUT RECEIVING AN ESTIMATE FOR SERVICING. WE CANNOT STORE YOUR UNIT.
Care, Maintenance & Storage
- Inspect your inflatable prior to each use.
- Keep your inflatable away from sharp objects. Large cuts or snags may not be repairable and will not be covered by your warranty.
- In case of incidental damage to your inflatable, a repair kit has been included. Please follow repair instructions carefully as shown on the patch.
- To clean your inflatable, use soap and water with a wash cloth.
- To store your inflatable, make sure it is deflated and completely dry. Store your inflatable in a clean, dry place at room temperature.
- Avoid rough handling like bumping or dropping.
- Avoid extreme temperatures. For best results, use between 50° and 100°F (10° and 38° C).
BATTERY INFORMATION
- Jet Runner Motorized Ride-on Ride-on uses 8 x D-cell batteries. Batteries not included.
- Do not mix Alkaline, Standard (Carbon-Zinc), or rechargeable (Nickel-Cadmium) batteries.
- Do not mix old and new batteries.
- Remove exhausted batteries from the unit.
- Do not short circuit battery terminals.
- Do not dispose of batteries in a fire.
WARNING:
ADULT SUPERVISION REQUIRED WHILE PRODUCT IS IN USE.
WARNING:
ADULT ASSEMBLY REQUIRED.
WARNING:
THIS IS NOT A LIFESAVING DEVICE. DO NOT LEAVE CHILD UNATTENDED WHILE DEVICE IS IN USE. ONLY TO BE USED IN WATER IN WHICH THE CHILD IS WITHIN ITS DEPTH AND UNDER ADULT SUPERVISION.
POOLCANDY is a trademark of B&D GROUP. ©2022 All rights reserved. All rights reserved.
If you have any questions or would like additional information on PoolCandy products, please contact us at [email protected] or call us at telephone (305) 964.7295
www.PoolCandy.net
@PoolCandy.




To Disassemble: Locate the two blue buttons on the underside of the Steering Unit. Press both buttons at the same time to release the Steering Unit from the Propeller Assembly.


















