Installation Instructions
Models: WGA-523A3L
Technical Parameter: AC120V 60HZ
CARRO
SMART FANS | LIGHTING
CEILING FAN INSTALLATION GUIDE
Please read and follow the instructions carefully before using this product The product image shown here s indicative only.
Actual product you receive may differ.
Read and Follow These Safety Precautions
- Turn off clectricity at main switch before wiring o servicing fan in order o avoid possible electrical shock.
- All wiring must be in accordance with the National Electric Code (ANSI/NFPA70-1999) and local clectrical codes. Electrical installation should be performed by a qualified licensed electrician.
- After making the wire connections, the wires should be spread apart with the grounded conductor and the cquipment-grounding conductor on the one side of the outlet box and the ungrounded conductor on the other side of the outlet bos.
- The splices after being made should be turned upward and pushed carefully up into the outlet box.
- Conductor of a fan identificd as grounded conductor to be connected to grounded conductor of power supply, conductor of entified as ungrounded conducror to be conneeted to an ungrounded conductor of power supply, conductor of fan identificd for equipment grounding to be conneeted t0 an cquipment-grounding conductor.
- Fan should not be mounted in an area where it might get wer.
- To reduce the risk of fire, electric shock or personal injury, mount to ourlet box marked
*Acceptable for Fan Supporc” and use mounting screws provided with the outlet bos “The ourlet box and its support must be able to support the moving weight of the fan (at least 351bs). - For safecy and best operating results, we recommend that you have a qualified clectrician assemble and install your fan.
- WARNING: To reduce the risk of fire or electric shock, do not use this fan with any solid state speed control device.
- To reduce the risk of personal injury; do not bend the blade brackets when installing the brackes, balancing the blades or cleaning the fan. Do not insert forcign objects in between rotating fan blades.
- Check downrod length to ensure blades are at least 7 feet (2.1m) above the floor.
Troubleshooting Steps
Problem A: Fan Will not Start
- Check fuse or circuit breaker and replace itif necessary
- Turn off electrical power and check all wire connectors.
- See operation instructions.
Problem B: Fan is Excessively Noisy
- Check if all screws in fan assembly are tight and properly seated.
- Check and make sure mounting bracket is installed properly.
- Check and make sure light kit and glass are installed properly and right.
Problem C: Fan Wobbles
- Check and make sure all blades are screwed firmly into blade holders.
- Check and make sure all blade holders are screwed firml
- Check the weight of blades. All our blades are weighed on clectronic scales. The weight is marked on the reverse side of the fan blade near the motor end. All of the blades should be the same weight to prevent fan from wobbling,
- Use the enclosed balancing kit if necded
Before Assembly
- Make sure that the fan voltage (120) is compatible with your own electrical system.
- Check to make sure that your carton contains all the parts mentioned in the parts list.
NOTE: The box can be used as a work space to prevent any damage on the ornamental surface.
CAUTION: Before installing, choose a location for mounting the fan where the blades have at least 7 feet of clearance from all objects and floor. Mount an outlet box to the ceiling or use an existing box
CAUTION: Do not mount fan to sheetrock or drywall type materials. To ensure proper support, use the two #1 wood screws to secure mounting bracket to joist or beam. If the location you choose does not have a suitable support beam, install a 2x 4” brace between ceiling joists for a proper support.
| Screw Package | Quantity |
| S1. Blade Screws | 10 |
| 52. Decorative Nuts | 10 |
| S3. Wire Nuts | 3 |
| S4. Dual mounting Screws | 1 |
| S5. Pull chain and fobs | 2 |
| S6. #3Screws & Lock Washers | 2 |
| 7. Wood Serews & Flat Washers | 2 |
| S8. Balance Piece & Tape | 3 |
| S9. Balance Clip | 1 |
| S10. Instruction Sheet | 1 |

Tools you Need
What You Have
Turn off circuit breakers and wall switch to the fan supply line leads.
Preparation & Caution Important: When using an existing outlet box, be sure the box is securely attached to the building structure and can support the full weight of the fan. Failure to do so can result in serious injury or death.
a) Downrod Mount (Flat Ceiling)
b.) Angle Mount (Vaulted Ceiling)
IMPORTANT: If using the angle mount method, check to make sure the ceiling angle is not steeper than18°. Angles greater than18° will require a 35° angle adapter.
- Check to make sure blades are at least 30″ from any obstruction.
- Check downrod length to make sure blades are at least 7.1” above the floor.
Installing Mounting Bracket

Secure the mounting bracket to outlet box marked “ACCEPTABLE FOR FAN SUPPORT” and use outlet box screws provided with outlet box.
Mounting options
Drop-mount (for flat ceilings)
- This method is preferred if the ceiling is sloped or vaulted, or if ceiling is extra high, requiring the need of a downrod.

Installing Drop-mount

- Loose the two downrod set screws and remaove the clip and connection pin from the downrod coupling, Insert the downrod through canopy and cover, pull lead wires through downrod.
- Insert downrod into downrod coupling. Make sure to align holes in downrod with the holes in the coupling. Insert the clip into the connection pin until it snaps into place. Tighten the screws in the downrod coupling.

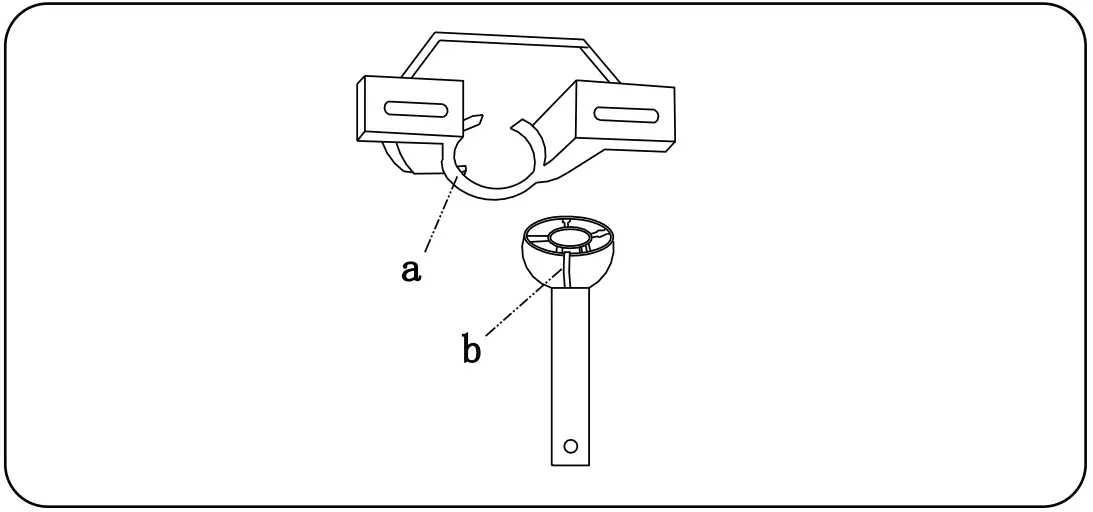
- Careflly lift the fan assembly onto the mounting bracket.
- Rotate the fan until the notch(b) on the Nylon Ball fits against the ridge(a) on the mounting bracker.
- With the mounting bracket holding the fan assembly, follow wiring instructions.
WARNING: Failure to holding the fan assembly may result in serious injury or death.
WARNING:Failure to holding the fan assembly may result in serious injury or death.
Wiring Instructions
IMPORTANT: Ifyou are not sure if the electrical outlet box and fan are grounded, contact a licensed electrician for advice. They must be grounded for safe operation.
WARNING: To avoid possible electrical shock, be sure electricity is turned off at the main fuse box before wiring.
Your outlet box should have 3 wires. If they are not there, contact a certified electrician to help set this part up.Match up and connect wires from the ceiling.
fan to the wires from your outlet box according to the chart below:
| Connect with wire connector | on fan | In outlet box |
| Ground & ground | 2 ground wires (green) | Ground wire (typically copper or green) |
| Motor, light & live | Motor wire (black) Light wire (blue) | Live wire, (iypically black) |
| Neutral & neutral | Neutral wire (white) | Neutral wire (white) |
- When wires are matched up, connect them by twisting frayed ends together;
- Screw wire connectors(3 are provided) onto the tops of the twisted wires;
- Tighten them with electrical tape.
WARNING: Be sure no bare wire or wire strands are visible after making connection. Place green and white connections on opposite side of box from the black and blue (if applicable) connections.
Assembly
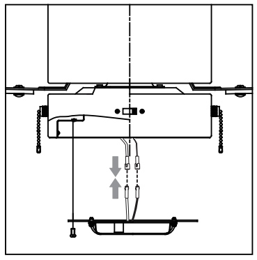
Unhook the assembly from the mounting bracket.
Hold the assembly by the canopy and raise up to align the two holes in the canopy with the holes in the mounting bracket.
Tighten the loosened screws. Now re -secure thescrews and washers which were removed.
WARNING: To reduce the risk of serious bodily injury, DO NOT use power tools to assemble the blades. If overtightened, blades may crack and break.
Tip: Break apart fiber washers from set and then place one washer on each blade screw prior to installing blades.
Locate 9 blade attachment screws and 9 decorative nuts in one of the hardware packs.
Place blade arm on TOPSIDE of blade, aligning holes in blade arm with holes in blade as shown.
[Be sure to note label on blade arm indicating THIS SIDE UP and turn blade so that label faces up]. Insert 3 decoratvie nuts from UNDERSIDE of blade (i.e., the side that will face the floor), making sure to completely insert each decorative nut so that the blade arm can be attached correctly. Insert 3 blade attachment screws from TOPSIDE of blade with fingers first and then tighten screws securely with a Phillips screwdriver. Repeat procedure for remaining blades.
Align blade holes and attach blade with blade screws and washers. Before securing screws permanently, repeat with remaining blade.Securely tighten all screws.
Remove blade arm screws and lock washers from fan motor and set aside. WARNING: Do NOT remove the 4 screws located on the outer rim of the underside of the motor housing-doing so or any attempt at doing so will void the warranty.] Align blade arm holes with motor screw holes and attach blade arm with lock washers and blade arm screws. Before securing screws permanently, repeat this procedure with remaining blade arms. Secure all screws.
IMPORTANT: Tighten blade screws twice a year. Light Kit Installation
Remove one motor plate screw from motor plate preassembled on the underside of the motor assembly and partially loosen the other two motor plate screws.
Align slotted holes in fitter plate with loosened motor plate screws , allowing male plug from motor assembly to come through hole in fitter plate
Twist fitter plate to lock. Re-insert the motor plate screw that was removed and securely tighten all three motor plate screws.
Connect male plug from motor assembly to female plug from fitter plate , matching up the colors on the plugs for correct fit. Make sure plugs connect tightly.
Remove 1 screw from motor plate on underside of motor and partially loosen the other 2 screws.
Connect blue wire from motor assembly to black wire from the LED light kit. Connect white wire from motor assembly to white wire from LED light kit. Make sure molex connections snap together completely.Re-insert screw that was previously removed and tighten all 3 screws securely.
Gently push up on glass shade and turn to the RIGHT (alockwise) until it slides completely into place.
NOTE: Pull down VERY GENTLY on glass shade to make sure it’s properly fitted.
Assemble decorative fob chains from hardware bag to fan and light kit pull chains.Insert end chain into chain coupling.Check that chains are held by lightly pulling both chains in coupling.
Operation
Turn fan on/off & select fan speed Restore power to ceiling fan and test for propeer operation.
The fan pull chain controls the fan speed settings:
1,Turn on the fan at high speed;
2,Turn on the fan at medium speed;
3,Turn on the fan at low speed;
4 Turn off the fan.
The light pull chain controls the light:
1,Turn on the light;
2,Turn off the light.
Forward and reverse direction function
This ceiling fan is equipped with a Reverse Switch for downward or upward air-flow.
NOTE: Do not use the Reverse Switch when the fan blades are in motion.
Forward and reverse direction function
This ceiling fan is equipped with reverse switch for downward or upward air-flow.
NOTE: Do not change the direction of rotation while the fan blades are in motion. To change direction, turn off the fanand wait for the blades to stop roatating before setting the switch to the desired rotation direction, either forward or reverse.
IMPORTANT: Reverse switch must be set either completely left or completely right for fan to function. If the reverse switch is set in the middle position, fan will not operate.
NOTE: Do not use the Reverse Switch when the fan blades are in motion.
Forward function
- On this setting, the fan will turn counterclockwise to create a cooling effect. Use this function during warmer weather to circulate the hot air away from your living space.
Reverse function - On this setting, the fan will turn clockwise. Use this function during cooler weather to re-circulate warm

Maintenance
Because of the fan’s constant spinning movement, some connections may become loose. Check the support connections, brackets and blade attachments twice a year.
Make sure they are secure.
There is no need to oil your fan. The motor has permanently-lubricated bearings
Care and Cleaning
Dust your fan periodically with a soft, dry cloth. Do not use harsh cleaners or materials as they may damage the unit.
To prevent bending the blades during cleaning, support the blades so that no pressure is applied to them.
Caution!
Do not allow water to come in contact with fan blades or the ceiling fan.
Doing so will create fire and/or shock hazards, damaging property.
FCC/IC Information
‘This device complies with part 15 of the FCC Rules and Industry Canada license-exempt RSS standard(s).
Operation s subject to the following two conditions:
(1) This device may not cause interference, and (2) this device must accept any interference, including interference that may cause undesired operation. Modifications not expressly approved by Carro USA Inc. could void the user’s authority to operate this equipment.
Note: This cquipment has been tested and found to comply with the limits for a Class B digital device, pursuant to part 15 of the FCC Rules. These limits are designed to provide reasonable protection against harmful interference in a residential installation.
This equipment generates, uses and can radiate radio frequency energy and, if not installed and used in accordance with the instructions, may cause harmful interference to radio communications. However, there is no guarantee that interference will not oceurin a particular installation. If this equipment does cause harmful interference to radio or television reception, which can be determined by turning the cquipment off and on, the user s encouraged to try to correct the interference by one or more of the following measures:
—Reorient or relocate the receiving antenna.
—Increase the separation between the equipment and receiver.
—Connect the equipment into an outlet on a circuit different from that to which the recciver s connected.
—Consult the dealer or an experienced radio/ TV technician for help.
Carro USA Inc.
1431 S.Baker Ave. Ontario CA 91761
Tel: 888-253-2374
www.carrohome.com
[email protected]

Reverse function













