JorVet J1448M IV Fluid and Blood Infusion Warmer
GENERAL INFORMATION
The Jorvet IV Fluid and Blood Transfusion Warmer is a dry-heat device. This unit is designed to warm IV fluids safely through the heating plate. The Warmer does not control the fluid flow rate. Fluids can be warmed to temperatures between 95°-107.6° F (35°C-42°C) at flow rates of 25ml/hr to l000ml/hr.
PRECAUTIONS
- IMPORTANT
Before using the Jorvet IV Fluid and Blood Transfusion Warmer, please read and understand this User’s Guide and the SAFETY PRECAUTIONS prior to use. If you have any questions, please contact Jorgensen Laboratories at 1.800.525.5614. - Carry out the inspections and maintenance periodically according to the manual to avoid patient or user injury.
- This operation manual is only used by professionally trained Veterinary Personnel.
WARNINGS
- This device is used for heating the infusion, and blood transfusion and can be used only by the professional trained Veterinary Personnel.
- Securely attach the warmer to an IV Stand to prevent damage to the unit by sliding down or dropping to the floor.
- The unit should only be used with the power cord that came with the unit and is not shared during the use of the warmer.
- It is not allowed to use voltage other than that specified on the product label, or it could cause damage or a fire.
- Inspect the warmer and all accessories completely before use to verify it is working in a safe manner.
- DO NOT only rely on the warmer’s alarm to notify of a problem, the warmer should be monitored throughout the infusion.
- Stop the use of the warmer during an alarm
- DO NOT connect other brand heating devices or other brand heating accessories to this warmer as it could lead to wrong heating temperature or dangerous infusion.ep the infusion line straight and unfolded to prevent a long-term occlusion and heating to fluids/blood for a long period of time.
- DO NOT use the warmer where there is strong sunlight, cold & hot, wind, or a dusty environment.
- Microwaves will influence the function of the warmer. All other devices next to the warmer must meet the EMC standard. Mobile phones, X-Ray, or MRIs will be the cause of a malfunction due to their high-frequency radiation.
- It is not allowed to dismantle or modify the warmer. Opening the shell may cause electrocution. Maintenance or upgrade to the warmer must be done by authorized staff from the manufacturer.
- Check the warmer daily and check all the functions to determine if it is in good condition or if it is not used for a long period.
- Turn off the warmer and contact Jorgensen Laboratories at 800.525.5614 when a malfunction has occurred.
INTRODUCTION
The use of room temperature (70°F/21°C) IV fluids in a patient suffering from shock, or susceptibility to hypothermia should be avoided. Ideally,
fluids should be administered as close to body temperature as possible for better therapeutic results. Blood products are refrigerated or frozen prior to administration.
APPLICATION
It is intended to provide continuous heating during the infusion and blood transfusion.
WORKING PRINCIPLE
The Jorvet IV Fluid and Blood Transfusion Warmer is an indirect heating device (dry warmer). The IV fluids are heated as the fluids pass through the channel of the warmer. The temperature can be set between 32°C ~ and 42°C (89.6°F ~ 107.6°F). The heating control board will work upon the set temperature.
COMPONENTS & FUNCTION
The Jorvet IV Fluid and Blood Transfusion Warmer is made up of the following parts:
- Main Control System
This system controls the whole unit by managing and processing the system - Heating Device
The heating device is made up of a heating sheet and heating exchanger; this allows the heat to move through the exchanger to heat the fluid - Detection Sensor
This includes a temperature detection sensor - Alarm System
The alarm includes an audio and visual alarm - Input and Display
This allows for the input of the heating parameter, temperature, alarm message, and other parameters.
SAFETY COMPLIANCE
- Protection Against
- Electric shocks include the internal power supply
- Against leakage current
- Splashing of fluid
- Working Mode
- Continuous working mode
- Input Voltage
- 100- 240V
- Power
- 85VA
PHYSICAL SPECS
- Device Dimension
- 180mm x 70mm x 35mm
- Weight
- ~ 0.2KG (without knob); 0.4KG (with knob)
- Display Type
- LED
MAIN TECHNICAL SPECS
Environment
The warmer must have a 5cm circumference around the unit to allow the warmer to have heat loss and provide air recycling. If the warmer is being moved to another location with temperature changes and has condensation do not use it until the condensation is subsided.
Environmental Conditions of Transportation and Storage
- Temperature
- – 20°C-55°C
- Relative Humidity
- 10%~93%
Do Not Store in the Following Conditions
- Direct sunlight or strong light
- Near heating installation, furnace and/or humidifier
- Chemicals, dust, humidity, water, or shaking or unflat floor
TEMPERATURE CONTROLLING
- Applicable IV Set
Exclusive IV Set or standard single PVC IV Set
(20 and 60 cl/ml, with an outer diameter of 3.4 ~ 4.5mm) - Temperature Range
95°-107.6° F (35°C-42°C) - Temperature Accuracy
±1°C or ±l.8°F - Warming-Up Time
≤ 2 minutes
Overheat Protection
48°C - Alarm
Overheat, low temperature, system error, door open and heating alarm
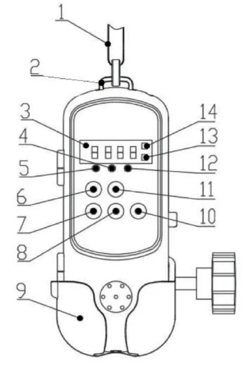
OUTER STRUCTURE
- Lanyard To hang the Jorvet IV Fluid and Blood Transfusion Warmer
- Lanyard Hole To hang the lanyard
- Display To display the temperature and the alarm message
- Running Light Keep flashing during the temperature rises and keep it on after reaching the set temperature
- Low-Temperature Alarm Light Flashes during low-temperature alarm
- Temperature Unit Convert (°C) and (°F) convert
- Mute Button Silence for 2 minutes by pressing the mute button after the alarm
- Minus Button Decrease the temperature in increments of 0.1 °C
- Knob To attach the warmer to an IV stand
- Stop/Start Button Start or stop the warmer
- Plus Button Increase the temperature in increments of 0.1 °C
- reheat Alarm Light (High-Temperature Alarm) Flashing when high-temperature alarms
- °F Temperature Select the °F temperature unit when the light is on
- °C Temperature Select the °C temperature unit when the light is on
USER’S OPERATION
Operation Steps
- Hang the warmer on the IV pole, and adjust the strap to the appropriate length.
Note: If the infusion pump is being used, the IV warmer should be placed slightly under the IV line’s exit from the infusion pump. - Use the knob to tighten the IV Stand.
- Prime the IV set line removing all air bubbles.
- Open the door of the warmer.

- Install the IV Set end from the top to down inside the heating path and select the path based on the IV set length and heating requirement.
- Long Heating Path
The heating length is approximately 52cm.
- Middle Heating Path
The heating length is approximately 31cm.
- Short Heating Path
The heating length is approximately 25cm.
- Connect the power cord to the warmer. The warmer will automatically start once the power cord is connected. Once the power cord is disconnected, the warmer will automatically turn off.
- Adjusting the Temperature In the standby mode, press + – buttons to set the temperature in increments of 0.1 °C.
- Adjusting the Temperature Unit Setting In the standby mode, press to set C or F unit. It will display once the unit is selected.
- Start the warmer after confirming the settings by pressing to start the warmer. It will start warming based on the temperature that has been set. The temperature will light up with the LED on the display.
- If the temperature needs to be readjusted, press again to the standby mode and reset the temperature.
- Stopping the Warmer Press to the standby mode and take out the IV tubing from the warmer. Disconnect the power supply.
ALARM TYPE
- Overheat Alarm
When the temperature increases 2 °C above the set temperature, the heating board will cause an alarm to sound intermittent and the overheat alarm light will keep flashing. Press stop the warmer and restart it. If this issue continues contact Jorgensen Laboratories at 800.525.5614. - Low-Temperature Alarm
When the temperature decreases to 2 °C below the set temperature, the heating board will cause an alarm to sound intermittent and the overheat alarm light will keep flashing. Press stop the warmer and restart it. If this issue continues contact Jorgensen Laboratories. - System Error Alarm
When E00l is displayed on the LED, this indicates if the warmer was operated by mistake or a fault with the unit. Restart the unit. If the alarm continues contact Jorgensen Laboratories. - Warming-Up Alarm
The running light will flash continuously as the warmer reaches the desired temperature. Once the desired temperature is reached the light will stop flashing. - Door Open Alarm
The display will show E002 on the LED if the door is open if the warmer is running. Once the door is closed the alarm will be clear and show the temperature that is set. - Alarm Level
High-level alarm includes System Error, Overheating, and Low Temperature.
Low-Level alarms are all other alarms. - Alarm System Stetting
Press the mute button to silence the alarm for 2 minutes, but it will not stop clearing the alarm. - Alarm Signal
The red flashing light is the alarm and can be seen up to 13 feet from the warmer. The audible alarm has an intensity of 45 decibels from 3 feet from the warmer. - Action for the Alarm
When the alarm sounds, do the following steps:- Check the patient
- Confirm the cause of the alarm
- Turn off the unit
- Try again
ALARMS AND ERRORS
| ALARM | POSSIBLE CAUSE | SOLUTION |
|
Displays the room temperature after switching on the warmer | Door not closed | Close the door |
| Did not press Start/Stop Button | Press Start/Stop button to start | |
| Detection sensor or heating system error | Call Support if the problem does not resolve | |
|
Overheat Alarm | Direct sunlight or infrared light leads to overheating temperature | Avoid the sunlight or infrared environment |
| Electromagnetic interference | Avoid Electromagnetic interference environment | |
| Detection sensor or heating system error | Contact Support if the problem does not resolve | |
| System Error Alarm | Hardware system error | Contact Support if the problem does not resolve |
Daily Check
Test the unit completely before the first-time use, or 6-12 months of continuous operation, or maintenance or upgrading to make sure the device is working appropriately.
Check the following:
- Environment and power standard
- AC Power cord is intact and functional
- Unit and accessory mechanically functional
- Alarms are functioning appropriately
- Accuracy with the Temperature in the standard range
Please contact Jorgensen Laboratories if any are abnormal
Clean and Sterilize
- Use a low concentrated detergent or disinfectant
- Use a soft cloth to wipe clean
- DO NOT soak the unit in fluid/water
- DO NOT pour cleaning solution onto the unit
- AVOID using an abrasive material to clean or dimethyl benzene, and acetone detergent as it will cause damage to the shell.
Prior to cleaning, please unplug the AC power from the socket. Clean the device regularly. List of optional detergent and disinfectants:
- Warm water
- Diluted soapy water
- Diluted ammonia water
- Sodium hypochlorite (clean bleaching powder)
- H2O2 (3%)
- Ethanol (70%)
- Isopropyl Alcohol (70%)
Do not Sterilize with ETO or Formaldehyde
Action for the Alarm
When the alarm sounds, do the following steps:
- Check the patient
- Confirm the cause of the alarm
- Turn off the unit
- Try again
REGULAR MAINTENANCE
| INTERVAL PERIOD | STEP |
| As per Hospital Cleaning Rules | Clean the surface completely before or after long-time storage |
| Check at least one time per year | ► Test the AC power socket and cable ► Test the temperature accuracy before use |
APPENDIX
Note
- If adding other accessories, sensors or cables can increase the electromagnetic emission and lower the anti-electromagnetic interference.
- Do not place other equipment next to the Warmer or overlap equipment with the warmer. If it is required to do so, monitor the Warmer to ensure that it is working properly.
- The Warmer must be maintained and installed in an environment that complied with the EMS Standard
- A void operating the Warmer during the operation of an MRI or similar devices will cause the unit to break down from the electromagnetic interference.
- CISPR Emission Standard equipment may also interface with the Warmer
- The Temperature will become inaccurate if the input signal range is lower than the specified lowest range.
- Interference of RF communication Equipment may interfere with the performance of the warmer.







![3m Ranger 245 Blood/fluid Warming System User Manual [model: 245] 3m Ranger 245 Blood/fluid Warming System User Manual [model: 245]](https://static-data1.manualsee.com/1/img/321/69564/2021/02/3M-Ranger-245-BloodFluid-Warming-System-User-Manual-Model-245.jpg)

















