milwaukee M12 FMT Fuel Oscillating Multi-Tool User Manual
WARNING
To reduce the risk of injury, user must read and understand operator’s manual.
GENERAL POWER TOOL SAFETY WARNINGS
WARNING Read all safety warnings, instructions, illustrations and specifications provided with this power tool. Failure to follow all instructions listed below may result in electric shock, fire and/or serious injury. Save all warnings and instructions for future reference. The term “power tool” in the warnings refers to your mains-operated (corded) power tool or battery-operated (cordless) power tool.
WORK AREA SAFETY
- Keep work area clean and well lit. Cluttered or dark areas invite accidents.
- Do not operate power tools in explosive atmo-spheres, such as in the presence of flammable liquids, gases or dust. Power tools create sparks w which may ignite the dust or fumes.
- Keep children and bystanders away while operating a power tool. Distractions can cause you to lose control.
ELECTRICAL SAFETY
- Power tool plugs must match the outlet. Never modify the plug in any way. Do not use any adapter plugs with earthed (grounded) power tools. Unmodified plugs and matching outlets will reduce risk of electric shock.
- Avoid body contact with earthed or grounded surfaces, such as pipes, radiators, ranges and refrigerators. There is an increased risk of electric shock if your body is earthed or grounded.
- Do not expose power tools to rain or wet conditions. Water entering a power tool will increase the risk of electric shock.
- Do not abuse the cord. Never use the cord for carrying, pulling or unplugging the power tool. Keep cord away from heat, oil, sharp edges or moving parts. Damaged or entangled cords increase the risk of electric shock.
- When operating a power tool outdoors, use an extension cord suitable for outdoor use. Use of a cord suitable for outdoor use reduces the risk of electric shock.
- If operating a power tool in a damp location is unavoidable, use a residual current device (RCD) protected supply. Use of a RCD reduces the risk of electric shock.
PERSONAL SAFETY
- Stay alert, watch what you are doing and use common sense when operating a power tool. Do not use a power tool while you are tired or under the influence of drugs, alcohol or medication. A moment of inattention while operating power tools may result in serious personal injury.
- Use personal protective equipment. Always wear eye protection. Protective equipment such as a dust mask, non-skid safety shoes, hard hat or hearing protection used for appropriate conditions will reduce personal injuries.
- Prevent unintentional starting. Ensure the switch is in the off-position before connecting to power source and/or battery pack, picking up or carrying the tool. Carrying power tools with your finger on the switch or energising power tools that have the switch on invites accidents.
- Remove any adjusting key or wrench before turning the power tool on. A wrench or a key left attached to a rotating part of the power tool may result in personal injury.
- Do not overreach. Keep proper footing and balance at all times. This enables better control of the power tool in unexpected situations.
- Dress properly. Do not wear loose clothing or jewellery. Keep your hair and clothing away from moving parts. Loose clothes, jewellery or long hair can be caught in moving parts.
- If devices are provided for the connection of dust extraction and collection facilities, ensure these are connected and properly used. Use of dust collection can reduce dust-related hazards.
- Do not let familiarity gained from frequent use of tools allow you to become complacent and ignore tool safety principles. A careless action can cause severe injury within a fraction of a second.
POWER TOOL USE AND CARE
- Do not force the power tool. Use the correct power tool for your application. The correct power tool will do the job better and safer at the rate for which it was designed.
- Do not use the power tool if the switch does not turn it on and off. Any power tool that cannot be controlled with the switch is dangerous and must be repaired.
- Disconnect the plug form the power source and/or remove the battery pack, if detachable, from the power tool before making any adjustments, changing accessories, or storing power tools. Such preventive safety measures reduce the risk of starting the power tool accidentally.
- Store idle power tools out of the reach of children and do not allow persons unfamiliar with the power tool or these instructions to operate the power tool. Power tools are dangerous in the hands of untrained users.
- Maintain power tools and accessories. Check for misalignment or binding of moving parts, breakage of parts and any other condition that have the power tool repaired before use. Many accidents are caused by poorly maintained power tools.
- Keep cutting tools sharp and clean. Properly maintained cutting tools with sharp cutting edges are less likely to bind and are easier to control.
- Use the power tool, accessories and tool bits etc. in accordance with these instructions, taking into account the working conditions and the work to be performed. Use of the power tool for operations different form those intended could result in a hazardous situation.
- Keep handles and grasping surfaces dry, clean and free from oil and grease.Slippery handles and grasping surfaces do not allow for safe handling and control of the tool in unexpected situations.
BATTERY TOOL USE AND CARE
- Recharge only wit the charger specified by the manufacturer. A charger that is suitable for one type of battery pack may create a risk of fire when used with another battery pack.
- Use power tools only with specifically designated battery packs. Use of any other battery packs may create a risk of injury and fire.
- When battery pack is not in use, keep it away from other metal objects, like paper clips, coins, keys, nails, screws or other small metal objects, that can make a connection from one terminal to another. Shorting the battery terminals together may cause burns or a fire.
- Under abusive conditions, liquid may be ejected from the battery; avoid contact. If contact accidentally occurs, flush with water. If liquid contacts eyes, additionally seek medical help. Liquid ejected from the battery may cause irritation or burns.
- Do not use a battery pack or tool that is dam-aged or modified. Damaged or modified batteries may exhibit unpredictable behavior resulting in fire, explosion or risk of injury.
- Do not expose a battery pack or tool to fire or excessive temperature. Exposure to fire or temperature above 130°C (265°F) may cause explosion.
- Follow all charging instructions and do not charge the battery pack or tool outside the temperature range specified in the instructions. Charging improperly or at temperatures outside the specified range may damage the battery and increase the risk of fire.
SERVICE
- lave your power tool serviced by a qualified repair person using only identical replacement parts. This will ensure that the safety of the power tool is maintained.
- Never service damaged battery packs. Service of battery packs should only be performed by the manufacturer or authorised service providers.
SPECIFIC SAFETY RULES FOR MULTI-TOOL
- Hold power tool by insulated gripping surfaces, when performing an operation where the cutting accessory may contact hidden wiring. Cutting accessory contacting a “live” wire may make exposed metal parts of the power tool “live” and could give the operator an electric shock.
- Use clamps or another practical way to secure and support the workpiece to a stable platform. Holding the work by hand or against your body leaves it unstable and may lead to loss of control.
- To reduce the risk of explosion, electric shock and property damage, always check the work area for hidden gas pipes, electrical wires or water pipes when making blind or plunge cuts.
- Keep hands away from all cutting edges and moving parts. Do not reach underneath the workpiece.
- Do not use dull or damaged blade, which can cause excessive friction, blade binding and kick-back.
- Know your workpiece. Remove nail and screw heads before scraping. Hitting hard objects with blade may cause the tool to kick back.
Warning To reduce the risk of injury, when working in dusty wear appropriate respiratory situations, protection. - Always use common sense and be cautious when using tools. It is not possible to anticipate every situation that could result in a dangerous outcome.
Do not use this tool if you do not understand these operating instructions or you feel the work is beyond your capability; contact Milwaukee Tool or a trained professional for additional information or training. - Maintain labels and nameplates. These carry important information. If unreadable or missing, contact a MILWAUKEE® service facility for a replacement.
WARNING Some dust created by power sanding, sawing, grinding, drilling, and other construction activities contains chemicals known to cause cancer, birth defects or other reproductive harm. Some examples of these chemicals are: - lead from lead-based paint
- crystalline silica from bricks and cement and other masonry products, and
- arsenic and chromium from chemically-treated lumber.
Your risk from these exposures varies, depending on how often you do this type of work. To reduce your exposure to these chemicals: work in a well ventilated area, and work with approved safety equipment, such as those dust masks that are specially designed to filter out microscopic particles.
ADDITIONAL BATTERY SAFETY RULES
WARNING: To reduce the risk of fire, personal injury , and product damage due to a short circuit, never immerse your tool, battery pack or charger in fluid or allow a fluid to flow inside them. Corrosive or conductive fluids, such as seawater , certain industrial chemicals, and bleach or bleach-containing products, etc., can cause a short circuit.
WARNING: Do not charge non-rechargeable batteries.
SYMBOLOGY
- V Volts
Direct Current- no No load Revolutions per Minute (RPM)
Read Operator’s Manual-
Do not dispose of electric tools together with household waste material. Electric tools and electronic equipment that have reached the end of their life must be collected separately and returned to an environmentally compatible recycling facility.
Regulatory Compliance Mark (RCM). This product meets applicable regulatory requirements.
SPECIFICATIONS
- Cat. No. ………………………………………….. M12 FMT
- Volts………………………………………………….. 12V DC
- Battery Type ………………………………………….M12™
- Charger Type…………………………………………M12™
- No Load OPM ………………….. 10,000 – 20,000 min-1
- Recommended Ambient
- Operating Temperature ………………. -17°C to 51°C
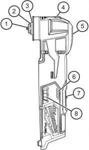
FUNCTIONAL DESCRIPTION

- Accessory bolt
- Adapter
- Inner Flange
- LED
- Quick release lever
- Fuel gauge
- On/Off switch
- Speed dial
ASSEMBLY
Warning: Recharge only with the charger specified for the battery. For specific charging instructions, read the operator’s manual supplied with your charger and battery.
Removing/Inserting the Battery
To remove the battery, push in the release buttons and pull the battery pack away from the tool.
Warning: Always remove battery pack before changing or removing accessories. To insert the battery, slide the pack into the body of the tool.
Warning: Make sure it latches securely into place. Only use accessories specifically recommended for this tool. Others may be hazardous.
Changing Accessories

- Remove the battery pack.
- Lift the quick release lever and push it firmly forward over the detent.(1)
- Turn tool over.
- Unscrew the accessory bolt.
- Remove any accessories. (2)
- Clean bolt, flange,and acces-sories of all dirt and debris.
- Place the accessory and bolt onto the tool.Hand tighten securely. NOTE: If the accessory does not fit snuggly on the flange, an adapter may be necessary.
- Press the quick release lever back into place.

Blade adapter (available as a spare part) required for these arbour types.
OPERATION
Warning: To reduce the risk wear proper eye protection marked of injury, always to comply with AS/NZS 1337.1.
To reduce the risk wear proper eye protection marked of injury, always to comply with AS/NZS 1337.1.
Fuel Gauge
To determine the amount of charge left in the battery, turn the tool ON. The Fuel Gauge will light up for 2-3 seconds. When less than 10% of charge is left, 1 light on the fuel gauge will flash 4 times.
To signal the end of charge, 1 light on the fuel gauge will flash 8 times and the tool will not run. Charge the battery pack.
If the battery becomes too hot, the fuel gauge lights will flash in an alternating pattern and the tool will not run. Allow the battery to cool down
Selecting Speed
To set the maximum speed, rotate the speed dial. Set the speed dial to “1” for the lowest speed (10,000 OPM). Set the speed dial to “12” for the highest speed (20,000 OPM).
Starting/Stopping
- To start the tool, grasp the handle and slide the switch forward to the ON (I) position.
- Allow the tool to come to full speed before beginning work.
- Control pressure and surface contact between accessory and workpiece.
- To stop the tool, slide the switch back to the OFF (0) position. Make sure the tool comes to a complete stop before laying the tool down.
APPLICATIONS
Warning: To reduce the risk of electric shock, check work area for hidden pipes and wires before drilling or driving screws.
Typical Applications
A large variety of accessories are available for applications such as sawing/cutting, scraping, and sanding.
Sawing/Cutting
Install a sawing/cutting blade at an angle easy to use. Properly clamp the workpiece. Set the speed dial to a high speed. Start the tool and allow it to reach full speed. Use moderate pressure to avoid burning or scorching the workpiece.
Scraping
Install a scraping blade at an angle easy to use. Start the tool and allow it to reach full speed. Use light pressure and a low angle to avoid gouging and damaging the workpiece.
Sanding
Install a sanding backing pad at an angle easy to backing pad. Generally, use 24 or 36 grit for heavy stock removal; 50, 60, or 80 grit for medium stock removal and 120 or 240 girth for finishing. Always begin with a coarse grit, using successively finer grits to obtin the desired finish.
Properly clamp the workpiece. Start the tool and allow it to reach full speed. Use light pressure and long, sweeping, side to side strokes, advancing forward to produce the desired finish.
MAINTENANCE
Warning: To reduce the risk of injury, always unplug the charger and remove the battery pack from the charger or tool before performing any maintenance. Never disassem- ble the tool, battery pack or charger. Contact a MILWAUKEE® service facility for ALL repairs.
Maintaining Tool
Keep your tool, battery pack and charger in good repair by adopting a regular maintenance program. Inspect your tool for issues such as undue noise, misalignment or binding of moving parts, breakage of parts, or any other condition that may affect the tool operation. Return the tool, battery pack, and charger to a MILWAUKEE® service facility for repair. After six months to one year, depending on use, return the tool, battery pack and charger to a MILWAUKEE® service facility for inspection.
If the tool does not start or operate at full power with a fully charged battery pack, clean the contacts on the battery pack. If the tool still does not work properly, return the tool, charger and battery pack, to a MILWAUKEE® service facility for repairs.
Warning: To reduce the risk of personal injury and damage, never immerse your tool, battery pack or charger in liquid or allow a liquid to flow inside them.
Cleaning
Clean dust and debris from vents. Keep handles clean, dry and free of oil or grease. Use only mild soap and a damp cloth to clean, since certain cleaning agents and solvents are harmful to plastics and other insulated parts. Some of these include gasoline, turpentine, lacquer thinner, paint thinner, chlorinated cleaning solvents, ammonia and household detergents containing ammonia. Never use flammable or combustible solvents around tools.
Repairs
For repairs, return the tool, battery pack and charger to the nearest authorised service centre.
ACCESSORIES
WARNING: Use only recommended accessories. Others may be hazardous.
For a complete listing of accessories, go online to www.milwaukeetool.com.au or www.milwaukeetool.co.nz or contact a distributor.
WARRANTY – AUSTRALIA and NEW ZEALAND
Please refer to Australian and New Zealand warranty supplied with tool. This warranty applies only to product sold in Australia and New Zealand.
SERVICE – AUSTRALIA and NEW ZEALAND
MILWAUKEE® prides itself in producing a premium quality product that is Nothing But Heavy DutyTM. Your satisfaction with our products is very important to us! If you encounter any problems with the operation of this tool, please contact your authorised MILWAUKEE® dealer.
For a list of MILWAUKEE® dealers, guarantee or service agents please contact MILWAUKEE®
Customer Service or visit our website.
(Australia Toll Free Telephone Number 1300 645 928)
(New Zealand Toll Free Telephone Number 0800 645 928)
or visit milwaukeetool.com.au/milwaukeetool.co.nz.
Milwaukee Electric Tool Corporation
13135 West Lisbon Road, Brookfield, Wisconsin U.S.A. 53005
Milwaukee Tool (Australia)
21 Kelletts Road, Rowville, VIC 3178
Melbourne, Australia
Milwaukee Tool (New Zealand)
274 Church Street, Penrose,
Auckland, 1061, New Zealand
DESIGNED BY MILWAUKEE ELECTRIC TOOL CORP.
PROFESSIONALLY MADE IN CHINA
PRINTED IN CHINA
All trade marks are owned by Techtronic Cordless GP unless otherwise stated.
© 2020 Milwaukee Electric Tool Corporation.





















