
LiGHTPRO 182W 12V IXION 9W IP44 Outdoor Garden Light User Manual

Produced by
TECHMAR B.V. | CHOPINSTRAAT 10-11 | 7557 EH HENGELO | THE NETHERLANDS
+31 (0)88 43 44 517 | [email protected] | WWW.LIGHTPRO.NL







Thank you for purchasing the Lightpro Ixion.
This document contains the necessary information for correct, efficient and safe use of the product. Consult the user manual of your transformer for more information about the installation and connection of your lighting plan or visit our website www.lightpro.nl
Read the information in this manual carefully before using the product. Keep this manual near the product for consultation in the future.
PRODUCT DESCRIPTION
The Lightpro Ixion is a LED wall lamp for outdoor use. The fixture can be fixed to the wall with the included screws. This product may only be used as outdoor lighting in combination with the Lightpro 12-volt system. Any alterations made to the product may have consequences for the safety, guarantee and correct functioning of the product and/or other parts of the system.
SPECIFICATIONS

PACKAGING CONTENT
[Figure A]
1. Fixture Ixion
2. Screws
3. Plugs
4. Lightpro connector
5. Hex key
Check if all parts are present in the packaging. For questions about parts, service, and any complaints or other remarks, you can always contact us.
E-mail: [email protected]
[Figure B]
Mount the back plate on the wall with the included screws
If necessary, drill holes in the wall and use the included plugs
[Figure C]
Place the lamp over the back plate
[Figure D]
Fasten the lamp with the included screws
[Figure E]
Determine the desired light angle by adjusting the shutters
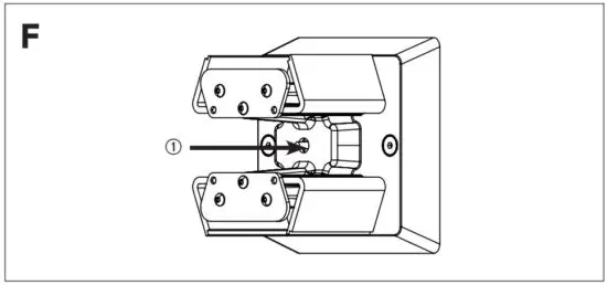
[Figure F]
Set the desired brightness using the push button
The brightness can be adjusted to 6 different levels
[Figure G]
Place the shade over the lamp
[Figure H]
Fasten the shade with the included screw
[Figure I]
Ready
NB
If desired, the cable can be fed through the wall. Drill a 10 mm hole in the desired position through the wall with a suitable drill. Feed the small plug with the cable through the drilled hole. Fit the plug to the appropriate cable with the appropriate female plug.
INSTALLATION OF THE LIGHTS
- Install the products in the desired position and lay the cables so they can be comfortably connected to the transformer or main cable.
- If products are provided with a drain hole for water, this hole must be pointing downwards.
- Use non-corrosive fixing materials (supplied as standard) if you want to bolt the products down.
- Connect the lights to the main cable by using the connector as shown in figure on page 5.
- Consult the manual of your transformer for more information.
SAFETY
- Always fit this product so that it can still be accessed for servicing or maintenance. This product must not be permanently embedded or bricked in.
- Turn off the system by pulling the plug of the transformer from the socket for maintenance.
- Regularly clean the product with a soft, clean cloth. Avoid abrasives that can damage the surface.
- Clean products with stainless steel parts with a stainless steel cleaning agent once per six months.
- Do not use a high pressure washer or aggressive chemical cleaning agents when cleaning the product. This can cause irreparable damage.
- Protection class III: this product may only be connected to safety extra-low voltage up to a maximum of 12 Volt.
- This product is suitable for outside temperatures of: -20 to 50 °C.
- Do not use this product in areas where combustible gases, fumes or liquids may be stored.



TECHMAR B.V. | CHOPINSTRAAT 10 | 7557 EH HENGELO | THE NETHERLANDS | WWW.LIGHTPRO.NL

Read More About This Manual & Download PDF:



















