GE Profile™ UltraFast Combo


Accessories Guide
& Installation Instructions
THANK YOU FOR MAKING GE PROFILE A PART OF YOUR HOME.
Whether you grew up with GE Appliances, or this is your first, we’re happy to have you in the family.
_______________________________
We take pride in the craftsmanship, innovation and design that goes into every GE Profile product, and we think you will too. Among other things, registration of your appliance ensures that we can deliver important product information and warranty details when you need them.
These parts and accessories, which are not exclusive for use with the GE Profile UltraFast Combo, can be ordered on-line through GEApplianceparts.com today, 24 hours a day or by phone at 877.959.8688 during normal business hours.
This Accessories Guide is not intended to be a replacement for the instructions that may accompany these items. Please review those instructions before proceeding with any installations.

RISER GFR0728PTDS
7″ RightHeight™ Riser / Carbon Graphite
x 22
RISER BRACKETS
Rear Front

COMBO BRACKETS
Rear Front

TOOLS YOU WILL NEED
o Safety Glasses o ¼” Socket & Nut Driver
![]()
o 9/16″ open-end wrench o Level o Gloves
![]()
1. INSTALL REAR RISER BRACKETS
- Align rear riser bracket as shown on both sides.

2. INSTALL FRONT RISER BRACKETS
- Install front brackets on both sides.

3. INSTALL COMBO BRACKETS
- Lay the Combo on its back on a protective surface. Ensure leveling legs are threaded to the minimum height.
- Install front brackets on the bottom of the Combo as shown. Use the 2 holes closest to the front and the 2 outermost holes on the bracket. The bracket should not go beyond the edge of the appliance.

- Front brackets
- Rear brackets
- Install the rear brackets on the bottom of the Combo. Use the top 2 holes on the bottom of the Combo with the tab on the bracket facing the outside.
4. JOIN REAR BRACKETS
- Lift riser and hook front brackets of the riser to front brackets of the Combo.
- Align front and rear brackets on Combo with front and rear brackets on the riser and loosely fasten the screws. Make sure the bracket from the Combo is to the INSIDE of the riser bracket and not the outside.


5. LEVEL THE COMBO
- Locate the 4 legs from the parts package and install TO MINIMUM HEIGHT.
- Stand the Combo upright.
- Securely tighten all screws in all brackets.
- Make sure the Combo is level by placing a spirit level on top. Check side to side and front to back.
- Use a 9/16″ open ended wrench to adjust the legs in and out. Tighten the lock nut against the bottom of the riser.

NOTE: To minimize vibration the locking nuts must be tight.
6. ADJUST COMBO LEGS
- Snug the feet of the Combo to the top of the riser to minimize vibration.
7. REMOVE SHIPPING BOLTS & BRACE
- Remove the 4 shipping bolts on the back side of the Combo and the top brace.
8. FINALIZE THE INSTALLATION
- Refer to the Combo installation instructions to complete the installation.
WASHER HOSES – 90° WX14X10011
6′ STAINLESS STEEL HOSES 90° ELBOWS; 2-pack

- Insert the rubber washers (if not already installed) into the ends of the hoses.
- Attach the 90 degree elbow end of each of the hoses to the faucets – one to the HOT and the other to the COLD.
- Attach the other (straight) end of the hoses to the HOT valve and the other to the COLD valve making sure that the lines are properly matched.
- Tighten, but do not overtighten, the hose fittings using a pair of pliers.
- Turn on the faucets and check for leaks.
WASHER HOSES FILTERS WH1X2267
FILTER INSERT FOR HOSES (1)
x 2
- Insert in the end of the hose that is connected directly to the faucet
- The filter screen should be inserted so that the parabolic shape is inside the hose and pointed away from the faucet.
- Use a standard hose rubber washer in the end of the hose that is connected to hot or cold valves of the Combo.
WASHER HOSES PM14X10002
4′ RUBBER WASHER HOSES (2 PACK)

- Insert the rubber washers (if not already installed) into the ends of the hoses.
- Attach one end of each of the hoses to the faucets – one to the HOT and the other to the COLD.
- Attach the other end of the hoses to the HOT valve and the other to the COLD valve making sure that the lines are properly matched.
- Tighten, but do not overtighten, the hose fittings using a pair of pliers.
- Turn on the faucets and check for leaks.
FILTER FOAM PAD WH01X35719
SPONGE PAN FOR COMBO FOAM FILTER

1. Remove the dual-stage lint filter from the Combo.
2. Open the filter frame and remove the old foam filter pad and discard.

- Lint Filter
- Foam Filter
- Tilt Open
- Locating Tabs
3. Insert the new foam pad into the filter frame, ensuring proper alignment using the locating tabs.
4. Snap the frame back into place and return the dual stage lint filter back to the Combo.
DUCT VENT CAP WX08X10070
4″ DUCT VENT CAP

- Durable bump & heat resistant PVC construction
- Used to terminate a round 4″ duct previously used by a vented dryer.
- Readily fits a 4″ duct pipe and can be fastened with a flat head screwdriver with the included hose clamp.
- Clean any debris that is in the duct line and discard the old ducting from your previous dryer, if applicable.
- Install the PVC cap onto the open duct protruding from the wall.
- Using a flathead screwdriver, tighten the hose clamp to secure it to the duct.
APPLIANCE BRUSH SET PM14X10056
FOR CLEANING INSIDE THE FILTER AREA

- Maintain efficiency with a set of brushes that make cleaning hard-to-reach areas easy
- Designed for the Combo and conventional dryer venting and more.
Watch this video to see how these brushes are used in the cleaning of the Combo filter area.
SmartHQ APP geappliances.com/connect
UNLOCK FEATURES, UPDATES & NOTIFICATIONS

![]()
Download the SmartHQ App
To get started, download the free SmartHQ™ App for your Apple or Android phone.
SmartHQ is your key to connection.
Use the app to connect, control and manage your GE Profile UltraFast Combo.
- Download the app and sign in or create a new account. (Note: When you create an account, fill in the required information and register. You’ll get an email asking you to verify your account. After verifying, sign-in to the app.)
- After signing in, you’ll go to the welcome screen. From here, select your brand of appliance, the appliance category and the type of appliance you’re connecting.
- The instructions for proceeding are different depending on the appliance you’re connecting. Follow the links below for each individual appliance you want to connect.
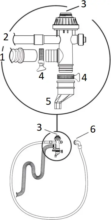
UNICOUPLER WH41X34819
UNICOUPLE WASHER HOSE ASM

TOOLS YOU WILL NEED
o Safety Glasses o Pliers o Phillips-Head Screwdriver
![]()
o Gloves o Level
![]()
The Unicoupler must be assembled before it is connected to the Combo.
NOTE: Some parts shown may come preassembled.

- Drain Hose
- Non-Removable Water hose
- Faucet Connector
- Clamp
- Funnel
- Cold Water Supply Connector
1. ASSEMBLE THE UNICOUPLER
- Loosen & insert a clamp over an end of the drain hose and press the hose with clamp onto the Unicoupler’s drain connector.
- Turn the clamp key clockwise and tighten the hose to secure it to the UniCoupler.

- Drain Hose
- Clamp the drain hose to the Uni-Couple
- Drain connector on Uni-Couple
2. CONNECT TO WATER LINE
- Remove the aerator from the sink faucet and screw on the faucet adapter, using pliers to unscrew it is too tight to unscrew by hand.
- Attach the hose connector to the faucet adapter by pulling down on the locking collar while lifting up on the connector until it snaps into place. Make sure the water filter provided is in place.

- Faucet Adapter
- Locking Coller
- Lift up and lock on
- Hose connector
- Pull down
4. CONNECT TO COLD VALVE INLET
Note: Unplug electrical cord before installing water hose.
- If not installed, install rubber washer in one end of cold water.
- Thread cold water hose onto BLUE connection (right side).

NOTE: Only the cold valve will be connected for this installation. Hot valve should NOT be connected.
- Hand tighten and use pliers to tighten hoses between 1/8 and 1/4 turn beyond hand tight.
5. INSTALL CAP ON HOT VALVE
- Install and tighten cap on hot water valve inlet to prevent water from leaking from this connection.

6. CONNECT THE DRAIN HOSE
- Slide the blue drain hose from the Combo onto the Unicoupler as shown and clamp to provide a good seal.

- Drain Hose
- Clamp the drain hose to the Uni-Couple
- Drain connector on Uni-Couple
7. SLOWLY TURN ON THE WATER AT THE FAUCET ALL THE WAY TO THE DESIRED WASH TEMPERATURE

- (appearance will vary by model)
8. CONFIRM OPERATION WITH COMBO
- Try running a quick RINSE & SPIN to confirm that water is being supplied to the Combo at the temperature you selected at the faucet.
9. SET THE WASHER CONTROLS
- Select your desired cycle and options. Regardless of whether you select Tap Cold, Cold or Warm, the Combo will use the water at the temperature supplied by the faucet.
- For cycles requiring Hot or Ex. Hot water like the Sanitize cycle, the Combo will alert you that you must adjust the water temp at the sink.

DRAIN HOSE EXTENSION WH49X316
DRAIN HOSE EXTENSION KIT FOR COMBO


- Extension Drain Hose
- Hose Adapter
- Clamp
- Sleeve
- External Drain Hose

- Flex tubing adapter to extend drain hose from Combo to standpipe. Use to extend the drain hose for discharge heights between 60″ and 90″.
- Parts in Kit: Extension Hose, screw clamp, hose adapter, sleeve, instruction sheet
- Dimensions: 66″ long by 1″ diameter.
1. Unplug and move washer to gain access to drain hose.
2. With the washer moved out and hose still attached to the washer, insert the sleeve at the rubber end of the drain hose.

3. Insert the hose adapter into one end of the extension hose and slide the hose clamp onto the extension hose.

4. Insert existing drain hose with sleeve inserted into it inside the drain hose extension adapter that has been inserted into the drain hose extension.
NOTE: Liquid soap may be applied to the existing drain hose for ease of insertion.
5. Slide the clamp into the position as shown.

- Position Clamp Between Lines
6. Tighten the hose clamp so that it secures the sleeve and the hose adapter in place.
7. Reinstall drain hose into stand pipe. Drain hose should be no more than 5 inches into the stand pipe. Test to ensure there are no leaks.
NOTE: DO NOT use more than 1 extension drain hose kit.
FLOOR PAN PM7X2
LOW PROFILE FLOOR PAN WITH DRAIN / WHITE


- Low profile tray perfectly fits the Combo with or without riser attached.
- PVC connector included and easily attaches to floor drain for added protection
- Dimensions: 29″ x 33″ interior (31″ x 35″ exterior) 1.64″ deep
- Drain location is 1.75″ from edge of tray. Drain exit fitting mates to a 1-1.5″ PVC pipe.
- Remove the floor pan from the packaging.
- Place it in the final installation location and attach the drain fittings if so desired.
- Install the Combo onto the pan being careful not to damage the unit r tray. It may help to tip the unit slightly to slide it over the pan lip and slide into the final location.
TOUCH-UP PAINT WR97X27706
0.6OZ. BLACK SLATE / CARBON GRAPHITE

- Precision Color wet paint designed specifically to match your appliance appearance surfaces.
- WR97X27706 Color has been formulated to hide / fill scratches on the Combo’s metal and plastic panels.
- Applicator brush integrated into the cap.
1′ HOSE SPLITTER 2 WAY WX14X10014
SHORT HOSE with Y-ADAPTER (2 NEEDED)

x 2


- Provides ability to split either the HOT or COLD water supplies. Two kits requires for this installation.
- Kit includes: 1′ stainless steel hose, y-adapter with male threaded connections, two rubber washers. Compatible with rubber or stainless steel hoses.
- Remove the hose from the pack and install the rubber washers in each end. Install the top end of the y-adapter onto one end of the hose.
- Assemble the open end of the hose onto either the HOT or COLD water faucet. It may help to label this hose to recall if HOT or COLD is the input.
- Tighten, but do not overtighten, the fitting at the faucet.
- Repeat steps 1-4 for the second kit.
- Using 2 sets of supply hoses – total of 4 four (sold separately) for the Combos, attach the hoses to the y-adapters, making sure to separate one set of HOT and COLD for each Combo.
- Connect hoses to each Combo, ensuring to attach HOT to HOT (red) and COLD to COLD (blue).
- Tighten, but do not overtighten, all the fittings.
- Turn on the faucets slowly, checking for leaks. If needed, reinstall any hoses/fittings.
- Next, check the sizing of your standpipe and confirm that the inner diameter is at least 1.5″.
- Install the first drain tube into the standpipe, inserting it between 4 – 7″ into the pipe.
- Install the second Combo’s drain tube 4-7″ into the standpipe next to the other drain tube. If the ID of the pipe is at least 2″, they should pass each easily. If the ID is closer to 1.5″, you may need to initially squeeze one tube to get the rubber end into the pipe to get it started.
- Secure each drain tube properly using zip-ties so that they do not move during usage.
240V PLUG CONVERTER GFAPC120V
4-PRONG 240V TO 110V PLUG ADAPTER



- 4 prong 240V plug converter for two 110V outlets
- 14-30P plug, with QVNU2 supplementary protection
- Intended for use with electric 110V 15 A Combo
- A suitable alternative to the GFAPC120V part (available late 2023) is:
AC WORKS® [S1430CBF520] 1.5FT 14-30P 4-PRONG DRYER PLUG WITH 24A BREAKER
- Confirm that your 240V outlet is functioning properly and is compatible with a 4 prong NEMA plug.
- Install the adapter into the 240V outlet and make sure it is firmly in place. Based on the orientation of the outlet, the extensions of the converter may point to any direction.
- Install the Combo’s 110V cord into one of the two extension outlets.
- If desired, a second Combo unit can be installed using the second dedicated outlet.
- When moving the Combos into their final location, ensure that you do not unplug or interfere with these cords.
Watch the installation video if you need further assistance.
GE PROFILE UltraFast Combo Accessories Guide | www.geappliances.com
GE Profile UltraFast Combo with Ventless Heat Pump Technology Washer/Dryer PFQ97HSPVDS

Wash + Dry
in 1 machine

NO load transfer
2 jobs in 1

50% More Energy Efficient Drying**
w/ Ventless Heat Pump
For more information
www.geappliances.com/ge/connected-appliances/ultrafast-2-in-1-washer-dryer-combo
GE Appliances
4000 Buechel Bank Road
Louisville, KY 40225
800-GE-CARES
www.geappliances.com

References
Appliance Parts, Accessories & Water Filters | GE Appliances
Connect Your Smart Appliances
GE Appliances: Shop for Home, Kitchen, & Laundry Appliances
GE Appliances: Shop for Home, Kitchen, & Laundry Appliances
GE Profile Ultrafast 2-in-1-washer Dryer Combo
AC WORKS® 1.5FT 14-30 4-Prong Dryer Plug to (4) Outlets - 20A Breaker – AC Connectors


















