Advent AW820 Wireless Stereo Speaker System
INTRODUCTION
Advent Wireless Speakers eliminate the hardest part of adding speakers to almost any location in your home – running and hiding hundreds of feet of speaker wire. Like FM radio, the Advent Wireless Speaker System’s 900 MHz signals travel with ease through walls, floors, ceilings and other obstacles, delivering high-quality stereo sound virtually anywhere in or about the home. Resonator-controlled circuitry for drift- and static-free reception, coupled with outstanding range – up to 300 feet* –make the possibilities for your enjoyment of the Advent Wireless Speaker System nearly unlimited.
The Advent Wireless Speaker System is compatible with most audio sources, i.e. TVs, VCRs, stereo receivers/amps, personal stereos, boom boxes, DSS receivers, and individual stereo component pieces (CD players, cassette players, etc.) The contents of this manual cover various connection options and detailed operating procedures for making the Advent Wireless Stereo Speaker System a valued part of your lifestyle. If, after having reviewed the instructions, you have any questions, please contact our Customer Service Department at 1-800-732-6866.
*Maximum range; results achieved may vary by environment.

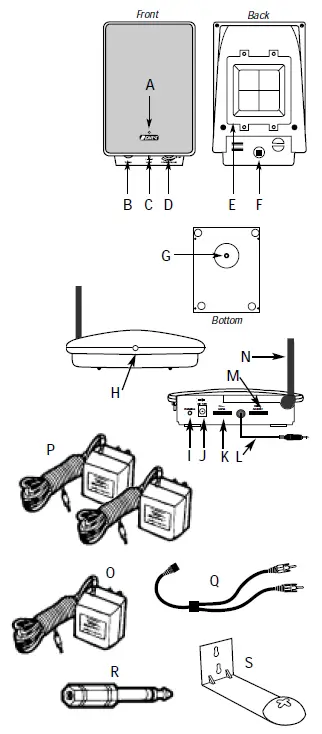
- Tuning Indicator Light
- Tuning Control Wheel
- Left/Monaural/Right Switch
- Power ON-OFF/Volume Control Wheel
- Battery Compartment Cover
- Speaker Power Input Jack
- Mounting Bracket Bolt Hole – see (S)
- Audio Level Indicator Light
- Charge Output Jack – for use with Advent AW770 and AW720 Wireless Headphones only
- Transmitter Power Input Jack
- Output Level Control Wheel
- Audio Input Cable
- Frequency Control Wheel
- Antenna
- Transmitter AC Adapter – 12V DC
- Speaker AC Adapter (x2) – 15V DC
- “Y” Cable Adapter
- Headphone Adapter Plug
- Speaker Mounting Bracket –optional, not included
CONNECT THE TRANSMITTER
Connect the transmitter as follows:
Step 1 Power the Transmitter

- Insert the power cord from Transmitter AC Adapter (O) into the Transmitter Power Input Jack (J).
- Plug the Transmitter AC Adapter (O) into any standard wall outlet.
Note: Be sure to use the AC Adapter rated 12V DC 100 mA.
Note: There is no transmitter ON/OFF switch. The transmitter is designed to be left plugged in and powered at all times. If you will not be using the AW820 for an extended period of time, you may wish to unplug the Transmitter AC Adapter.
Step 2 Connect to an Audio Source

OPTION 1CONNECTING TO A STEREO RECEIVER
- Connect the mini plug on the end of the Audio Input Cable (L) to the mini jack on the “Y” Cable Adapter (Q).
- Connect the dual RCA plugs on the other end of the “Y” Cable Adapter (Q) to the RCA-type audio outputs of a stereo receiver/amp or other audio source.
OPTION 2 CONNECTING TO A TELEVISION
- Connect the mini plug on the end of the Audio Input Cable (L) to the mini jack on the “Y” Cable Adapter (Q).
- Connect the dual RCA plugs on the other end of the “Y” Cable Adapter (Q) to the RCA-type audio outputs of a TV.
OPTION 3 CONNECTING TO A HEADPHONE JACK
- Plug the mini plug on the end of the Audio Input Cable (L) into the headphone jack. As needed, use the Headphone Adapter Plug (R) to convert the (3.5mm) mini plug to a full-size 1/4″ headphone plug.
WARNING: DO NOT connect the RCA plugs of the “Y” Cable Adapter to a speaker output on the audio source. If you use the speaker output of an audio source to connect the transmitter, you will permanently damage the transmitter. It is designed to work with RCA-type line/variable outputs or headphone outputs only.
Note: For more information on hooking up and using the transmitter with various outputs, please see MORE HELPFUL INFORMATION beginning on Page 7.
POWER THE SPEAKERS
Select from the following options to power the AW820 speakers:
POWER OPTION 1 – AC ADAPTER

- Turn the speaker Power On-Off/Volume Control Wheel (D) to the “OFF” position (all the way counterclockwise).
- Insert the power cord from a Speaker AC Adapter (P) into the Speaker Power Input Jack (F).
- Plug the Speaker AC Adapter (P) into any standard wall outlet.
- Repeat for other speaker.
Note: Be sure to use the AC Adapters rated 15V DC 800 mA.
POWER OPTION 2 – “C” CELL BATTERIES
- Remove the four screws holding the Battery Compartment Cover (E).
- Insert eight (8) “C” batteries (not included) into the speaker following the polarity (“+” and “–”) as diagrammed in the battery compartment.
- Replace the Battery Compartment Cover and screws.
- Repeat for other speaker.
ADJUST THE TRANSMITTER
Adjust the transmitter as follows.
Step 1 Turn ON your Audio Source (i.e. Stereo Receiver, TV, etc.) so that you can hear sound coming from the source.
Step 2 Pivot the Antenna (N) to the upright, vertical position.
Step 3 Set the Transmitter “Level”

- Set the Frequency Control Wheel (M) to its midpoint.
- Turn the Output Level Control Wheel (K) all the way to the left (your left when looking at the transmitter controls), as shown.
- Check status of Audio Level Indicator Light (H). If it flickers intermittently (about half the time), proceed to TUNE THE SPEAKERS.
- If Audio Level Indicator Light is on solid red or flickering very rapidly, turn Output Level Control Wheel slowly back to the right until light flickers intermittently.
Note: If the light does not flicker, confirm secure connection of the AC Adapter. If the light still does not flicker, confirm secure connection to the audio source output. If there is still no response, leave the Output Level Control Wheel completely to the left (as shown) and see the following Note.
Note: If the transmitter is connected to a variable output (i.e. headphone jack, TV audio out) on the audio source, leave the Output Level Control Wheel turned all the way to the left (as shown) and adjust the volume on the audio source up or down as necessary to make the Audio Level Indicator Light flicker intermittently. If you are unclear as to the kind of output (variable or fixed) you are using, please see MORE HELPFUL INFORMATION on following page.
TUNE THE SPEAKERS
Adjust the speakers as follows:
Turn On and Tune the Speakers

- Use the speaker Power ON-OFF/Volume Control Wheel (D) to turn the speaker “ON.” Tuning Indicator Light (A) will illuminate red.
- Turn the Tuning Control Wheel (B) until the Tuning Indicator Light changes color to green, indicating the speaker is tuned to the signal from the transmitter. If the audio source is on and operating, you should now hear sound.
- Adjust volume as desired.
- Set the Left/Mono/Right Switch (C) accordingly (see “Setting the Speakers for Stereo/Monaural Operation” below).
- Repeat process for other speaker.
Note: Interference in the form of static and/or distortion can sometimes be heard. If this occurs, confirm the transmitter/speaker adjustments and indicators. If the problem persists, refer to the TROUBLESHOOTING section of this manual.
Setting the Speakers for Stereo/Monaural Operation
For stereo operation, set the Left/Mono/Right Switch (C) to “Left” on one speaker and “Right” on the other speaker. For monaural operation at each speaker, set the Left/Mono/Right Switch to “Mono” on each speaker
Note: If you use one speaker at one location and the other at another location (i.e. two different rooms), Advent recommends the “Mono” setting for best sound reproduction.
OPTIONAL SPEAKER MOUNTING BRACKETS
Optional Speaker Mounting Brackets (S) are available to wall mount your AW820 speakers. To purchase bracket model AWB1 (includes brackets and mounting hardware for 2 speakers), contact your retailer or call Advent Customer Service at 1-800-732-6866.
MORE HELPFUL INFORMATION
About Fixed-Level Outputs
A fixed-level, or line-level audio output is considered ideal since it provides an audio signal unchanged by adjustments to the audio source (stereo, etc.) volume control.
Hint: Fixed-level audio outputs from stereo receivers/amps will typically be designated as Tape, Tape 1, and Tape 2 outputs, DAT (digital audio tape) outputs, VCR audio output connections, and auxiliary audio outputs. Tape, Tape 1, Tape 2 and DAT outputs are usually marked as ‘TAPE OUTPUT,’ ‘TAPE OUT,’ ‘TAPE REC,’ or ‘TAPE RECORD.’ Jacks designated for phono, CD, LD, DVD or tape playback (PB) are inputs and will not work for purposes of installing the transmitter.
Fixed-level outputs from TVs are usually marked as ‘Constant,’ ‘Fixed,’ or ‘Select.’ If they are not marked as such, they are probably variable outputs (see “About Variable-Level Outputs” below).
Outputs from VCRs are almost always fixed.
Hint: When connecting to the fixed audio outputs of a VCR, remember that for the wireless system to work, the VCR must be active. In other words, turn the TV on to the channel you would normally use to watch a videotape (channel 3 or 4), turn the VCR on, then press the TV/VCR button on your VCR remote control one time to make the VCR the controlling piece of equipment. At this point, whatever channel is showing on the tuner for the VCR should be the channel playing on the TV. Change channels on the VCR. This configuration gives independent volume control through the TV (using the TV remote control) and at the speakers.
Hint: If your VCR (or other RCA-type audio source you are connecting to) is mono (a single audio output), you need to acquire another RCA “Y” Cable. It differs from the “Y” Cable Adapter included in this kit. It will have a single male RCA plug and 2 female RCA jacks. Connect the dual RCA plugs from the “Y” Cable Adapter (Q) to the 2 female RCA jacks on the second “Y” cable, then connect the single male RCA plug of the second “Y” cable to the single audio output of the VCR.
About Variable-Level Outputs
A variable-level output, such as a headphone jack or certain RCA-type outputs, pro-vides an audio signal to the transmitter that changes in relation to volume level on the audio source. As the volume of the audio source goes up and down, so too does the audio signal strength sent to the transmitter. This can affect the quality of sound you hear at the speakers, and may require increasing or decreasing the volume level of the audio source to achieve a suitably strong audio signal for use with the AW820 system.
Hint: On most bookshelf-type or compact stereo systems, inserting a headphone plug into the headphone jack results in automatic cutoff of the regular, or hard-wired, speakers.
Hint: Most TVs, regardless of age or price, have variable outputs. If you are unsure which, if any of your outputs is fixed, refer to the TV instruction manual. Some TVs have outputs that can switch between variable and fixed. Refer to the TV instruction manual. When given a choice, fixed is always recommended.
TROUBLESHOOTING
The following troubleshooting guide takes you through some of the more common problems and corrections associated with the installation and/or operation of a wireless system. If the problem persists, please call 1-800-732-6866 and a knowledgeable Customer Service Representative will assist you.
Trouble Checks and Adjustments
No Sound
- Confirm that the Transmitter AC Adapter is fully inserted into the wall outlet and the power cord from the AC Adapter is firmly connected to the Transmitter Power Input Jack.
- Confirm that the speaker is turned “ON” – Tuning Indicator Light should be lit.
- Confirm that the Speaker AC Adapter is fully inserted into the wall outlet and the power cord from the AC Adapter is firmly connected to the Speaker Power Input Jack.
Or
- Check that the “C” cell batteries are fresh and inserted for correct polarity (+, –).
- Check that the audio source (stereo, TV, etc.) is turned on and providing sound as it normally should.
- Check that the speaker volume is turned up.
- If you are using a Tape 2 Monitor output from your receiver/amp as the audio output, check that you have pressed the Tape Monitor/Tape 2 button on the front of the receiver. This will turn on the Tape 2 outputs, which are inactive otherwise.
No Sound/ Distortion/ Static
- If using battery power, batteries may be low. Replace if necessary.
- Check that the speaker Tuning Indicator Light is illuminated green. If not, adjust the Tuning Control Wheel until the light changes from red to green.
- Check that the antenna is in the upright position.
- Check that the Transmitter Audio Level Indicator Light is flickering intermittently. If you are using a fixed output and the light is on solid or flickering very rapidly, or if the light is not on at all, adjust the Output Level Control Wheel so that the light flickers intermittently.
Or
- If you are using a variable output, make sure the Output Level Control Wheel is all the way left (as shown under ADJUST THE TRANSMITTER), and adjust the volume on the audio source up or down as necessary to make the light flicker intermittently.
- Change the position of the Transmitter Frequency Control Wheel to change the operating frequency. Then, readjust the speaker Tuning Control Wheel until the Tuning Indicator Light changes color to green.
- Try changing the physical location of the transmitter. Locate it as high and free of obstruction as possible. Avoid placing directly on top of a TV, if possible.
- Try moving the transmitter and speakers closer together. Sending the signal through certain materials, such as glass, tile, and metal, can decrease the effective transmitting distance of the system.
- Try changing the antenna position, particularly if you think you may be near maximum transmitting range.
No Sound from One Speaker
- Check the left/right balance control on the audio source
SPECIFICATIONS & FEATURES
Transmitter
Omnidirectional
Effective Transmitting Range: Up to 300 feet*
Adjustable Audio Level Input
Variable Frequency Adjustment between 912.5 and 914.5 MHz Line Audio Input with 3.5mm Stereo Mini Plug Plus 1/4″
and Composite “Y” Cable Adapters
UL-Listed AC Adapters
Speakers
10 Watts Per Channel RMS (each speaker)
Two-Way Speaker Design
Acoustic Suspension Design
1″ Dome Tweeter; 4″ Woofer
Integrated Power/Volume Control (front face)
Individual Frequency Fine Tuning (front face)
Left/Mono/Right Switch (front face)
Frequency Response: 30 Hz – 20 kHz
60 dB Signal-To-Noise Ratio
30 dB Channel Separation
Distortion: < 1.5%
4 Ohm Rated
*Maximum range; results achieved may vary by environment.
WARRANTY
ONE YEAR LIMITED WARRANTY
Recoton Corporation (the Company) warrants to the original retail purchaser of this product that should the product or any part thereof be proven defective in material or workmanship within One Year from the date of original purchase, such defects will be replaced without charge for parts or labor. This warranty does not apply to any incidental or consequential damages.
To obtain replacement within the terms of this warranty, the product should be delivered, transportation prepaid, to the Dealer where purchased or to the Company, along with proof of date of purchase. Call 1-800-RECOTON to obtain information regarding the procedure for proper return of your product, if your Dealer does not honor the warranty. This warranty is valid in the USA and Canada only.
THIS WARRANTY DOES NOT APPLY TO ANY PRODUCT OR PART THEREOF WHICH HAS BEEN DAM-AGED THROUGH ALTERATION, MISHANDLING, MISUSE, NEGLECT OR ACCIDENT. THIS WARRANTY IS IN LIEU OF ALL OTHER WARRANTIES, EXPRESSED OR IMPLIED, AND NO PERSON OR REPRESENTA-TIVE IS AUTHORIZED TO ASSUME FOR THE COMPANY ANY OTHER LIABILITY IN CONNECTION WITH THE SALE OF THIS PRODUCT. SOME STATES DO NOT ALLOW LIMITATIONS ON HOW LONG AN IMPLIED WARRANTY LASTS OR THE EXCLUSION OR LIMITATIONS OF INCIDENTAL OR CONSEQUEN-TIAL DAMAGE SO THE ABOVE LIMITATIONS OR EXCLUSIONS MAY NOT APPLY TO YOU. This warranty gives you specific legal rights and you may also have other rights which vary from state to state.
NON-WARRANTY SERVICE
If non-warranty service is required, the product may be sent to the Company for repair/replacement, transportation prepaid, by calling 1-800-RECOTON for details, complete instructions, and service fee charges.
FREQUENTLY ASKED QUESTIONS
Yes, you can. You can use as many pairs of speakers as once as you like with these because they use analogue transmitters. contrary to Bluetooth.
Most 900 MHz wireless don’t have an aux out, and we utilize a few sets and connect them to the phone’s wireless transmitter or the computer’s audio.
Connect the AC power cord to the speaker’s “power input” outlet on the rear. The AC power cord’s two-pronged end should be plugged into a wall socket. Connect a second AC power cord to the first speaker’s rear. The “power input” port is located on the back of the second speaker. Attach the other end of the power wire to this outlet.
Similar to FM radio, the Advent Wireless Speaker System’s 900 MHz signals easily pass through walls, floors, ceilings, and other obstructions to produce stereo sound in nearly any room or area of the house.
They were created by audio legend Henry Kloss, were well-respected in their day, and hold up quite well in comparison to many contemporary designs. Not only do the Advents sound great, but speakers like them are hard to get these days.
To get power, each speaker must still be connected to an outlet. Your speakers use a built-in wireless receiver to receive their signal from the transmitter rather than requiring long, interconnecting signal wires between them and the receiver.
Advent speakers come in a variety of sizes, output levels, enclosure materials, and construction styles.
In terms of appearance and functionality, Wi-Fi signal amplifiers are small boxes with antennas connected to an electrical outlet. When an amplifier is plugged in, it immediately picks up the wireless router signal and amplifies it so it can be transmitted.
A minor audio delay that can vary depending on the source is frequently one of the main problems that you’ll experience with wireless speakers. Similar to how your router sends a wireless Internet signal, audio data must be delivered wirelessly in order to reach the speakers.
As a result of: Power cannot be transmitted wirelessly, you might need to add a separate amplifier to power the speakers (duh). The majority of wireless speaker kits lack an integrated amplifier. Many back speakers are passive rather than active, meaning they don’t generate their own power.
Yes, the majority of wireless speakers plug into standard power outlets or power strips using AC adaptors. To become “truly wireless,” some systems employ rechargeable batteries, although this feature necessitates repositioning and charging as routine tasks in order to use this type of surround sound system.
In order to create sounds of inferior quality, your outdated speaker system would consume a lot of electricity. In contrast, more recent versions produce more decibels per watt consumed, maximizing each kilowatt of power. The way speaker systems are presented has also undergone major change.
A lot depends on how well you listen and how well you speak. If your speakers are 90 dB efficient and you enjoy listening to loud, uncompressed music, 200 Watts should be more than plenty for you. 50 Watts is plenty if all you listen to is jazz and light classical music and you don’t expect them to rock the house.




















