Hunter 19273 3 Light Pendant

Here are the tools you’ll need to complete your installation
Light Pendant
- Fixture weight ±2 lbs: 11 lbs (4.99 kg)
Hardware Service Kit
- KD89901872
- KD89901214
- Natural Iron
- Fer Naturel
- Brushed Nickel
Ladder
Screwdriver
Pliers
Wire Strippers
WARNING
- To avoid possible electrical shock, before by turning off the circuit breakers to the outlet box associated with the wall switch location.
- The lighting fixture must be grounded. If the qualified electrician.
- All wiring must be in accordance with national and local electrical codes ANSI/NFPA 70. If you are unfamiliar with wiring or in doubt, consult a qualified electrician.
READ AND SAVE THESE INSTRUCTIONS
These instructions are provided for your safety. It is very important that they are read carefully and completely before beginning the installation of the lighting fixture.
PREPARING FOR INSTALLATION
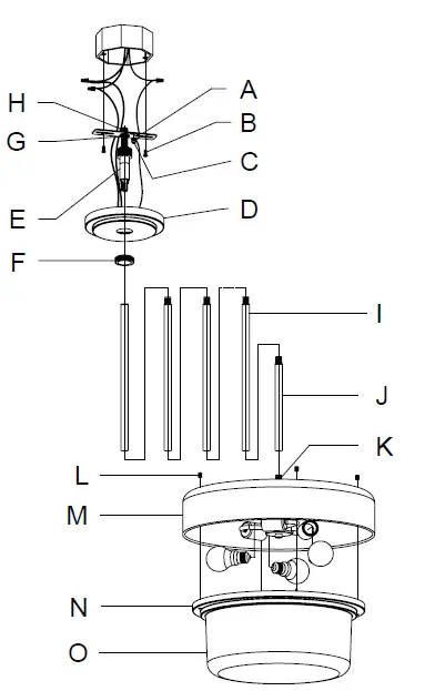
Carefully remove all contents from the carton. Shut off the power at the circuit breaker and completely remove the old One end of the threaded post (H) should be attached to the mounting bracket (A) with a hex nut (G) in place. The other end should be connected to the canopy loop (E). Unscrew the canopy loop ring (F) from the canopy loop (E). Depending on the ceiling. Determine this by lifting mounting bracket (A) up to the junction box and placing canopy (D) over the canopy (D) covering at least half of the exterior threads on the canopy loop (E) while it is securely connected to threaded post (H). The threaded post (H) can be adjusted by loosening the hex nut (G) to allow movement of the threaded post (H) on the mounting bracket (A). Once the ideal position of the threaded post (H) is determined, tighten up the hex nuts (G) onto the threaded post (H) just beneath the mounting bracket (A) to secure the threaded post in place.
ASSEMBLING THE FIXTURE
pull the wires until taut before connecting the rods together. All threads should be engaged but do not over-tighten (some wires through the canopy loop ring (F), the canopy (D), and the canopy loop (E). Screw the top rod to the canopy loop (E). Have mounting screws (B).
CONNECTING THE WIRES
Attach the fixture’s wires to the power supply wires from the junction box. Connect black to black (live); white to white (neutral); grounding to grounding (green or copper). Twist the ends of the wire pairs together. Then, twist on a wire connector. Make sure all twists are in the same tighten. If there is no ground wire (green or copper) from the junction box, contact a qualified electrician
FINISHING THE INSTALLATION
Place the canopy (D) flush to the ceiling and slide the canopy with the fixture’s specifications. Do not exceed the recommended wattage. Set the glass (0) in the trim ring (N). Align the screws on the trim ring (N) with the holes on the fixture housing (M), then use the cap nuts (L) to securely ring to the fixture housing (M). Turn on the power and test the fixture.
CLEANING TIPS
Treat the fixture gently! Regular cleaning will reduce the need for deep cleaning. For regular cleaning, turn off the light and wipe down the fixture with a clean lint-free cotton or microfiber cloth. Never spray the cleaner directly onto the fixture.
WARNING
GLASS FALL HAZARD To prevent SERIOUS INJURY or DEATH, make sure that the glass is properly secured.
NOTICE
In order to use a 12in. rod by itself you must first remove the threaded post from the 6in. rod and install it on one of the ends of the 12in. rod. Twist or tape wire ends together to make it easier to pass them through the downloads. Threaded posts may also be removed for easier wire access.
Hunter 19273 3 Light Pendant



















