

Electronic Air Purification System
READ MANUAL CAREFULLY FOR PROPER PROCEDURES AND OPERATION

CONGRATULATIONS . . .
on your purchase of an activTek INDUCT 750/2000 air purification enhancement system. This unit is designed to be installed into an existing HVAC system. Please read and follow all service procedures outlined in this manual. Use only genuine activTek replacement parts available from your Distributor.
If you have any questions concerning this or any activTek product, contact your Distributor.
Please record the name and phone number of your activTek Distributor:
Name ________________________________________
Phone ________________________________________
Please record the serial number of your activTek INDUCT 5000/10000:
Serial #________________________________________
SPECIFICATIONS
Features:
Ozone Production:
- 0.00 ppm with ozone free replaceable ActivePure® Cell.
- 0.40 ppm maximum with ozone replaceable ActivePure® Cell.
Electrical:
- 120/277 V ~ 50/60 HZ
- .27Amp Max (INDUCT 5000)
- .54Amp Max (INDUCT 10000)
Mechanical:
- Distribution via air handler.
Dimensions:
INDUCT 5000
- Height: 9”; Width: 9”; Depth: 17”
(23 cm x 23 cm x 43.2 cm) - Weight: 4 pounds (W: 1.8kg)
INDUCT 10000
- Height: 11”; Width: 11”; Depth: 17”
(28 cm x 28 cm x 43.2 cm) - Weight: 8 pounds (W: 3.6 kg)
Operating Temperature:
- < 200°F
Coverage:
- INDUCT 5000, single 14” probe units:
5,000 sq. ft. (465 m²) - INDUCT 10000, dual 14” probe units:
10,000 sq. ft. (929 m²)
Warranty:
- Limited 3 year Warranty
This owner’s manual is also available online at: http://www.activTek.net.
activTek INDUCT 5000/10000 is easily mounted into the supply side of air conditioning and heating system air ducts where many problems can start.
Optional ozone units are available with the same basic components as ozone free INDUCT units and an ozone cell.
NOTE: Ozone units and ozone cells are not available to California.
WARNING: UV Lamp operation. Do not operate unless the unit is completely and correctly assembled. Failure to comply may result in serious eye damage.
WARNING: To reduce the risk of electric shock, this equipment may have a grounding type plug that has a third (grounding) pin. This plug will only fit into a grounding type power outlet. If the plug does not fit into the outlet, contact qualified personnel to install the proper outlet. Do not alter the plug in any way.
Location for Protective Earth Line.
WARNING: This unit must be installed by a licensed HVAC contractor or electrical contractor. Failure to do so will void warranty of the product.
WARNING: Do not use this unit with an extension cord.
This owner’s manual is also available online at: http://www.activTek.net
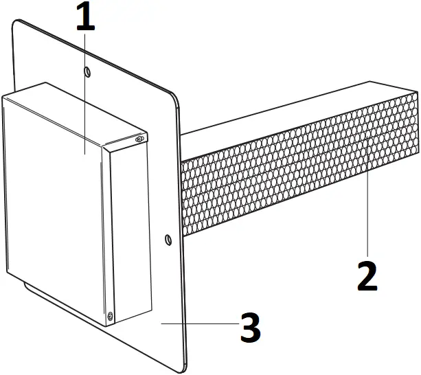
PRODUCT CONTENTS

- Removable Ballast Cover
- ActivePure® Cell
- Ballast Plate
INSTALLATION HARDWARE

(8) #8 – .75
1/4” Self-tapping screws
Item # US70679

(4) #6 – 32 X 2 inch
Threaded bolts
Item #US70680

(4) #6 – 32
Toggle bolt wall anchors
Item # US70682

(2) Thumb Screws
Item #36-00213

(4) Thumb Nuts
Item #36-00214
REPLACEMENT PARTS
INDUCT 5000/10000
Ozone free ActivePure® Cell
Item # US71089
Ozone ActivePure® Cell
Item # US70955
(Not available in California)
activTek INDUCT 5000


- ActivePure® Cell
- Ballast
- Indicator Lamp
- Power Cord
activTek INDUCT 10000


- Ballast Plate
- Ballast Removable Cover
- Ballast
- Power Cord
- Indicator Lamp
RECOMMENDED INSTALLATION TOOLS
![]()
3 1/2″ Hole Saw Drill/Power Driver Phillips
for wood or metal Screwdriver
(recommended)

3/8″ Drill Bit 1/4″
(if installing into fiberglass Nut Driver Bit
ducting with toggle bolts)
YOU MAY ALSO NEED:

Utility Knife Tin Snips Dust Mask
(for metal ductwork)
CAUTION: When the unit is installed in a roof mounted HVAC system, the unit must be protected from the elements.
INSTALLATION REQUIREMENTS
- Unit should be installed after the air handler in the HVAC system.
- The duct work around the installation area should be clean and dry to ensure proper adhesion of the gasket materials and any tape used.
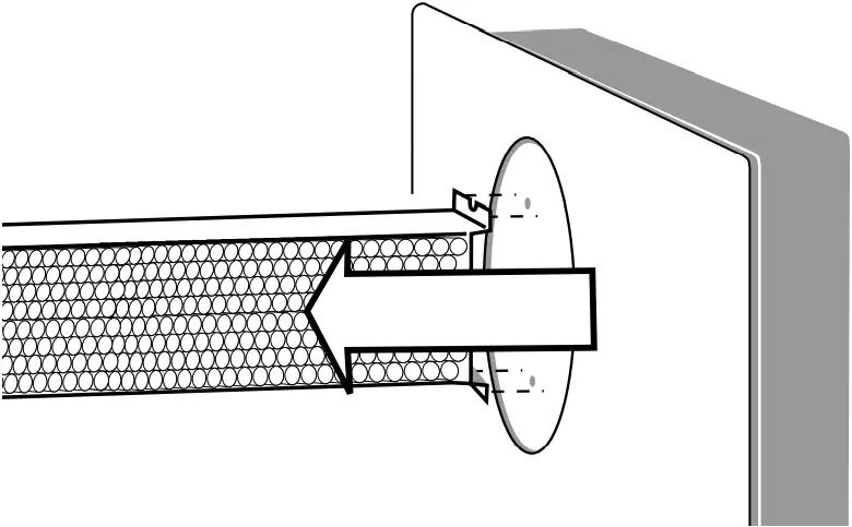
- Depending on model, one opening (activTek INDUCT 5000) or two openings (activTek INDUCT 10000) approximately 4″ (four inches) (10.16 cm) in diameter will need to be cut into the existing duct work to install the unit properly.
CAUTION: When the unit is installed in a roof mounted HVAC system, the unit must be protected from the elements. |
WARNING: If installed near a furnace or where emergency heat coils could raise the temperature inside the plenum, cycle the AC unit through three full heating cycles assuring that the temperature never exceeds 200º F (93º C). The ActivePure® cell must not exceed 200º F (93º C). |
ELECTRICAL REQUIREMENTS
CAUTION: Wiring of the unit into your HVAC system should be done by a licensed HVAC installer or electrical contractor only. |
WARNING: This unit is equipped with a universal ballast that operates at nominal voltages between 100 and 277 VAC, 50/60 Hz. |
For 120 volt unit: Black = L1, White = Neutral, Green = Ground
For 220 volt unit: Black = L1, White = L2, Green = Ground
International Units: Brown = L1, Blue = Neutral, Green with Yellow Stripe = Ground
Unit is shipped with a blunt cord. If required, installation of a UL approved plug should be done by a qualified electrical contractor.
INSTALLATION CLEARANCES

- Air Handler
- activTek INDUCT 5000 – Min. 10″ x 10″
activTek INDUCT 10000 – Min. 12″ x 12″
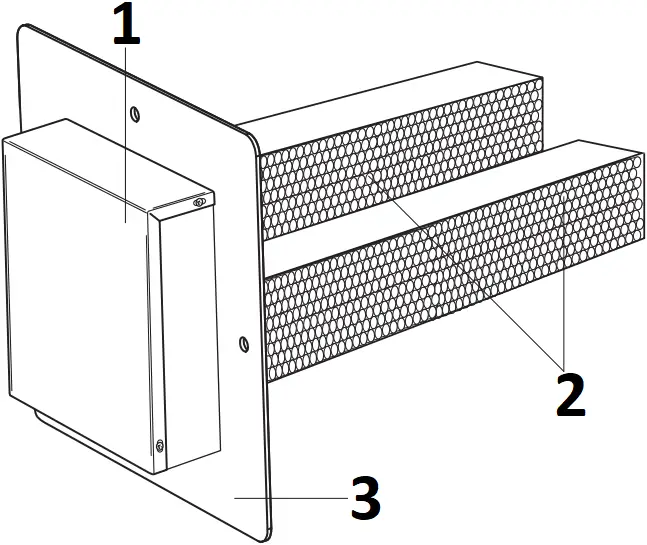
ACTIVTEK INDUCT 5000/10000 – CELL HOLE PLACEMENT TEMPLATE

- activTek INDUCT 5000 – Min. 10″ x 10″
activTek INDUCT 10000 – Min. 12″ x 12″



INSTALLING THE UNIT
1. Find the optimal position downstream from the air handler. Ensure location in duct has enough room for the mounting plate. It is recommended for maximum effectiveness that the unit be placed as close to the air handler as possible.
NOTE: The illustrations are shown installing an activTek INDUCT 10000. The procedures shown in this manual apply to both units, unless otherwise indicated.
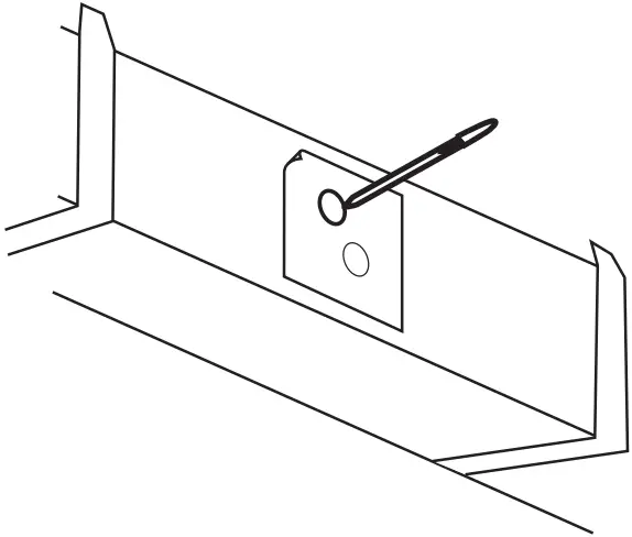
2. Using the appropriate template included, mark location for installation.

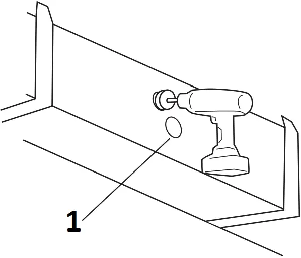
3. Using a 4″ (4 inch) hole saw, cut opening(s) into duct work.

- Cut the second hole for activTek INDUCT 10000 only.
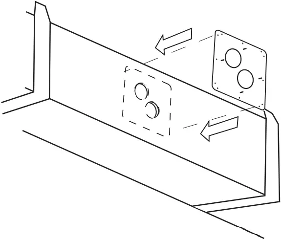
4. Place the mounting plate squarely into place and fasten to duct work with sheet metal screws.

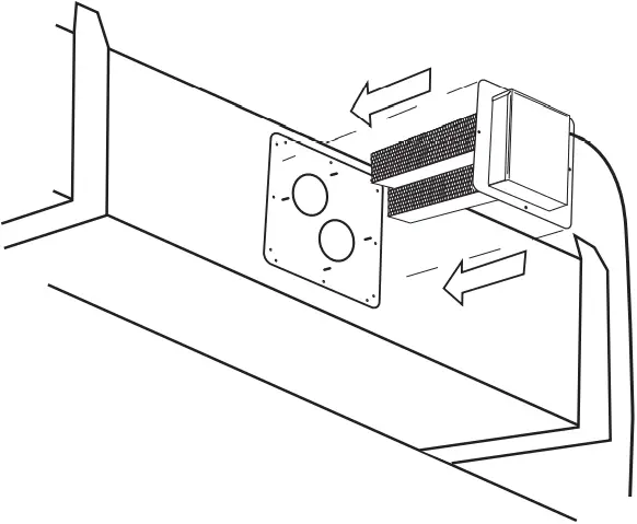
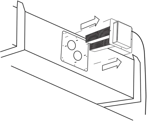
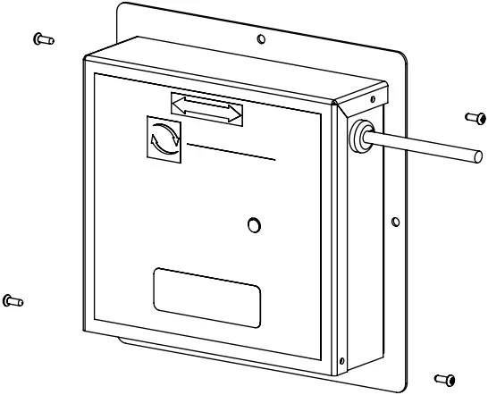
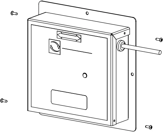
5. Move ballast assembly to location and secure to duct work with the four (4) thumb screws provided.

6. Unit may be taped with aluminum HVAC tape to provide complete seal.

WIRING THE UNIT
NOTE: Disconnect power at the breaker or fuse panel before servicing unit. Always follow OSHA lockout procedures to prevent accidental exposure to electrical energy.
WARNING: Hard wiring unit into HVAC system should be done by a licensed HVAC installer or qualified electrical contractor only. |
1. Connect wires coming from the activTek INDUCT 5000/INDUCT 10000 unit to the fan relay as follows:
NOTE: All units come standard with a blunt cord.
| 120 Volt Unit: | 220 Volt Unit: | International Unit: | |||
| Black Wire | L1 | Black Wire | L1 | Brown Wire | L1 |
| White Wire | Neutral | White Wire | L2 | Blue Wire | Neutral |
| Green Wire | Ground | Green Wire | Ground | Green with Yellow Stripe | Ground |
2. Connect the unit to the load side of the proper fan relay.

3. Be sure to ground the ballast by securing the unit to the metal surface of the AC unit or power box.
4. Check indicator light for proper operation with fan on.
MAINTENANCE/UV LAMP INDICATOR
Your activTek INDUCT 5000/10000 unit requires no periodic maintenance beyond normal replacement of the ActivePure® cell every year. UV bulb has an effective life of 9,000 hours.
NOTE: For optimal performance, we recommend the replacement of the ActivePure® cell every year, even if the UV lamp appears to be operating normally.
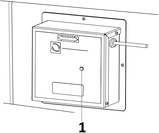
The UV lamp operation indicator on the face of the unit will glow when the UV lamp is in use. If the indicator does not glow and the unit has power, the ActivePure® cell should be replaced.
- Lamp Indicator
CHANGING THE ACTIVEPURE® CELL
![]() WARNING: UV Light in operation. Disconnect unit from power supply before servicing. Failure to follow warnings may result in severe eye damage. |

1. Unplug unit. If the unit is hard wired, be sure the power to the unit is off.
Always follow OHSA electrical lockout safety requirements to prevent Accidental release of energy during service or maintenance activities
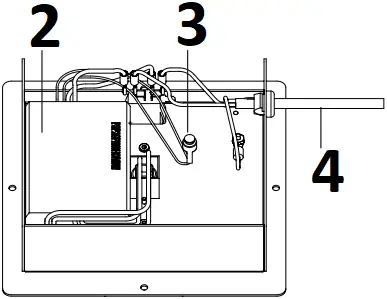
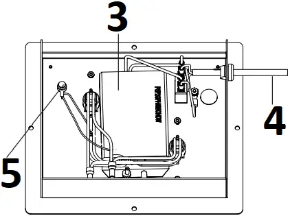
2. Remove the activTek INDUCT ballast assembly by removing the four (4) thumb screws and sliding the unit out.

3. Remove the thumb screws on either side of the ActivePure® Cell to remove the cell from the ballast assembly.


4. Replace ActivePure® Cell by reversing steps 1-3.

CHANGING THE BALLAST
WARNING: Disconnect power at the breaker or fuse panel before servicing unit. |
2. Open the ballast housing by removing the four (4) thumb screws then remove the cover.

3. Remove the two (2) thumb nuts on the top and bottom side of the ballast to pull ballast from assembly.

4. Remove the wires from ballast by pressing a small screwdriver into the wire release:
- INDUCT 10000 – 8 wires
- INDUCT 5000 – 6 wires

5. To reconnect wiring, insert wire into the corresponding color connector. Gently pull back after inserting wire to ensure the wire is properly locked into place.
UPPER (3 terminals)
• Black power wire in BLACK
• White power wire in WHITE
• GREEN is not used

LOWER (6 terminals)
• 2 Red wires in RED
• 2 Blue wires in BLUE
(INDUCT 10000 ONLY)
• 2 Yellow wires in YELLOW
CAUTION: Never attempt to check operation of the ActivePure® cell(s) by direct observation. Severe eye damage can result. Use the indicator lamps on the bottom of the ballast only.
|
6. Place new ballast into original location and secure using the two (2) nuts removed in step 4.

7. Replace cover and secure with the original four (4) screws.

8. Re-install unit if removed from duct. Reconnect power and check for proper operation (Lamp indicator should be lit when in operation).

- LAMP INDICATOR

WARRANTY INFORMATION
LIMITED 3 YEAR WARRANTY
Customer should not repackage and ship the INDUCT 5000 or INDUCT 10000 unit due to possibility of irreparable damage. For warranty service, please contact your activTek Distributor for the address of the nearest service center or call Customer Service at 866.736.0503.
WHAT IS COVERED BY THIS WARRANTY
We warrant the INDUCT 5000 or INDUCT 10000 (excluding filters) to the Customer, subject to the conditions below, against defects in workmanship or material, provided that the products are returned to a service location within the following time periods:
- INDUCT 5000 or INDUCT 10000 within three (3) years of date of purchase.
- ActivePure Cell and Lamp within one (1) year of date of purchase if the INDUCT 5000 or INDUCT 10000 is connected to a power source where the ActivePure Cell is “ON” 100% of the time. If the INDUCT 5000 or INDUCT 10000 is connected to the fan circuit where the ActivePure Cell cycles “ON and OFF” with the system fan, the ActivePure Cell is only covered by a ninety (90) day warranty from date of purchase.
INSTALLATION AND MAINTENANCE REQUIREMENTS
This warranty is expressly conditioned upon proper installation, operation, cleaning and maintenance, all in accordance with the Owner’s Manual. Failure to meet any of these requirements will void this warranty. Servicing of your INDUCT 5000 or INDUCT 10000 by parties other than our authorized representatives and/or using parts other than genuine parts will also void this warranty.
HOW TO OBTAIN WARRANTY SERVICE
Customer must contact their activTek Distributor and provide proof of purchase within the above time periods. We will repair or replace and return the product, without charge and within a reasonable period of time, subject to the conditions herein, if its examination shall disclose any part to be defective in workmanship or material. If we, in our discretion, are unable to repair the product after a reasonable number of attempts, we will provide either a refund of the purchase price or a replacement unit, at the company’s option.
WHAT IS NOT COVERED BY THIS WARRANTY
Ordinary wear and tear shall not be considered a defect in workmanship or material. These warranties do not apply to filters nor for loss or damage caused by accident, fire, abuse, misuse, improper installation, leaking, modification, misapplication, or by any repairs other than those provided by our authorized Service Center. This warranty is non-transferable.
MISSING SERIAL NUMBERS AND UNAUTHORIZED CHANNELS
If a valid serial number is missing from the product, the warranty will be voided. ActivTek products are authorized for sale through activTek Distributors only. Warranties are voided if a product is purchased through unauthorized channels; this includes websites that are not authorized to use activTek’s trademarked names, images and logos as well as Internet auction sites (e.g. eBay and craigslist). The only approved Internet presence for activTek products is www.activTek.net. To confirm warranty coverage prior to purchasing a product, contact activTek at 866-736-0503 with the serial number located on the back of the unit.
EXCLUSION OF OTHER WARRANTIES AND CONDITIONS
EXCEPT AS PROVIDED HEREIN, WE MAKE NO REPRESENTATION OR WARRANTY OF ANY KIND. ALL OTHER WARRANTIES OF ANY KIND, EXPRESS OR IMPLIED, ARE HEREBY EXPRESSLY DISCLAIMED, INCLUDING ANY IMPLIED WARRANTY OF MERCHANTABILITY OR FITNESS FOR A PARTICULAR PURPOSE.
LIMITATION OF LIABILITY FOR SPECIAL, INCIDENTAL, OR CONSEQUENTIAL DAMAGES
WE SHALL NOT IN ANY CASE BE LIABLE FOR SPECIAL, INCIDENTAL OR CONSEQUENTIAL DAMAGES ARISING FROM BREACH OF EXPRESSED OR IMPLIED WARRANTIES, CONDITIONS, GUARANTEES OR REPRESENTATIONS, BREACH OF CONTRACT, NEGLIGENCE OR ANY OTHER LEGAL THEORY. Such excluded damages include, but are not limited to, loss of profits or revenue, and loss of the use of the products, and any loss caused by leaks or other water damage.
FOR U.S. APPLICATION ONLY
This warranty gives you specific legal rights, and you may also have other rights which vary from state to state. Some states do not allow limitations on warranties, or on remedies for breach. In such states, the above limitations may not apply to you.
FOR CANADIAN APPLICATION ONLY
Exclusion of Subsequent Owners: Except as otherwise required by applicable legislation, this warranty is not transferable. This warranty gives you specific legal rights and you may also have other rights which vary from province to province. Some provinces and territories do not allow limitations on warranties, or on remedies for breach. In such provinces or territories, the above limitations may not apply to you. If any provision of this warranty or part thereof is held by a court of competent jurisdiction to be invalid, illegal, or unenforceable, the validity, legality and enforceability of the remaining provisions or parts thereof will not in any way be affected or impaired within the jurisdiction of that court. This entire warranty shall continue to be valid, legal and enforceable in any jurisdiction where a similar determination has not been made.
This warranty is provided by
DBG Group Investments, LLC
300 East Valley Drive
Bristol, VA 24201
SERVICE
Every effort is made to ensure customers receive an up-to date instructions manual on the use of our products; however, from time to time, modifications to our products may without notice make the information contained herein subject to alteration. For the latest information, please visit our web site.
| This equipment has been tested and found to comply with the limits for Industrial, Scientific, and Medical Equipment (ISM), pursuant to Part 18 of the FCC Rules. These limits are designed to provide reasonable protection against harmful interference in a residential installation. This equipment generates, uses, and can radiate radio frequency energy, and if not installed and used in accordance with the instructions, may cause harmful interference to radio communications. However, there is no guarantee that interference will not occur in a particular installation. If this equipment does cause harmful interference to radio or television, which can be determined by turning the equipment off and on, the user is encouraged to try to correct the interference by one or more of the following measures: Reorient or relocate the receiving antenna. Increase the separation between the equipment and receiver. Connect the equipment into an outlet on a circuit different from that to which the receiver is connected. Consult the Distributor or an experienced radio/TV technician for help. |
FCC DECLARATION OF CONFORMITY
Name: DBG Group Investments, LLC
dba activTek Environmental
Model: activTek INDUCT 5000/10000
Manufacturer:
DBG Group Investments, LLC
This device complies with Part 18 of the FCC Rules.
RESPONSIBLE PARTY
DBG Group Investments, LLC
dba activTek Environmental
300 East Valley Drive
Bristol, VA 24201
Ph: 866.736.0503
Signature:![]()
Printed Name: Andrew Eide
Title: Vice President of Product Development and Research
Date: 10/11/18

DBG Group Investments, LLC
dba activTek Environmental
300 East Valley Drive
Bristol, VA 24201
ID_OM_5K-10K_65-00730_VA-01265_1018
WARNING: This unit is equipped with a universal ballast that operates at nominal voltages between 100 and 277 VAC, 50/60 Hz.
WARNING: UV Light in operation. Disconnect unit from power supply before servicing. Failure to follow warnings may result in severe eye damage.
















