MICROWAVE OVEN HOOD COMBINATION QUICK START
GUIDE YWMMF5930
OPERATING INSTRUCTIONS
WARNING: To reduce the risk of fire, electric shock, or injury to persons, read the IMPORTANT SAFETY INSTRUCTIONS, located in your appliance’s Owner’s Manual, before operating this appliance.
Setting Clock When First Plug In
Step 1. The first time you power up, the clock time will be blinking 12 00 on the display.
Step 2. Open the door.
Step 3. Use number keypad to set hours and minutes, the range is between 1:00-12:59, without AM/PM. It is a 12 hour clock.
Step 4. Press Settings keypad or wait for 5 seconds to confirm.
Using Your Microwave Oven to Cook
Step 1. Open the door.
Step 2. Place food inside the microwave oven.
Step 3. Select food classes.
Step 4. Enter/Sense the amounts.
Step 5. Close the door.
Step 6. Press Start to start the cooking.
Step 7. The Cancel/Stop button can be use to cancel the function during or after cook time.
Using Hood Light
Press Light button setting the hood light among HIGH->LOW->OFF
Using Hood Fan
Press Fan/Vent Fan button setting the vent fan among HIGH->MEDIUM->LOW->OFF
NOTE: For more detailed instructions on specific functions, see the online Control Guide.
ALUMINIUM FOIL AND METAL
Always use oven mitts or pot holders when removing dishes from the microwave oven.
Aluminum foil and some metal can be used in the microwave oven. If not used properly, arcing (a blue flash of light) can occur and cause damage to the microwave oven.
OK for Use
- Browning dish (Follow manufacturer recommendations.)
- Ceramic glass, glass
- China, earthenware (Follow manufacturer recommendations.)
- Melamine (Follow manufacturer recommendations.)
- Paper towels, paper plates, napkins (Use non-recycled paper.)
- Plastic wraps, bags, covers, dinnerware, containers (Follow manufacturer recommendations.)
- Pottery and clay (Follow manufacturer recommendations.)
- Silicone bakeware (Follow manufacturer recommendations.)
- Wax paper.
Do Not Use
Metal cookware and bakeware, gold, silver, pewter, non-approved meat thermometers, skewers, twist ties, foil liners such as sandwich wrappers, staples, and objects with gold or silver trim or a metallic glaze should not be used in the microwave oven.
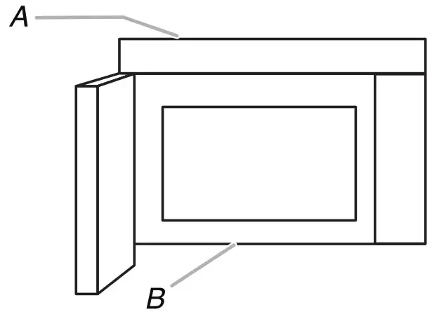
OVEN VENT(S)
The microwave oven vent(s) is flushed to the cabinet, it will be opened automatically when it works, should not be blocked or covered since it allow the inlet of fresh air into the cooling system. Also the bottom vent should not be blocked or covered since it allows the inlet of fresh air into the cooling system and the outlet of hot air from the cooling system. Blocking or covering vents will cause poor air circulation, affecting cooking, cleaning, and cooling results.

Combination Microwave Oven
A. Microwave oven vent
B. Bottom vent
CLEAN GREASE FILTER:
The Grease Filter is on the underside of microwave oven.
Clean monthly.
To clean the Grease Filter:
- Disconnect power.
- To remove the Grease Filter by loosing the screw, sliding it out of the bottom plate. Remove the Charcoal Filter.
- Clean the Grease Filter with mild cleanser and scouring pad, or clean it with dishwasher.
- After cleaning, dry it up, reattach the Charcoal Filter, put the Grease Filter back to the bottom plate. Securely tighten the screw.

| A. Bottom Plate B. Charcoal Filter | C. Screw D. Grease Filter |
REPLACING GREASE FILTER:
If the Grease Filter has been damaged, replace a new one.
To replace the Grease Filter:
- Disconnect power.
- To remove the Grease Filter by loosing the screw, sliding it out of the bottom plate. Remove the Charcoal Filter.
- Replace a new Grease Filter. Reattach the Charcoal Filter.
- Put the Grease Filter back to the bottom plate. Securely tighten the screw.
REPLACING CHARCOAL FILTER:
The Charcoal Filter is behind the Grease Filter. It cannot be cleaned and should be replaced every 6 months, while the display scroll the filter alert “Change the Charcoal Filter, Reset reminder in Settings.”
To replace the Charcoal Filter:
- Disconnect power.
- To remove the Grease Filter by loosing the screw, sliding it out of the bottom plate.
- Remove the Charcoal Filter out of the Grease Filter.
- Replace the old Charcoal Filter with a new Charcoal Filter.
- Put the Charcoal Filter back to the Grease Filter.
- Put them back to the bottom plate. Securely tighten the screw.
To remove the filter alert and reset filters duration:
After the Charcoal Filter is replaced, to remove the filter alert on the display, retrieve another 6 months duration.
- Press Settings button repeatedly until Filter Reset.
- The display scrolling “Press 1 to reset filter reminder.”
- Press 1 keypad to confirm. “Filter Reset” on the display.
The Charcoal Filter retrieve another 6 months duration now.
NOTE: Order the Charcoal or Grease Filter, see the “Online ordering information” section.
ONLINE ORDERING INFORMATION
For detailed installation instruction and maintenance information, please see the Owner’s Manual included with your appliance. For information on any of the following items, a full cycle guide, warranty, detailed product dimensions, or for complete instructions for use and installation, please visit https://www.whirlpool.ca/owners. This may save you the cost of a service call.

However, if you need to contact us, use the information listed below.
Canada:
1–800–807–6777
Whirlpool Brand Home Appliances Customer experience Centre 200–6750 Century Ave.
Mississauga, Ontario L5N 0B7
IMPORTANT: Retain this guide for future use.
W11595048A® /™
©2022 Whirlpool. All rights reserved.
Used under license in Canada.



















