BA0220 Universal Rotisserie Kit and
5 to 6 Burner Rotisserie Kit
Instruction Manual
BA0220 Universal Rotisserie Kit
ATTACHING ROTISSERIE BRACKET TO BRAAI
- Using the bolts, nuts and washers provided, attach the motor bracket (Fig 2) to the left side of the braai (or right side) as shown in Fig 1 by inserting a bolt through the bracket and then through the outside of your braai. Place a washer on the end of each bolt. Secure bolts with nuts. Attach the spit rod bracket to the other side of your braai. (See Fig 1)

- The bracket (Fig 2) is adjustable in many ways. Check to see if the adjustable bracket fits your braai. If not, there are two methods to reassemble the bracket:
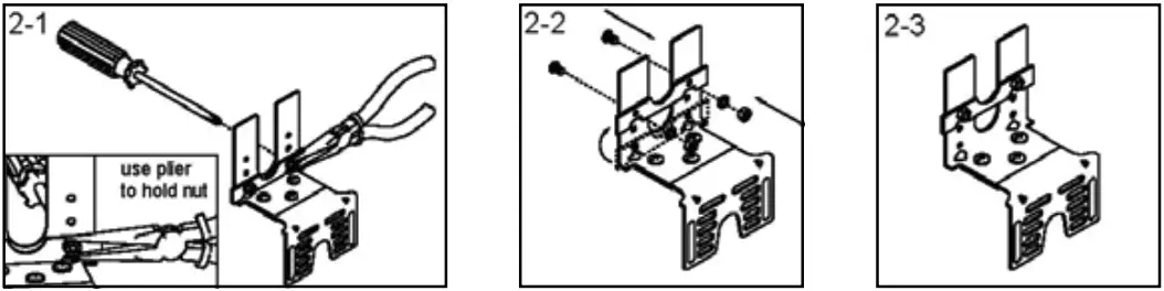
a) Use Phillips screwdriver and plier to loosen the screws on Part Z (Fig 2-1). Decide where you want to mount the motor. Move Part Z to the proper hole and tighten the screws. (Fig 2-1∼2-3).
b) If the adjustment of bracket as per step (a) still doesn’t fit your braai, loosen the 3 screws that hold together Part X and Part Y (Fig 3-1). Turn Part X upside down and reassemble it to Part Y, making the whole bracket a “U” shape as shown in Fig 3-1 through Fig 3-5. (Make sure to assemble the “U” shape bracket in the correct method as shown in Fig 3-4). Remember to place a washer before placing a nut. Secure bolts with nuts. If it still doesn’t fit your braai, remove Part Z from the bracket and mount the motor on Part Y directly (Fig 3-6).
c) For some model braais where the mounting holes are in a vertical position use Part I with vertically placed holes in place of Part X (Fig 3-7).
- Slide rotisserie Motor over Bracket (Fig. 4)

- Pick up the one section rotisseries rod. (Fig. 5)
- Place the rotisserie prongs into the rotisserie rod with caution. (Fig. 6)

- Place the collar into the rotisseries rod and fix it on the support on the spit rod bracket that is put on the braai. (Fig. 7)
- Some braais have a spit rod slot on the firebox and it is possible that the spit rod bracket might not fit your braai. In that case, slide the supplied collar onto the spit rod. Let the collar rest in the slot in the side of firebox (Fig 8).

- Place rotisserie rod into the motor, make sure rotisserie rod aligns with the motor. (Fig. 9).
- Completed (Fig. 10).

- If you are using one of the below braai models, follow the step 2(b) to assemble the bracket in a shape as Fig 3-5, Fig 3-6 or Fig 3-7. These braai models are: Megamaster 130S, 2308S, 240S, 230SE, 240SE, 340SE, 340SS, 540SE. This kit is also compatible for most other brand braais.
- If the brackets (either Fig.2 or Fig.3-5, 3-6) can not fit your braais, use the optional bracket which has been supplied with your braais.
USING THE ROTISSERIE BURNER
With the rotisserie motor in place and plugged into an electrical outlet it is now ready to operate. After installing rotisseries rod handle, slide one of the meat forks onto the rod. (prongs toward the food.) Centre the food to be cooked on the rod, then push the meat forks firmly together. Tighten the wing nuts. It may also be necessary to wrap food with butcher’s string, (never use nylon or plastic string) to secure loose portions. Once the food is secure, insert the pointed end of the rotisseries rod into the motor assembly and rest the other end on the support on the right-hand side of the Braai.
(If needed remove the cooking grates for more room.). Turn the power switch to the “ON” position to start the rotisserie motor.
Notes: Remove the rotisserie when not in use.


b) If the adjustment of bracket as per step (a) still doesn’t fit your braai, loosen the 3 screws that hold together Part X and Part Y (Fig 3-1). Turn Part X upside down and reassemble it to Part Y, making the whole bracket a “U” shape as shown in Fig 3-1 through Fig 3-5. (Make sure to assemble the “U” shape bracket in the correct method as shown in Fig 3-4). Remember to place a washer before placing a nut. Secure bolts with nuts. If it still doesn’t fit your braai, remove Part Z from the bracket and mount the motor on Part Y directly (Fig 3-6).






















