RAK-SX-HNK Split Unit Air Conditioner
Instruction Manual
RAK-SX-HNK Split Unit Air Conditioner
Indoor Unit
RAK-SX07HNK
RAK-SX1OHNK
RAK-SX13HNK
RAK-SX18HNK
- Carefully read through the procedures of proper installation before starting installation work.
- The sales agent should inform customers regarding the correct operation of installation.
Tools Needed For Installation Work
| • ® 0 Screwdriver | • Torque Wrench |
| • Measuring Tape | • Vacuum Pump Adaptor |
| • Knife | • Flare Tool |
| • Saw | • Gas Leakage Detector |
| • Pipe Cutter | • Manifold Valve |
| • Hexagonal Wrench Key (jO 4mm) | • Charge Hose |
| • Power Drill (o65rnm o80mm) | • Reammer |
| • Vacuum Pump | • File |
| • Pliers or Wrench |
SAFETY PRECAUTION
- Read the safety precautions carefully before operating the unit.
- The contents of this section are vital to ensure safety. Please pay special attention to the following sign.
WARNING Incorrect methods of installation may cause death or serious Injury.
CAUTION Improper installation may result in serious consequence. Be sure that the unit operates in proper condition after installation. Explain to customer the proper way of operating the unit as described in the user’s guide.
WARNING
- Flare nut must use a torque wrench without fail. Tighten with the specified tightening torque. If the flare nut is tightened too much, after a long period of time,
the flare nut breaks, Gas leakage, stagnation, touching fire, rarely cause ignition. - Sharp bending of the pipe use the polyethylene rod, bend not crushed the pipe. Gas leakage from the crushed part, stagnation, touching fire, rarely cause ignition.
- Please request your sales agent or qualified technician to Install your unit. Water leakage, short circuit or fire may occur if you do the installation work yourself.
- Please observe the instructions stated in the Installation manual during the process of Installation. Improper Installation may cause water leakage, electric shock and tire.
- Make sure that the units are mounted at locations which are able to provide full support to the weight of the units. If not, the units may collapse and impose danger.
- Observe the rules and regulations of the electrical installation and the methods described in the installation manual when dealing with the electrical work. Use power cables approved by the authorities of your country.
- Be sure to use the specified wire for connecting the indoor and outdoor units. Please ensure that the connections are tight after the conductors of the wire are inserted into the terminals. Improper insertion and loose contact may cause over-heating and fire.
- Please use the specified components for Installation work. Otherwise, the units may collapse or water leakage, electric shock and fire may occur.
- Be sure to use the specified piping set for R410A. Otherwise, this may result in broken copper pipes or faults.
- When Installing or removing an air conditioner, only specified refrigerant (R410A) shall be allowed, do not allow air or moisture to remain In the refrigeration cycle. Otherwise, pressure in the refrigeration cycle may become abnormally high so that a rupture may be caused.
- Be sure to ventilate fully if a refrigerant gas leak while at work. If the refrigerant gas comes Into contact with fire, a poisonous gas may occur. Be aware that refrigerants may not contain an odour.
- After completion of installation work, check to make sure that there is no refrigeration gas leakage. If the refrigerant gas leaks into the room, coming Into contact with lire in the fan-driven heater, space heater, etc.. a poisonous gas may occur.
- Unauthorized modifications to the air conditioner may be dangerous. If a breakdown occurs please call a qualified air conditioner technician or electrician. Improper repairs may result in water leakage, electric shock and fire, etc.
- Be sure to Install a ground fault circuit Interrupter. Failure to install a ground fault circuit Interrupter may result In electrical shocks or fire.
- This appliance is not intended for use by persons (including children) with reduced physical sensory or mental capabilities or lack of experience and knowledge, unless they have been given supervision or instruction concerning use of the appliance by a person responsible for their safety. Children should be supervised to ensure that they do not play with the appliance.
- Appliance shall be installed in accordance with national wiring regulations.
CAUTION
- A circuit breaker must be Installed. Without a circuit breaker or fuse the danger of electric shock exists. A main switch with a contact gap of more than 3mm has to be installed in the power supply line to the outdoor unit.
- Do not install the unit near a location where there is flammable gas. The outdoor unit may catch fire if flammable gas leaks around it.
- Do not install the indoor unit in a machine shop or kitchen where vapor from oil or its mist flows to the indoor unit. The oil will deposit on the heat exchanger, thereby reducing the indoor unit performance and may deform and in the worst case, break the plastic parts of the indoor unit.
- Please ensure smooth flow of water when installing the drain hose.
- Piping shall be suitable supported with a maximum spacing of lm between the supports.
THE CHOICE OF MOUNTING SITE (Please note the following matters and obtain permission from customer before installation)
WARNING
- The unit should be mounted at stable, non-vibratory location which can provide full support to the unit.
CAUTION
- No nearby heat source and no obstruction near the air outlet is allowed.
- The clearance distances from top, right and left are specified in figure below.
- The location must be convenient for water drainage and pipe connection with the Outdoor unit.

- To avoid interference from noise please place the unit and its remote controller at inverter type fluorescent lamp.
- To avoid any error in signal transmission from the remote controller, please put the least lm from the radio, television and controller far away from high-frequency machines and high-power wireless systems.
- The installation height of indoor unit must be 2.3m or more.
Names of Indoor Components
| No. | Component’s Name | Qty |
| 1 | Mounting Plate![]() | 1 |
| 2 | Screw for Mounting Plate![]() | 6 |
| 3 | Holder for Remote Controller![]() | 1 |
| 4 | MA Size Battery![]() | 2 |
| 5 | Screw for holder of Remote Controller![]() | 2 |
| 6 | Remote Controller![]() | 1 |
| 7 | Purifying Filter![]() | 2 |
Direction of Piping
There are 6 directions allowed, namely, horizontally perpendicular to the unit, vertically down from right, horizontally out from right, horizontally out to left, horizontally out to right, vertically down from left.
Figure showing the Installation of Indoor
CAUTION
Height difference” and ‘Piping length” of Indoor and Outdoor unit are different by Outdoor unit. Please refer to Installation manual of Outdoor unit.

CAUTION
- A brazed, welded or mechanical connection shall be made before opening the valves to permit refrigerant to flow between the refrigerating system parts. A vacuum valve shall be provided to evacuate the interconnecting pipe and/or any uncharged refrigerating system.
- Mechanical connectors used indoor shall comply with ISO 14903. When mechanical connectors are reused indoors, sealing parts shall be renewed. When flare joints are reused indoors, the flare part shall be re-frabricated.
- Refrigerant tubing shall be protected or enclosed to avoid damage.
Installation of Hanger, Wall Penetration and Installation of Protection Pipe
CAUTION
- The draining of the water container inside the indoor unit can be done from the left. Therefore the mounting plate must be fixed horizontally or slightly tilted towards the side of drain hose. Othenvise, condensed water may overflow the water container.
Direct Mounting On The Wall
Please use hidden beams in the wall to hold the mounting plate.
Procedures of Installation and Precautions
Procedures to fix the mounting plate.
- Drill holes on wall.(As shown below)
- Push plug into the holes.(As shown below)
- Fix the mounting plate on wall with 4.1 x 32 screw (As shown in figure below)
Procedures to fix the holder of remote control.
- Drill holes on wall.(As shown below)
- Push plug into the holes. (As shown below)

Wall Penetration and Installation of Protection Pipe
- Drill a o65mm hole on wall which is slightly tilted towards the outdoor side. Drill the wall at a small angle.
- Cut the protection pipe according to the wall thickness.
- Empty gap in the sleeve of protection pipe should be completely sealed with putty to avoid dripping of rain water into the room.

WARNING
Be sure that the wire is not in contact with any metal in the wall. Please use the protection pipe as wire passing through the hollow part of the wall so as to prevent the possibility of damaged by mouse. Unless it seals completely, any air with high humidity flows from outdoor and dew may drop.
Installation of the Indoor Unit
VERTICALLY DOWNWARD PIPING
Preparation
- Connect connecting cord.
- Pull out the pipe, connecting cord and drain hose.

Installation
- The upper part of the indoor unit is hanged on the mounting plate.
- The projection at the lower part of the indoor unit is hooked onto the mounting plate.

CAUTION
Please pull the lower part of the indoor unit outwards to check if the unit is hooked onto the mounting plate. Improper installation may cause vibration and noise.
HORIZONTAL PIPING
Preparation
Change of Drain Hose and Installation Procedures.
- Exchange the location of drain hose and drain cap during horizontal piping as shown in figure below. Be sure to plug in the drain hose until the insulating material folds upon itself.
- Please use pliers to pull out the drain cap. (This is an easier way to remove the drain cap).


Drain cap shall be fully tightened by pushing with Hexagonal wrench key when changing location.

CAUTION
Condensed water may leak out if not inserted properly.
CAUTION
For horizontally out to right piping
GOOD
For right piping, follow the instruction as below:
- Press the upper side of clamp

- Unfold the pipe to downward slowly.

- Bend the pipe to the right side of chassis.

X BAD
Following bending from left to right directly could cause damage to pipe.
INSTALLATION OF REFRIGERATING PIPES AFTER CONNECTION
- The refrigerating pipes should be adjusted to fit into the hole on the wall and then ready for further connection.
- The terminals of 2 connected pipes must be covered with insulator used for terminal connection. Then the pipes are wrapped with insulation pipe.

- Connect the connecting cord after removing electrical cover. (Refer to “CONNECTION OF POWER CORD”)
- After adjustment, fit the connecting cord and pipes into the space available under the indoor unit.

CAUTION
- The rubber strap used for fixing the insulator should not be tied with great force. Otherwise, this will damage heat insulation and causes water condensation.

THE CONNECTION OF REFRIGERATING PIPE DURING THE INSTALLATION OF INDOOR UNIT
Preparation To Install Refrigerating Pipes
• The refrigerating pipes and connecting cord arrangement are attached.
CAUTION
- Please fix in the plastic core after flaring to avoid copper chips entering the pipes.

Installation
Hang the Indoor unit onto the mounting plate. Use the temporary stand at the back of the Indoor unit to push its lower part 150mm forwards.+

- Place the drain hose through the hole on the wall.
- Wrap the refrigerating pipes with insulation pipe after connecting refrigerating pipe.
- Connect the connecting cord after removing electrical cover. (Refer to “Connection of Power Cord”)
- After adjustment, the connecting cord and refrigerating pipes are placed into the space available under the Indoor unit.
- The projection of Indoor unit must hook to the mounting plate.

Installation of Drain Hose
CAUTION
- Do not guide the drain hose to places where corrosive gases (sulfur, ammonia, etc.) are generated, such as septic tanks and sewer. Corrosive gas may flow backward from the drain hose to the indoor unit, corrode the copper pipe, or it may cause offensive odors in the room.
- Cut the drain hose at a position 100mm higher than the floor surface. It may cause water leakage due to air lock or clogging of foreign matter.

CAUTION
Be sure that the drain hose is not loosely connected or bend.
CAUTION
You are free to choose the side (left or right) for the installation of drain hose. Please ensure the smooth flow of condensed water of the Indoor unit during installation. Carelessness may result in water leakage.
INSTALLATICIOF REFRI ERATIN PIPE AND AIR REMIVA
Preparation of Pipe
- Use a pipe cutter to cut the copper pipe.

CAUTION
- Jagged edge will cause leakage.
- Point the side to be trimmed downwards during trimming to prevent copper chips from entering the pipe.
- Before flaring, please put on the flare nut.

- Recommend to use R410A flaring tool.
| Outer diameter inch (mm) | Thickness mm | A mm | ||
| Flare tool for R410A Clutch type | Conventional flare tool | |||
| Clutch type | Wing nut type | |||
| 1/4″ (6.35mm) | 0.8 | 0.0-0.5 | 1.0-1.5 | 1.5-2.0 |
| 3/8″ (9.52mm) | 0.8 | 0.0-0.5 | 1.0-1.5 | 1.5-2.0 |
Pipe Connection
CAUTION
- When removing flare nut from the Indoor unit, please ensure to use proper tooling.
- Prevent pipe from coming in contact with water or working in wet area.

| Outer dia.of pipe mm | Torque N.m (kgf • cm) | ||
| Small dia. side | 1/4″ (6.35mm) | 13.7 ∼18.6 (140 ∼ 190) | |
| Large dia. side | 3/8″ (9.52mm) | 34.3 ∼ 44.1 (350 ∼ 450) | |
| Valve head Cal) | Small dia. side | 1/4″ (6.35mm) | 19.6 ∼ 24.5 (200 ∼ 250) |
| Large dia. side | 3/8″ (9.52mm) | 19.6 ∼ 24.5 (200 ∼ 250) | |
| Valve core cap | 12.3 ∼ 15.7 (125 ∼ 160) | ||
CAUTION
- Prevent moisture from entering pipe connection.
- Refrigerating machine oil not be applied to the outside of the flare. When refrigerating oil is applied to the outside of the flare, cracking of the flare nut, destruction of the flare and gas leakage may occur due to the excessive tightening of the flare nut.
- When using the control valve, do not use deteriorated packing. And, do not overtighten the steering wheel. Gas leakage from the service valve part, stagnation, touching fire, rarely cause ignition.
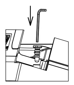
Gas Leakage Inspection
Please use gas leakage detector to check if leakage occurs at the connection of Flare nut as shown on the right.
If gas leakage occurs, further tighten the connection to stop leakage. (Use the detector provided for R410A)
ONNECTION OF POWER CORD
WARNING • THIS APPLIANCE MUST BE GROUNDED. )
Procedures of Wiring
In case that power is supplied from Indoor Unit
Detail of cutting the connecting cord
Indoor Unit
When removing the connecting wires for the Indoor unit, please remove the low cover panel in front of the unit.
WARNING
- The naked part of the wire core should be 10mm and fix it to the terminal tightly. Then try to pull the individual wire to check if the contact is tight. Improper insertion may bum the terminal.
- Be sure to use only power cables approved from the authorities in your country. If the supply cord is damaged, it must be replaced by the manufacturer, its service agent or similarly qualified person in order to to avoid a hazard.
- Please refer to the following for wire connection to the terminals of the units. The cabling must meet the standards of electrical Installation.
- There is a AC voltage drop between the L and N terminals if the power is on. Therefore, before servicing, be sure to remove the plug from the AC outlet or switch off the main switch.
WARNING
- Leave some space in the connecting cord for maintenance purpose and be sure to secure it with the cord band.
- Secure the connecting cord along the coated part of the wire using the cord band. Do not exert pressure on the wire as this may cause overheating or fire.
- Supply cords, current- carrying conductors become taut before earthing conductor, if the cord slips out Of the cord band.

Checking for the electric source and the voltage range
- Before installation, the power source must be checked and necessary wiring work must be completed. To make the wiring capacity proper, use the wire gauge list below for the wiring from house distribution fuse box to the outdoor unit in consideration of the locked rotor current.
- Investigate the power supply capacity and other electrical conditions at the installation location. Depending on the model of room air conditioner to be installed, request the customer to make arrangements for the necessary electrical work etc. The electrical work includes the wiring work up the outdoor. In localities where electrical conditions are poor, use of a voltage regulation is recommended.
Wiring Of The Indoor Unit
- For wire connection of the Indoor unit, you need to remove front panel and electrical cover.
Method to remove front panel - Please refer to Instruction Manual – “Removing the Front Panel’ under “Cleaning of Front Panel’.

How to connect the optional parts
(Dry contact, H-Link/Wi Fi (optional), Wired remote, Run status)
- For cable connection to control P.W.B., you need to remove front cover and electrical box cover. Each connecting location is as below.
- Dry contact: CN6
- H-LINK/Wi Fi: CN7
- Wired Remote Controller: CN18
- Run status: CN5

- Please check and confirm manuals attached to each optional parts for more connection details.
- You can refer to this installation manual how to remove and re-attach the front cover.
- Please be careful not to damage lead wires by edge of plate when connecting the optional parts.
FINAL STAGE OF INSTALLATION
1. Insulation And Maintenance Of Pipe Connection
- The connected terminals should be completely sealed with heat insulator and then tied up with rubber strap.
- Please tie the pipe and power line together with vinyl tape as shown in the figure showing the installation of Indoor and Outdoor units. Then fix their position with holders.
- To enchance the heat insulation and to prevent water condensation, please cover the outdoor part of the drain hose and pipe with insulation pipe.
- Completely seal any gap with putty.

2. Installation Of Remote Controller
- The remote controller can be placed in its holder which is fixed on wall or beam.
- To operate the remote controller at its holder, please ensure that the unit can receive signal transmitted from the controller at the place where the holder is to be fixed. The unit will beep when signal is received from the remote controller. The signal transmission is weaken by the fluorescent light. Therefore, during the installation of the remote control holder, please switch on the light, even during day time, to determine the mounting location of the holder.
The controller should be insert from top into bottom side of the holder as shown below.

Trial run ⁘ Be sure to measure the supply voltage before connecting the power cord Into the power outlet.
Perform a trial run to make sure that the air conditioner operates properly.
- Press the COOL button (in summer) or HEAT button (in winter) of the remote controller.
- Press the ROOM TEMPERATURE button to set the temperature to 16°C for cooling mode or 30°C for heating mode. Set the fan speed to ”
” (HI). - Operate the air conditioner for at least 20 minutes and make sure that the air from the air conditioner is cool or warm.
- Press the STOP button on the remote controller to make sure that the air conditioner stops running.
- If the indicators of the indoor unit blink during the trial run, perform a check following the procedures below.
| Indicator Blinking Mode | What to check |
| All indicators blink once repeatedly (208-230V model). | Make sure that the voltage of the power outlet is correct according to the product specification. |
| All indicators blink twice repeatedly. | Make sure that the connecting cord is connected correctly and securely. |
- To reset the power supply by switching the circuit breaker OFF, and ON only after
- waiting for at least 5 minutes; or
- pressing the temporary switch button only once while the power is OFF.
3. Operation Test
( Operation Test)
- Please ensure that the air conditioner is in normal operating condition during the operation test.
- Explain to your customer the proper operation procedures as described in the user’s manual.






































