![]()
_____________
Roku TV
4756 series
Quick Start Guide
Register your product:
www.philips.com/my-tv
- Early access to exclusive offers and more!
- Keep track of your product warranty coverage
- Get easy access to product support

Scan to call
Call us:
1-833-978-3323
To obtain assistance, contact Philips customer care center, In the U.S.A., Canada, Puerto Rico, or the U.S. Virgin Islands.
User Manual:
www.philips.com/support
For a detailed manual, please visit our support page and enter your TV model number to download.
Chat with us:
https://tinyurl.com/y2e29xsq
What’s in the box

TV TV remote with batteries Quick start guide

ST4 x 0.787R (20 mm) Screws TV stands
1 What you need (not included)

- Phillips screw driver

- Wireless router
(needed to connect your TV to the Internet)

- Internet connection
(needed for streaming)

- Computer, tablet, or smartphone
(needed for setup)
• Roku account (needed to access entertainment across thousands of streaming channels)
For additional support, please see online owners manual at www.philips.com/support
Key things to know: A paid subscription or other payments may be required for some streaming channel content.
Channel availability is subject to change and varies by country.
2 Mount base onto TV

If you plan to wall mount your TV, refer to “Wall mount bracket kit” in “Important safety Instructions” page of this Quick start guide for recommended wall mount bracket kit.
3-1 Connections

- AV input jack
Use only included AV IN adapter to connect an external device to this unit. When connecting a VCR, the image may be distorted due to copyright protection. - Digital audio (S/PDIF) output
High quality audio connection with optical (TOSLINK) cable.
Conned sound bars or home theater system.
Note: Use an optical (TOSLINK) to coaxial (RCA) adapter (not included) for devices which only have a coaxial input. - Headphone 3.5 mm stereo jack
- HDMI input jacks
High quality audio and video connection.
Conned Blu-ray Disc or DVD player / Cable, satellite or fly box / Gaming console, etc.HDMI3 is available as HDMI-ARC. It outputs TV audio to an HDMI-ARC compliant device, such as sound bars or home theater system. - 75 ohm cable/Antenna/Satellite box connection
- USB port
Connect a USB flash drive for playing photos, music and movies and Live TV pause. See the Roku website for supported file formats.
https://go.roku.com/rokumediaplayer
A USB drive (16GB or larger) is required for the Live TV pause feature.
Caution
Disconnect the AC power cord before connecting devices.
3-2 Controls
1 Press to turn the TV on/select connected device
Press and hold to tum the TV off
2 Remote control sensor
3 Press and hold about 10 seconds for factory reset.
Front Rear
* Power button is located at the bottom side of the TV
Caution
A factory reset clears the majority of data from your Roku TV and resets it to a factory default state. After you complete a factory reset, you might need to set up and configure your Roku TV again including Guided Setup and activation process, sign in to streaming channels, perform a television channel scan and configure parental control settings.
4 Using the remote
How to install the batteries in the remote
Open the battery cover by firmly sliding down. Insert 2 AAA (1.5 V) batteries matching the polarity indicated inside battery compartment of the remote.


[Remote control sensor]

1 Power
Turn TV on and off
2 Back
Return to previous screen
3 OK
Select an option from a menu
4 Instant replay
Replay the last few seconds of streaming video
5 RWD scan
Rewind streaming video, scroll left one page at a time
6 Home
Return to Roku Home screen
7 Directional keypad (D-Pad)
Move up or down; The left arrow will bring up the antenna TV channel list or Smart Guide.
The left and right arrow are used for Live TV Pause to select scenes.
8 Sleep
Set the sleep timer
9 Options
Access to picture settings, move streaming channel icons and more
10 FWD scan
Fast forward streaming video, scroll right one page at a time. This button is also used to fast forward paused live TV using Live TV Pause.
11 Play / Pause
Start or pause playback. This button is also used to activate and use the Live TV Pause feature when a 16GB USB drive is attached to the TV.
12 Featured channel shortcut
Lets you directly access featured channels
13 Volume / Mute
Increase / Decrease volume and mutes the TV sound
* The
gives you easy access to picture settings, display options and more. Try it on every screen.
5 Plug in and turn on TV
Connect the AC power cord to the AC outlet. Press the power button on the N’s remote control
6 Follow the on-screen instructions

1. Once your Roku TV powers on, follow the on-screen instructions. Your Roku TV will walk you through initial setup and help connect to your preferred wireless network.
2. Your TV will automatically detect wireless networks in your area. Have your network name and password handy and follow the easy on-screen instructions.
If you are not ready to connect your TV to a wireless network, you can still use it as a regular TV by selecting “Connect to the Internet later”.
3. Once connected your TV will automatically update with the latest software. This can take a few minutes to update.
Once you complete guided setup, your TV will automatically update with the latest software. Your new Philips Roku TV automatically receives regular software updates in the background when its connected to the Internet. This allows it to give you a better experience over time.
7 Activate your smart TV
You need a Roku account to activate your Roku TV and to access entertainment across thousands of streaming channels.
Your Roku account
Follow the on-screen instructions on your Roku TV. You will need to activate your Roku TV using your smartphone, tablet, or computer to link to a Roku account. See more information below.
- Roku accounts are free, and while a valid credit card number is not required to create your account, providing your credit card information makes renting and purchasing entertainment from the Roku Channel Store fast and convenient.
- If you choose to provide a payment method, you will be able to seamlessly rent content download channels and subscribe to services without having to enter your credit card information each time.
- A unique PIN can be added to the account to prevent unauthorized purchases.
Tip
Roku does not charge for activation support – beware of scams.
Caution
Funai Corporation, Inc does not warrant access to the portal or to any of the services, content software and advertising. Funai Corporation, Inc. may, in its sole discretion, add or remove access to any specific services, content software and advertising at any time. Although Funai Corporation, Inc. will strive to provide a good selection of services, content or software, Funai Corporation, Inc. does not warrant continued access to any specific services, and content or software.
8 Connect antenna or cable (optional)
With the tuner built-in you can conned your TV to antenna or cable (free cable only, does not work with cable TV using a set-top box) and enjoy over-the-air entertainment.

1. When the setup wizard is complete, select the Live TV tile from the home screen.
2. Follow the on-screen instructions.
3. Whenever you want to watch local broadcast TV, select this tile.
- User interface may vary.
Tip
While in the live TV input you can use your remote to access additional features.
- D-Pad left: Pressing this key brings up the smart guide, a list of antenna TV channels.
- Play/Pause: Pause live TV for up to 90 minutes when a 16 GB USB drive is connected.
- RWD scan and FWD scan: Allows you to fast forward and rewind while using the Live TV pause feature.
- D-Pad left and right: Allows you to scroll through the paused Live TV and select scenes.
- Live TV Pause can pause content received on the antenna TV input for up to 90 minutes and requires a 16 GB or larger USB drive and a valid Roku account. All data on the USB drive will be deleted prior to use.
70-32PFL4-QSGZ6
Philips and the Philips Shield Emblem are registered trademarks of Koninklijke Philips N.V. and are used under license.
Roku, Roku TV, the Roku logo, and the purple d-pad design are trademarks of Roku, Inc. All other trademarks and logos herein are the property of their respective owners.

Important safety instructions
Know these safety symbols
![]() | CAUTION | ![]() |
| RISK OF ELECTRIC SHOCK DO NOT OPEN | ||
| CAUTION: TO REDUCE THE RISK OF ELECTRIC SHOCK, DO NOT REMOVE COVER (OR BACK). NO USER-SERVICEABLE PARTS ARE INSIDE. REFER SERVICING TO QUALIFIED SERVICE PERSONNEL | ||
The caution marking is located on the rear or bottom of the cabinet.
The lightning flash with arrowhead symbol, within an equilateral triangle, is intended to alert the user to the presence of uninsulated “dangerous voltage” within the apparatus’s enclosure that may be of sufficient magnitude to constitute a risk of electric shock to persons. |
The exclamation point within an equilateral triangle is intended to alert the user to the presence of important operating and maintenance (servicing) instructions in the literature accompanying the apparatus. |
The symbol for CLASS II or double insulated electrical apparatus.
This apparatus has been designed in such a way that it does not require a safety connection to electrical earth.
WARNING:
To reduce the risk of fire or electric shock, do not expose this apparatus to rain or moisture. Apparatus shall not be exposed to dripping or splashing and no objects filled with liquids, such as vases, shall be placed on the apparatus.
CAUTION:
To prevent electric shock, match wide blade of plug to wide slot, fully insert.
PHILIPS For fastest support visit us online for chat and self service solutions at www.philips.com/support
CHILD SAFETY:
PROPER TELEVISION PLACEMENT MATTERS
THE CONSUMER ELECTRONICS INDUSTRY CARES
- Manufacturers, retailers and the rest of the consumer electronics industry are committed to making home entertainment safe and enjoyable.
- As you enjoy your television, please note that all televisions – new and old- must be supported on proper stands or installed according to the manufacturer’s recommendations. Televisions that are inappropriately situated on dressers, bookcases, shelves, desks, speakers, chests, carts, etc, may fall over, resulting in injury.
TUNE IN TO SAFETY
- ALWAYS follow the manufacturer’s recommendations for the safe installation of your television.
- ALWAYS read and follow all instructions for proper use of your television.
- NEVER allow children to climb on or play on the television or the furniture on which the television is placed.
- NEVER place the television on furniture that can easily be used as steps, such as a chest of drawers.
- ALWAYS install the television where it cannot be pushed, pulled over or knocked down.
- ALWAYS route cords and cables connected to the television so that they cannot be tripped over, pulled or grabbed.
WALL OR CEILING MOUNT YOUR TELEVISION
- ALWAYS contact your retailer about professional installation if you have any doubts about your ability to safely mount your television.
- ALWAYS use a mount that has been recommended by the television manufacturer and has a safety certification by an independent laboratory (such as UL, CSA, ETL).
- ALWAYS follow all instructions supplied by the television and mount manufacturers.
- ALWAYS make sure that the wall or ceiling where you are mounting the television is appropriate. Some mounts are not designed to be mounted to walls and ceilings with steel studs or cinder block construction. If you are unsure, contact a professional installer.
- Televisions can be heavy. A minimum of two people is required for a wall or ceiling mount installation.
MOVING AN OLDER TELEVISION TO A NEW PLACE IN YOUR HOME
- Many new television buyers move their older CRT televisions into a secondary room after the purchase of a flat-panel television. Special care should be made in the placement of older CRT televisions.
- ALWAYS place your older CRT television on furniture that is sturdy and appropriate for its size and weight.
- NEVER place your older CRT television on a dresser where children may be tempted to use the drawers to climb.
- ALWAYS make sure your older CRT television does not hang over the edge of your furniture.
Consumer Technology
Association™
- Read these instructions.
- Keep these instructions.
- Heed all warnings.
- Follow all instructions.
- Do not use this apparatus near water.
- Clean only with dry cloth.
- Do not block any ventilation openings. Install in accordance with the manufacturer’s instructions.
- Do not install near any heat sources such as radiators, heat registers, stoves, or other apparatus (including amplifiers) that produce heat.
- Do not defeat the safety purpose of the polarized or grounding-type plug. A polarized plug has two blades with one wider than the other. A grounding type plug has two blades and a third grounding prong. The wide blade or the third prong are provided for your safety. If the provided plug does not fit into your outlet, consult an electrician for replacement of the obsolete outlet.
- Protect the power cord from being walked on or pinched particularly at plugs, convenience receptacles, and the point where they exit from the apparatus.
- Only use attachments / accessories specified by the manufacturer.
Use only with the cart, stand, tripod, bracket, or table specified by the manufacturer, or sold with the apparatus. When a cart is used, use caution when moving the cart / apparatus combination to avoid injury from tip-over.- Unplug this apparatus during lightning storms or when unused for long periods of time.
- Refer all servicing to qualified service personnel. Servicing is required when the apparatus has been damaged in any way, such as power-supply cord or plug is damaged, liquid has been spilled or objects have fallen into the apparatus, the apparatus has been exposed to rain or moisture, does not operate normally, or has been dropped.
Note to the CATV system installer:
This reminder is provided to call the CAN system installer’s attention to Article 820 of the NEC, ANSI/NFPA 70 and Section 54 of the CEC, Part I that provides guidelines for proper grounding and, in particular, specifies that the cable ground shall be connected to the grounding system of the building, as close to the point of cable entry as practical.
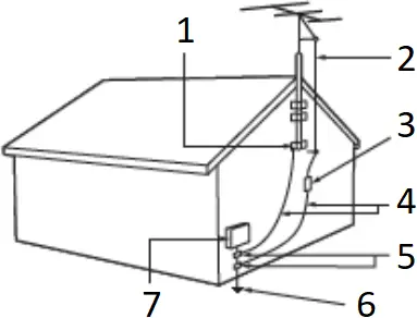
Example of antenna grounding as per NEC – National Electric Code

- GROUND CLAMP
- ANTENNA LEAD IN WIRE
- ANTENNA DISCHARGE UNIT
(NEC SECTION 810-20) - GROUNDING CONDUCTORS
(NEC SECTION 810-21) - GROUND CLAMPS
- POWER SERVICE GROUNDING ELECTRODE SYSTEM (NEC ART 250, PART H)
- ELECTRIC SERVICE EQUIPMENT
If an outside antenna or cable system is connected to the product, be sure the antenna or cable system is grounded so as to provide some protection against voltage surges and built-up static charges. Article 810 of the NEC, ANSI/NFPA 70 and Section 54 of CEC, Part I provides information with respect to proper grounding of the mast and supporting structure, grounding of the lead in wire to an antenna-discharge unit, size of grounding conductors, location of antenna discharge unit, connection to grounding electrodes, and requirements for the grounding electrode.
Wall mount bracket kit
Brand | Model # | Screw dimension | |
| 32PFL4756/F6 32PFL4756/F7 | SANUS | AST16 | M4 x 1.378 ” (35 mm) |
- Your TV meets the VESA standard for wall mounting. Consult with your local dealer for a wall mount bracket which is compatible with your TV model.
- The recommended wall mount bracket kit (sold separately) allows the mounting of the TV on the wall.
- For detailed information on installing the wall mount, refer to the wall mount instruction book.
- Funai Corporation is not responsible for any damage to the product or injury to yourself or others if you elect to install the TV wall mount bracket or mount the TV onto the bracket on your own.
- The wall mount bracket must be installed by experts.
Funai Corporation is not liable for any accidents or injuries incurred while installing this product, including but not limited to those noted below:
- Install the wall mount bracket on a sturdy vertical wall.
- If installed onto a ceiling or slanted wall, the TV and wall mount bracket may fall which could result in a severe injury.
- Do not use screws that are longer or shorter than their specified length. If screws too long are used this may cause mechanical or electrical damage inside the TV set. If screws too short are used this may cause the TV set to fall.
- Do not fasten the screws by excessive force. This may damage the product or cause the product to fall, leading to an injury.
- For safety reasons use 2 people to mount the TV onto a wall mounting bracket.
- Do not mount the TV onto the wall mounting bracket while your TV is plugged in or turned on It may result in an electrical shock injury.
When installing the unit on the wall, allow this much space.
Top: 11.8″ (30 cm)
Left and right side: 5.9″ (15 cm)
Bottom: 3.9″ (10 cm)
Notice
Trademarks are the property of Koninklijke Philips N.V. or their respective owners. Funai Corporation reserves the right to change products at any time without being obliged to adjust earlier supplies accordingly.
The material in document is believed adequate for the intended use of the system. If the product or its individual modules or procedures are used for purposes other than those specified herein, confirmation of their validity and suitability must be obtained.
Funai Corporation warrants that the material itself does not infringe any United States patents.
No further warranty is expressed or implied.
Funai Corporation cannot be held responsible neither for any errors in the content of document nor for any problems as a result of the content in document. Errors reported to Funai Corporation will be adapted and published on the Funai Corporation support website as soon as possible.
Pixel characteristics
This LCD product has a high number of color pixels. Although it has effective pixels of 99.999 % or more, black dots or bright points of light (red, green or blue) may appear constantly on the screen. This is a structural property of the display (within common industry standards) and is not a malfunction.
Warranty
No components are user serviceable. Do not open or remove covers to the inside of the product. Repairs may only be done by service centers and official repair shops. Failure to do so shall void any warranty, stated or implied. Any operation expressly prohibited in document, any adjustments or assembly procedures not recommended or authorized in document shall void the warranty.
Federal communications commission notice
This equipment has been tested and found to comply with the limits for a Class B digital device, pursuant to part 15 of the FCC Rules.
These limits are designed to provide reasonable protection against harmful interference in a residential installation. This equipment generates, uses and can radiate radio frequency energy and, if not installed and used in accordance with the instructions, may cause harmful interference to radio communications. However, there is no guarantee that interference will not occur in a particular installation.
If this equipment does cause harmful interference to radio or television reception, which can be determined by turning the equipment off and on, the user is encouraged to try to correct the interference by one or more of the following measures:
- Reorient or relocate the receiving antenna.
- Increase the separation between the equipment and the receiver.
- Connect the equipment into an outlet on a circuit different from that to which the receiver is connected.
- Consult the dealer or an experienced radio or television technician for help.
This device complies with part 15 of the FCC rules. Operation is subject to the following two conditions: (1)This device may not cause harmful interference, and (2)This device must accept interference received, including interference that may cause undesired operation.
Declaration of conformity
Trade name: PHILIPS
Responsible party: Funai Corporation, Inc
Model: 32PLF4756/F6, 32PFL4756/F7
Address: 12489 Lakeland Road, Santa Fe Springs, CA 90670, USA
Telephone number: 1 833 978 3323
Modifications
This apparatus may generate or use radio frequency energy. Changes or modifications to this apparatus may cause harmful interference.
Any modifications to the apparatus must be approved by Funai Corporation. The user could lose the authority to operate this apparatus if an unauthorized change or modification is made.
Cables
Connections to this device must be made with shielded cables with metallic RFI / EMI connector hoods to maintain compliance with FCC rules and regulations.
Canadian notice
CAN ICES-3(B) / NMB-3(B)
Analog and digital television receiving apparatus, Canada BETS-7/NTMR-7.
The following FCC/IC RSS applies to the wireless LAN adapter included in this product.
FCC caution: Any changes or modifications not expressly approved by the party responsible for compliance could void the users authority to operate this equipment.
This transmitter must not be co-located or operated in conjunction with any other antenna or transmitter.
FCC/IC RF Exposure Compliance
This equipment complies with FCC/IC radiation exposure limits set forth for an uncontrolled environment and meets the FCC radio frequency (RF) Exposure Guidelines and RSS-102 of the IC radio frequency (RF) Exposure rules. This equipment should be installed and operated keeping the radiator at least 20 cm or more away from your body.
This device complies with Part 15 of FCC Rules and Industry Canada licence-exempt RSS standard(s). Operation is subject to the following two conditions: (1) this device may not cause interference and (2) this device must accept any interference, including interference that may cause undesired operation of this device.
5150-5250 MHz band is restricted to indoor operations only.
High-power radars are allocated as primary users (i.e.priority users) of the bands 5250-5350 MHz and 5650-5850 MHz and that these radars could cause interference and/or damage to LE-LAN devices.
Compliance with FCC requirement 15.407(c) and IC requirement RSS-210 A9.4.4
Data transmission is always initiated by software, which is the passed down through the MAC, through the digital and analog baseband, and finally to the RF chip. Several special packets are initiated by the MAC. These are the only ways the digital baseband portion will turn on the RF transmitter, which it then turns off at the end of the packet. Therefore, the transmitter will be on only while one of the aforementioned packets is being transmitted. In other words, this device automatically discontinue transmission in case of either absence of information to transmit or operational failure.
Positioning the TV

- Large screen TVs are heavy. 2 people are required to carry and handle a large screen TV.
- Make sure to hold the upper and bottom frames of the unit firmly as illustrated.
- Install the unit in a horizontal and stable position.
- Do not install the unit in direct sunlight or in a place subject to dust or strong vibration.
- Depending on the environment, the temperature of this unit may increase slightly. This is not a malfunction.
- When installing this unit in a temperate environment, avoid a place with rapid temperature changes.
- This unit should not be used in a tropical environment as it has not been evaluated under such conditions.
- No objects should be placed directly on or under this unit, especially lighted candles or other flaming objects.
- Depending on your external devices, noise or disturbance of the picture and / or sound may be generated if the unit is placed too close to them. In this case, please ensure enough space between the external devices and the unit.
- Do not insert the AC power cord into the power socket outlet before all the connections are made.
- Ensure that you always have easy access to the AC power cord and outlet to disconnect the TV from the AC outlet.
- Before you move the TV, disconnect attached cables to prevent damage to connectors, especially the TV tuner.
- Be sure to unplug the AC power plug from the AC outlet before moving or carrying the unit.
- When moving the TV and then setting it down, please be careful not to pinch the AC power cord under the unit.
Regulatory notices
WARNING: To prevent injury, this apparatus must be securely attached to the furniture / wall in accordance with the instructions.
Tipping, shaking or rocking the unit may cause injury / death.
Stability Hazard
A television set may fall, causing serious personal injury or death.
Never place a television set in an unstable location. Many injuries, particularly to children, can be avoided by taking simple precautions such as:
– Always use cabinets, stands or mounting instruction recommended by the manufacturer of the television set.
– Always use only furniture that can safety support the television set.
– Always ensure the television set is not overhanging the edge of the supporting furniture.
– Always educate children about the dangers of climbing on furniture to reach the television set or its controls.
– Certainly wire the cords and cables connected to television set that cannot be routed, pulled and pinched.
– Not placing the television set on unstable place.
– Not placing the television set on tall furniture (for example, cupboards or bookcases) without anchoring both the furniture and the television set to a suitable support.
– Not placing the television set on cloth or other materials that may be located between the television set and supporting furniture.
– Not placing anything such as toys or controls that tempts children on a TV or furniture which a TV is placed.
If the existing television set is going to be retained and relocated, the same considerations as above should be applied.
Do not place the unit on the furniture that is capable of being tilted by a child and an adult leaning, pulling, standing or climbing on it A falling unit can cause serious injury or even death. In order to avoid interruption of ventilation, this unit should not be placed in built-in equipment such as a book cabinet, rack, etc, and the vents of this unit should not be covered with anything such as a tablecloth, curtain, newspaper, etc Make sure that there is enough ventilation space (4 inches / 10 cm or more) around this unit.
Press
to turn the unit on and go into standby mode. To completely turn off the unit, you must unplug the AC power plug from the AC power outlet. Disconnect the AC power plug to shut the unit off when trouble is found or not in use. The AC plug shall remain readily available.

- AC power plug
Never use a gas duster on this TV.
The gas trapped inside of this unit may cause ignition and explosion.
Environmental care

The packaging of this product is intended to be recycled.
Contact your local authorities for information about how to recycle the packaging.
For product recycling information, please visit – www.recycle.philips.com
End of life directives
Philips pays a lot of attention to produce environmental-friendly products in green focal areas. Your new TV contains materials which can be recycled and reused. At the end of its life, specialized companies can dismantle the discarded TV to concentrate the reusable materials and to minimize the amount of materials to be disposed of Please ensure you dispose of your old TV according to local regulations.
Batteries usage
CAUTION: Danger of explosion if battery is incorrectly replaced. Replace only with the same or equivalent type.
WARNING: Batteries (battery pack or battery installed) should not be exposed to excessive heat such as sunshine, fire or the like.
- Do not mix old and new batteries.
- Do not mix alkaline, standard (carbon-zinc) or rechargeable (ni-cad, ni-mh, Li-ion, etc.) batteries.
Disposal of used batteries
The batteries supplied do not contain the heavy metals mercury and cadmium, however in certain localities, disposing batteries with household waste is not permitted. Please ensure you dispose of batteries according to local regulations.

Preparing to move / ship the unit
Please pack the unit properly by following the diagram on the carton (as noted below).
- To avoid damage to the screen, do not pack the stand on the same side as the TV screen, refer to the illustration.
Copyright
All other registered and unregistered trademarks are the property of their respective owners.
The terms HDMI and HDMI High-Definition Multimedia Interface, and the HDMI Logo are trademarks or registered trademarks of HDMI Licensing Administrator, Inc. in the United States and other countries.
Manufactured under license from Dolby Laboratories. Dolby, Dolby Audio, and the double-D symbol are trademarks of Dolby Laboratories Licensing Corporation.
Portions of this software are copyright © The FreeType Project (www.freetype.org).
The American Academy of Pediatrics discourages television viewing for children younger than two years of age.
Some features may require an always-on broadband internet connection, firmware update and / or a minimum bandwidth. Internet services vary by location.
License
Funai Corporation, Inc. hereby offers to deliver, upon request, a copy of the complete corresponding source code for the copy righted open source code packages, on an “AS IS” basis, used in this product for which such offer is requested by the respective licenses. This offer is valid up to three years after the product purchase to anyone in receipt of this information. To obtain source code, please contact Funai Corporation, Inc. You should write to Funai Service Corporation OSS Request, 2425 Spiegel Drive, Groveport, OH 43125, USA. Funai Corporation, Inc. disclaims any and all warranties and representations with respect to such software and related source code including quality, reliability, usability, and accuracy, and further disclaim all express, implied, statutory or otherwise, including without limitation, any implied warranties of title, non-infringement, merchantability, or fitness for a particular purpose. Funai Corporation, Inc. shall not be liable to make any corrections to the open source software or source code or to provide any support or assistance with respect to it. Funai Corporation, Inc. disclaims any and all liability arising out of or in connection with the use of this software and/or source code.
This product has been manufactured by and is sold under the responsibility of Funai Corporation, Inc, and Funai Corporation, Inc is the warrantor in relation to this product.
Limited warranty
LIMITED WARRANTY ONE (1) YEAR
WARRANTY COVERAGE:
This warranty obligation is limited to the terms as set forth below.
WHO IS COVERED:
This product warranty is issued to the original purchaser or the person receiving the product as a gift against defects in materials and workmanship as based on the date of original purchase (“Warranty Period”) from an Authorized Dealer. The original sales receipt showing the product name and the purchase date from an authorized retailer is considered such proof.
WHAT IS COVERED:
This warranty covers new products if a defect in material or workmanship occurs and a valid claim is received within the Warranty Period. At its option, the company will either (1) repair the product at no charge, using new or refurbished replacement parts, or (2) exchange the product with a product that is new or which has been manufactured from new, or serviceable used parts and is at least functionally equivalent or most comparable to the original product in current inventory, or (3) refund the original purchase price of the product.
Replacement products or parts provided under this warranty are covered against defects in materials and workmanship from the date of the replacement or repair for ninety (90) days or for the remaining portion of the original product’s warranty, whichever provides longer coverage for you. When a product or part is exchanged, any replacement item becomes your property and the replaced item becomes company property. When a refund is given, your product becomes company property.
Note: Any product sold and identified as refurbished or renewed carries a ninety (90) day Limited warranty.
Replacement product can only be sent if all warranty requirements are met. Failure to follow all requirements can result in delay.
WHAT IS NOT COVERED – EXCLUSIONS AND LIMITATIONS:
This Limited warranty applies only to new company manufactured products that can be identified by the trademark, trade name, or logo affixed to it This Limited warranty does not apply to any hardware product or any software, even if packaged or sold with the product, as manufacturers, suppliers, or publishers may provide a separate warranty for their own products packaged with the bundled product.
The company is not liable for any damage to or loss of any programs, data, or other information stored on any media contained within the product, or other additional product or part not covered by this warranty. Recovery or reinstallation of programs, data or other information is not covered under this Limited warranty.
This warranty does not apply (a) to damage caused by accident, abuse, misuse, neglect, misapplication, or non-supplied product, (b) to damage caused by service performed by anyone other than company approved Authorized Service Location, (c) to a product or a part that has been modified without written company permission, or (d) if any serial number has been removed or defaced, or (e) product, accessories or consumables sold “AS IS” without warranty of any kind by including refurbished product sold “AS IS” by some retailers.
This Limited warranty does not cover:
- Shipping charges to return defective product.
- Labor charges for installation or setup of the product, adjustment of customer controls on the product, and installation or repair of antenna / signal source systems outside of the product.
- Product repair and / or part replacement because of improper installation or maintenance, connections to improper voltage supply, power line surge, lightning damage, retained images or screen markings resulting from viewing fixed stationary content for extended periods, product cosmetic appearance items due to normal wear and tear, unauthorized repair or other cause not within the control of the company.
- Damage or claims for products not being available for use, or for lost data or lost software.
- Damage from mishandled shipments or transit accidents when returning product.
- A product that requires modification or adaptation to enable it to operate in any country other than the country for which it was designed, manufactured, approved and / or authorized or repair of products damaged by these modifications.
- A product used for commercial or institutional purposes (including but not limited to rental purposes).
- Product lost in shipment and no signature verification receipt can be provided.
- Failure to operate per document.
TO OBTAIN ASSISTANCE…
Contact the customer care center at: 1 833 978 3323
Chat with us in English: https://tinyurl.com/y2e29xsq
REPAIR OR REPLACEMENT AS PROVIDED UNDER THIS WARRANTY 15 THE EXCLUSIVE REMEDY FOR THE CONSUMER, WITH THE ISSUING COMPANY NOT LIABLE FOR ANY INCIDENTAL OR CONSEQUENTIAL DAMAGES FOR BREACH OF ANY EXPRESS OR IMPLIED WARRANTY ON THIS PRODUCT. EXCEPT TO THE EXTENT PROHIBITED BY APPLICABLE LAW, ANY IMPLIED WARRANTY OF MERCHANTABILITY OR FITNESS FOR A PARTICULAR PURPOSE ON THIS PRODUCT IS LIMITED IN DURATION TO THE DURATION OF THIS WARRANTY.
Some states do not allow the exclusions or limitation of incidental or consequential damages, or allow limitations on how long an implied warranty lasts, so the above limitations or exclusions may not apply to you.
This warranty gives you specific legal rights. You may have other rights which vary from state / province to state / province.
Funai Service Corporation
2425 Spiegel Drive, Groveport, OH 43125, USA

Printed in China





Use only with the cart, stand, tripod, bracket, or table specified by the manufacturer, or sold with the apparatus. When a cart is used, use caution when moving the cart / apparatus combination to avoid injury from tip-over.


















