MAYTAG MED4500MW Electric Dryer

instructions
Tools Needed
You can change your door swing from a right-side opening to a left-side opening, if desired. The following instructions are applicable for models with a side-opening door.
Place towel on dryer
Place towel on top of dryer to avoid damaging the surface.
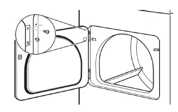
Remove bottom screws
Open dryer door. Remove bottom screws from dryer cabinet side of hinges. Loosen (do not remove) top screws from dryer cabinet side of hinges.
Lift door off top screws
Lift door until top screws in dryer cabinet are in large part of hinge slot. Pull door forward off screws. Set door (handle side up) on top of dryer. Remove top screws from dryer cabinet.
Remove screws from hinges
Remove screws attaching hinges to door.
Remove screws from door
Remove screws at top, bottom, and side of door (4 screws) that hold the inner and outer door together. Holding door over towel on dryer, grasp sides of outer door and lift to separate it from inner door. Set outer door aside.
NOTE: Do not pry apart with putty knife or screwdriver. Do not pull on door seal or plastic door catches.
Switch door catch, bezel, and plug
Remove the door catch, bezel, and plug from the inside of the inner door by squeezing and pulling/pushing them. Place the door catch, bezel, and plug on the sides opposite from where they were.
Rotate outer door
Rotate outer door 180º and set it back down on inner door. Reattach outer door panel to inner door panel so handle is on the side where hinges were just removed. Insert 4 door screws.
Flip door over
Flip door over so handle side is down.
Attach door hinges
Reattach door hinges to dryer door so that the larger hole is at the bottom of the hinge.
Remove door strike and door strike plug
Remove door strike and door strike plug from dryer cabinet. Insert the door strike into door strike plug hole and secure with screw. Insert door strike plug into original door strike hole and secure with screw.
Remove and transfer hinge hole plugs or covers
Use a small, flat-blade screwdriver to gently remove 4 hinge hole plugs or covers on left side of dryer cabinet. Transfer plugs or covers into hinge holes on right side of dryer cabinet.
nsert screws in hinge holes on dryer cabinet
NOTE: Two people may be needed to reinstall door.
Insert screws into the bottom holes on left side of dryer cabinet. Tighten screws halfway. Position door so large end of door hinge slot is over screws. Slide door up so screws are in bottom of slots. Tighten screws. Insert and tighten top screws in hinges.
Check door strike alignment
Close door and check that door strike aligns with door catch. If needed, slide door catch left or right within slot to adjust alignment.
Troubleshooting
See your Owner’s Manual or visit our website and reference Frequently Asked Questions to possibly avoid the cost of a service call.
©2020 All rights reserved. Used under license in Canada. Tous droits réservés. Utilisé sous licence au Canada.
Todos los derechos reservados. Se usa bajo licencia en Canadá.



















