
OPERATOR’S MANUAL
4 VOLT USB LITHIUM POWER CUTTER
FVC51

http://register.ryobitools.com
FVC51 4 Volt USB Lithium Power Cutter
INCLUDES: Power Cutter, USB-A to USB-C cable, operator’s manual
WARNING:
To reduce the risk of injury, the user must read and understand the operator’s manual before using this product.
SAVE THIS MANUAL FOR FUTURE REFERENCE
GENERAL POWER TOOL SAFETY WARNINGS
WARNING:
Read all safety warnings, instructions, illustrations and specifications provided with this power tool. Failure to follow all instructions listed below may result in electric shock, fire and/or serious injury.
Save all warnings and instructions for future reference. The term “power tool” in the warnings refers to your mainsoperated (corded) power tool or battery-operated (cordless) power tool.
WORK AREA SAFETY
- Keep work area clean and well lit. Cluttered or dark areas invite accidents.
- Do not operate power tools in explosive atmospheres, such as in the presence of flammable liquids, gases or dust. Power tools create sparks which may ignite the dust or fumes.
- Keep children and bystanders away while operating a power tool. Distractions can cause you to lose control.
ELECTRICAL SAFETY
- Power tool plugs must match the outlet. Never modify the plug in any way. Do not use any adapter plugs with earthed (grounded) power tools. Unmodified plugs and matching outlets will reduce risk of electric shock.
- Avoid body contact with earthed or grounded surfaces, such as pipes, radiators, ranges and refrigerators. There is an increased risk of electric shock if your body is earthed or grounded.
- Do not expose power tools to rain or wet conditions. Water entering a power tool will increase the risk of electric shock.
- Do not abuse the cord. Never use the cord for carrying, pulling or unplugging the power tool. Keep cord away from heat, oil, sharp edges or moving parts. Damaged or entangled cords increase the risk of electric shock.
- When operating a power tool outdoors, use an extension cord suitable for outdoor use. Use of a cord suitable for outdoor use reduces the risk of electric shock.
- If operating a power tool in a damp location is unavoidable, use a ground fault circuit interrupter (GFCI) protected supply. Use of a GFCI reduces the risk of electric shock.
- Use only UL listed USB sources to charge this device. Use of any non-UL Listed USB sources may create a risk of fire.
PERSONAL SAFETY
- Stay alert, watch what you are doing and use common sense when operating a power tool. Do not use a power tool while you are tired or under the influence of drugs, alcohol or medication. A moment of inattention while operating power tools may result in serious personal injury.
- Use personal protective equipment. Always wear eye protection. Protective equipment such as dust mask, non-skid safety shoes, hard hat, or hearing protection used for appropriate conditions will reduce personal injuries.
- Prevent unintentional starting. Ensure the switch is in the off-position before connecting to power source and/or battery pack, picking up or carrying the tool. Carrying power tools with your finger on the switch or energizing power tools that have the switch on invites accidents.
- Remove any adjusting key or wrench before turning the power tool on. A wrench or a key left attached to a rotating part of the power tool may result in personal injury.
- Do not overreach. Keep proper footing and balance at all times. This enables better control of the power tool in unexpected situations.
- Dress properly. Do not wear loose clothing or jewelry. Keep your hair and clothing away from moving parts. Loose clothes, jewelry or long hair can be caught in moving parts.
- If devices are provided for the connection of dust extraction and collection facilities, ensure these are connected and properly used. Use of dust collection can reduce dust-related hazards.
- Do not let familiarity gained from frequent use of tools allow you to become complacent and ignore tool safety principles. A careless action can cause severe injury within a fraction of a second.
- Do not wear loose clothing or jewelry. Contain long hair. Loose clothes, jewelry, or long hair can be drawn into air vents.
- Do not use on a ladder or unstable support. Stable footing on a solid surface enables better control of the power tool in unexpected situations.
POWER TOOL USE AND CARE
- Do not force the power tool. Use the correct power tool for your application. The correct power tool will do the job better and safer at the rate for which it was designed.
- Do not use the power tool if the switch does not turn it on and off. Any power tool that cannot be controlled with the switch is dangerous and must be repaired.
- Disconnect the plug from the power source and/ or remove the battery pack, if detachable, from the power tool before making any adjustments, changing accessories, or storing power tools. Such preventive safety measures reduce the risk of starting the power tool accidentally.
- Store idle power tools out of the reach of children and do not allow persons unfamiliar with the power tool or these instructions to operate the power tool. Power tools are dangerous in the hands of untrained users.
- Maintain power tools and accessories. Check for misalignment or binding of moving parts, breakage of parts and any other condition that may affect the power tool’s operation. If damaged, have the power tool repaired before use. Many accidents are caused by poorly maintained power tools.
- Keep cutting tools sharp and clean. Properly maintained cutting tools with sharp cutting edges are less likely to bind and are easier to control.
- Use the power tool, accessories and tool bits etc. in accordance with these instructions, taking into account the working conditions and the work to be performed. Use of the power tool for operations different from those intended could result in a hazardous situation.
- Keep handles and grasping surfaces dry, clean and free from oil and grease. Slippery handles and grasping surfaces do not allow for safe handling and control of the tool in unexpected situations.
BATTERY TOOL USE AND CARE
- Recharge only with the charger specified by the manufacturer. A charger that is suitable for one type of battery pack may create a risk of fire when used with another battery pack.
- Use power tools only with specifically designated battery packs. Use of any other battery packs may create a risk of injury and fire.
- When battery pack is not in use, keep it away from other metal objects, like paper clips, coins, keys, nails, screws or other small metal objects, that can make a connection from one terminal to another. Shorting the battery terminals together may cause burns or a fire.
- Under abusive conditions, liquid may be ejected from the battery; avoid contact. If contact accidentally occurs, flush with water. If liquid contacts eyes, additionally seek medical help. Liquid ejected from the battery may cause irritation or burns.
- Do not use a battery pack or tool that is damaged or modified. Damaged or modified batteries may exhibit unpredictable behavior resulting in fire, explosion or risk of injury.
- Do not expose a battery pack or tool to fire or excessive temperature. Exposure to fire or temperature above 265°F may cause explosion.
- Follow all charging instructions and do not charge the battery pack or tool outside the temperature range specified in the instructions. Charging improperly or at temperatures outside the specified range may damage the battery and increase the risk of fire.
SERVICE
- Have your power tool serviced by a qualified repair person using only identical replacement parts. This will ensure that the safety of the power tool is maintained.
- Never service damaged battery packs. Service of battery packs should only be performed by the manufacturer or authorized service providers.
- Hold power tool by insulated gripping surfaces, when performing an operation where the cutting accessory may contact hidden wiring. Cutting accessory contacting a “live” wire may make exposed metal parts of the power tool “live” and could give the operator an electric shock.
- Know your power tool. Read operator’s manual carefully. Learn its applications and limitations, as well as the specific potential hazards related to this power tool. Following this rule will reduce the risk of electric shock, fire, or serious injury.
- Always wear eye protection with side shields marked to comply with ANSI Z87.1. Following this rule will reduce the risk of serious personal injury.
- Protect your lungs. Wear a face or dust mask if the operation is dusty. Following this rule will reduce the risk of serious personal injury.
- Protect your hearing. Wear hearing protection during extended periods of operation. Following this rule will reduce the risk of serious personal injury.
- Battery tools do not have to be plugged into an electrical outlet; therefore, they are always in operating condition. Be aware of possible hazards when not using your battery tool or when changing accessories. Following this rule will reduce the risk of electric shock, fire, or serious personal injury.
- Do not place battery tools or their batteries near fire or heat. This will reduce the risk of explosion and possibly injury.
- Do not crush, drop or damage battery pack. Do not use a battery pack or charger that has been dropped or received a sharp blow. A damaged battery is subject to explosion. Properly dispose of a dropped or damaged battery immediately.
- Batteries can explode in the presence of a source of ignition, such as a pilot light. To reduce the risk of serious personal injury, never use any cordless product in the presence of open flame. An exploded battery can propel debris and chemicals. If exposed, flush with water immediately.
- Do not charge battery tool in a damp or wet location. Following this rule will reduce the risk of electric shock.
- For best results, your battery tool should be charged in a location where the temperature is more than 50°F but less than 94°F. To reduce the risk of serious personal injury, do not store outside or in vehicles.
- Under extreme usage or temperature conditions, battery leakage may occur. If liquid comes in contact with your skin, wash immediately with soap and water. If liquid gets into your eyes, flush them with clean water for at least 10 minutes, then seek immediate medical attention. Following this rule will reduce the risk of serious personal injury.
- Do not attempt to use this tool if the battery cap is not closed and locked.
- Save these instructions. Refer to them frequently and use them to instruct others who may use this tool. If you loan someone this tool, loan them these instructions also.
SYMBOLS
The following signal words and meanings are intended to explain the levels of risk associated with this product.
| SYMBOL | SIGNAL | MEANING |
| DANGER: | Indicates a hazardous situation, which, if not avoided, will result in death or serious injury. | |
| WARNING: | Indicates a hazardous situation, which, if not avoided, could result in death or serious injury. | |
| CAUTION: | Indicates a hazardous situation, that, if not avoided, may result in minor or moderate injury. | |
| NOTICE: | (Without Safety Alert Symbol) Indicates information considered important, but not related to a potential injury (e.g. messages relating to property damage). |
Some of the following symbols may be used on this product. Please study them and learn their meaning. Proper interpretation of these symbols will allow you to operate the product better and safer.
| SYMBOL | NAME | DESIGNATION/EXPLANATION |
| Safety Alert | Indicates a potential personal injury hazard. | |
| Read Operator’s Manual | To reduce the risk of injury, user must read and understand operator’s manual before using this product. | |
| Eye Protection | Always wear eye protection with side shields marked to comply with ANSI Z87.1. Breathing protection may also be required depending on the type of attachment used and as prescribed elsewhere in this Operator’s Manual. | |
| Wet Conditions Alert | Do not expose to rain or use in damp locations. | |
| Recycle Symbol | This product uses lithium-ion (Li-ion) batteries. Local, state or federal laws may prohibit disposal of batteries in ordinary trash. Consult your local waste authority for information regarding available recycling and/or disposal options. | |
| V | Volts | Voltage |
| min | Minutes | Time |
| Direct Current | Type or a characteristic of current | |
| n | Rated Speed | Rotational speed |
| …/min. | Per Minute | Revolutions, strokes, surface speed, orbits etc., per minute |
FEATURES
PRODUCT SPECIFICATIONS
Rated Speed ………………………………………..270 /min (RPM)
Cutting Capacity……………………………………………….. 1/4 in.
ASSEMBLY
WARNING:
Do not use this product if it is not completely assembled or if any parts appear to be missing or damaged. Use of a product that is not properly and completely assembled or with damaged or missing parts could result in serious personal injury.
WARNING:
Do not attempt to modify this product or create accessories or attachments not recommended for use with this product. Any such alteration or modification is misuse and could result in a hazardous condition leading to possible serious personal injury.
If any parts are damaged or missing, please call 1-800-525-2579 for assistance.
OPERATION
WARNING:
Do not allow familiarity with this product to make you careless. Remember that a careless fraction of a second is sufficient to inflict serious injury.
WARNING:
Always remove battery pack from the tool when you are assembling parts, making adjustments, changing accessories, cleaning, or when not in use. Removing battery pack will prevent accidental starting that could cause serious personal injury.
WARNING:
Always wear eye protection with side shields marked to comply with ANSI Z87.1. Breathing protection may also be required depending on the type of attachment used and as prescribed elsewhere in this Operator’s Manual. Failure to do so could result in objects being thrown into your eyes and other possible serious injuries.
WARNING:
Do not use any attachments or accessories not recommended by the manufacturer of this product. The use of attachments or accessories not recommended can result in serious personal injury.
APPLICATIONS
You may use this product for the purposes listed below:
- Cutting cardboard, carpet, rubber, leathers, plastics, and “clamshell” type product packaging, paper/vinyl and more
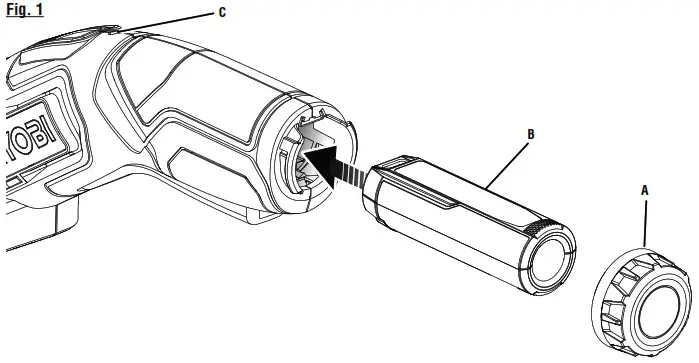
INSTALLING/REMOVING BATTERY PACK
See Figure 1, page 9.
To install:
- Unscrew and remove the battery cap.
- Insert the battery pack into the product as shown.
- Place the cap over the battery pack and push down until the cap meets the threads at the end of the tool. Screw the cap on securely.
NOTE: Do not attempt to use this product if the battery cap is not securely closed.
To remove:
- Unscrew and remove the battery cap.
- Remove the battery pack from the tool.
LED LIGHT FUNCTIONS
See Figure 1, page 9.
When a charged battery pack is installed in the tool, the LED light will indicate the status of the battery when the tool is powered on.
| BATTERY STATUS | LED LIGHT SCENARIO |
| Charged | Solid Green |
| Low Battery (5- 25%) | Solid Red |
| Low Battery (0- 5%) | Flashing Red (3 Flashes) |
| Overload Protection | Flashing Red (6 Flashes) |
| High Temperature Protection | Flashing Red (9 Flashes) |
OVERLOAD PROTECTION
When the tool is forced or the motor is overloaded, the tool will automatically shut off. To reset the tool, wait 5 seconds before depressing the switch trigger and lock out button to resume operation. If the tool still does not resume operation, remove and reinsert the battery. Do not force the tool.
HIGH TEMPERATURE PROTECTION
This tool is equipped with a high temperature protection feature that automatically deactivates the tool when it is overheated. To resume operation, allow the tool to cool and then turn the tool on.
STARTING AND STOPPING
See Figure 2, page 10.
- Grasp the handle with either your left or right hand.
- The switch trigger and the lock out button must be depressed simultaneously to begin blade movement.
WARNING:
Do not place your hand near the blades. Placement of your hand or fingers in this area could result in a shear point injury.
- To stop blade movement, release the trigger.
CUTTING TIPS
- Do not force the tool through dense material. This can cause the blades to dull and slow down. If the blades slows down, reduce the pace.
- Only cut materials up to 1/4 in. thickness listed under applications.
OPERATING THE POWER CUTTER
See Figure 3, page 10.
Learning to use the power cutter:
- Hold the tool in your hand and get used to its weight, balance, and the taper of the housing.
- Practice on scrap materials first to see how the tool operates. Keep in mind that the work is done by the speed of the tool. You should not lean on or push the tool into the work.
To make a cut, pass the tool through the work as you would a pair of scissors. For most work, a gentle touch is best; you will have greater control, make fewer errors, and get the most efficient work out of the tool.
For the best control in close work, grip the tool with an overhand grip.
To operate the power cutter:
- Hold the tool in front and away from you.
- Turn on the tool and let the motor build up to full speed.
- Ease the tool into the workpiece.
- Move the tool continuously at a steady, consistent pace.
- Use just enough pressure to keep the tool moving forward.
NOTE: Heavy pressure will decrease the tool’s speed and put a strain on the motor. The weight of the tool alone is adequate for most jobs. - Lift the tool away from the workpiece before turning off the tool.
MAINTENANCE
WARNING:
When servicing, use only identical replacement parts. Use of any other parts could create a hazard or cause product damage.
GENERAL MAINTENANCE
Avoid using solvents when cleaning plastic parts. Most plastics are susceptible to damage from various types of commercial solvents and may be damaged by their use. Use clean cloths to remove dirt, dust, oil, grease, etc.
REPLACING THE CUTTING BLADE
See Figure 4, page 10.
When cutting blade becomes worn and dull, the cuts can become jagged and uneven. Replace the blade to restore cutting precision. Always wear gloves when handling the blade.
- Remove the battery pack.
- To lock the blade, install a nail (not included) into the hole in the blade as shown.
- Remove the screw in the center of the blade using a flat head screwdriver (not included).
- Remove the nail from the blade.
- Turn the tool over and the blade will fall loose from the two centering pins.
- Carefully turn the tool back and the blade will fall out and into your gloved hand.
- Dispose of the old blade.
- Place the new blade onto the spindle and align the slot in the blade with the two centering pins.
- Reinstall the screw and tighten securely.
NOTE: To lock the blade, install a nail (not included) into the hole in the blade as shown.
NOTE: ILLUSTRATIONS START ON PAGE 9 AFTER FRENCH AND SPANISH LANGUAGE SECTIONS.

| A – Lock out button B – LED indicator C – Battery cap | D – Trigger E – USB-A to USB-C F – Handle |

A – Battery cap
B – Battery pack
C – LED indicator

A – Lock out button
B – Trigger

| A – Nail B – Blade C – Screw | D – Centering pins E – Slot |
NOTES
______________________________________

OPERATOR’S MANUAL/4 VOLT USB LITHIUM POWER CUTTER
To request service, purchase replacement parts,
locate an Authorized Service Center or obtain Customer or Technical Support:
Visit www.ryobitools.com or call 1-800-525-2579
If any parts or accessories are damaged or missing, do not return this product to the store.
Call 1-800-525-2579 for immediate service.
Please obtain your model and serial number from the product data plate.
This product is covered under a 2-year limited Warranty. Proof of purchase is required.
MODEL NUMBER* _______________ SERIAL NUMBER ____________________________
*Model number on product may have additional letters at the end. These letters designate manufacturing information and should be provided when calling for service.
RYOBI is a registered trademark of Ryobi Limited and is used pursuant to a license granted by Ryobi Limited.
TTI CONSUMER POWER TOOLS, INC.
P.O. Box 1288, Anderson, SC 29622 • Phone 1-800-525-2579
États-Unis, Téléphone 1-800-525-2579 • USA, Teléfono 1-800-525-2579
www.ryobitools.com
998000787
11-17-21 (REV:01)


















