Dell D2421DS Monitor User Guide
WHAT IN THE BOX






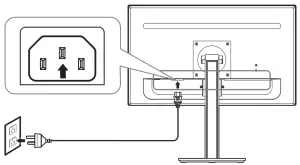
INSTALLATION INSTRUCTION





OVERVIEW

HAS:100mm
Pivot(Clockwise only): 90°
Dell D2421DS Monitor User Guide












HAS:100mm
Pivot(Clockwise only): 90°
Download manual
Here you can download full pdf version of manual, it may contain additional safety instructions, warranty information, FCC rules, etc.