INVENTUM VKI6010ZWA Induction Cooker

safety instructions
- Please read these instructions before operating the appliance and retain for future use.
- The appliance is intended solely for domestic use within the home. The hob is only to be used for the preparation of food. The appliance is not designed for heating rooms.
- WARNING: this appliance and the accessible parts will become hot during use. Do not touch hot parts. Keep children younger than 8 away from the appliance unless they are under continuous supervision.
- This appliance can be used by children aged 8 years and over, as well as by people with reduced physical, sensory or mental capabilities or lack or experience
- and knowledge, provided they are supervised and instructed in the safe use of the appliance and understand the hazards involved.
- Children must not play with the appliance.
- Cleaning and maintenance shall not be made by children.
- Do not keep objects that children might ï¬nd interesting in cupboards above or behind the appliance.
- The cooking zones heat up during use and stay hot for a while afterwards. Keep young children away from the hob during and immediately after cooking.
- The manufacturer cannot be held liable for any damage resulting from failure to follow the safety instructions and warnings.
- Never open the casing of the appliance.
- Do not warm closed tins on the hob. There will be a build-up of pressure that will cause tins to explode. You might get injured or scalded.
- WARNING: danger of ï¬re: never leave anything unsupervised on the hob.
- WARNING: cooking with fat or oil on a hob without supervision can be dangerous and can lead to ï¬re. NEVER try to extinguish a ï¬re with water.
- Instead, switch the appliance off and then cover the flames with for example a lid or a ï¬re blanket.
- The appliance should not be placed or used outdoors.
- Do not use the appliance as a worktop. The appliance may accidentally be switched on or still be hot or catch fire.
- Never cover the appliance with a cloth or something similar. If the appliance is still hot or is switched on, there is a risk of fire.
- Never use a pressure cleaner or steam cleaner to clean the hob.
- Do not use the appliance in temperatures below 5°C.
- When you use the hob for the first time you will notice a “new smell”. Don’t worry, this is normal. If the kitchen is well ventilated, the smell will soon
- disappear.
- WARNING: in case of hotplate glass breakage:
- shut immediately off any electrical heating element and isolate the appliance from the power supply;
- do not touch the appliance surface;
- do not use the appliance.
- The appliance is not intended to be operated by means of an external timer or separate remote control system.
- Do not place metal objects such as knives, forks, spoons and lids on the surface of the hob, they may become hot.
- The ceramic top is extremely strong, but not unbreakable. For example, a spice jar or sharp utensil falling on it could cause it to break.
- WARNING: if the surface is cracked, switch off the appliance to reduce the risk of electric shock.
- Remember that if the hob is used on a high setting the heating time will be very short. Do not leave the hob unattended if you are using a zone on a high
- setting.
- Faulty parts may only be replaced by original parts meet safety requirements.
- Damage caused by incorrect connection or incorrect use is not covered by the warranty.
- If the connecting cable is damaged, it may only be replaced
- by the manufacturer, the manufacturer’s service organisation or equivalently qualified persons, in order to avoid dangerous situations.
- The electrical connection must comply with national and local regulations.
- The wall plug socket and plug should always be accessible.
- The connection cable must hang freely and should not be fed through a drawer.
- The worktop into which the hob is fitted, should be flat.
- The walls and the worktop surrounding the appliance must be heat resistant up to at least 100°C. Even though the appliance itself does not get hot, the heat of
- a hot pan could discolour or deform the wall.
- Legislation requires that all electrical and electronic equipment must be collected for reuse and recycling. Electrical and electronic equipment marked with the
- symbol indicating separate collection of such equipment must be returned to a municipal waste collection point.
appliance description

Hob
- Cooking zone – rear left (Ø 180 mm)
- Cooking zone – front left (Ø 140 mm)
- Control panel
- Cooking zone – front right (Ø 180 mm)
- Cooking zone – rear right (Ø 140 mm)
Control panel
- Key lock
- Timer key
- Heat setting keys + and –
- Display timer
- Boost key
- On/ off key
- Heat setting/ residual heat display
- Cooking zone key
before first use
Before you use the appliance for the first time, please do as follows: Carefully unpack the appliance and remove all the packaging material. Keep the material (plastic bags and cardboard) out of reach of children. Check the appliance after unpacking for any damage, possible from transportation. Clean the glass with a damp cloth. Check that the voltage in your home corresponds with the voltage printed on the bottom of the appliance. Follow the installation instructions in chapter 7 for installing the hob.
operation of the appliance
Use only suitable cookware on the induction hob .
After the mains voltage is applied all displays can light up for a moment. After that, the hob is in stand-by mode and is ready for use.
The hob is controlled with electronic sensors which are operated by touching the related keys. Each sensor activation is followed by a sound signal.
SWITCHING THE APPLIANCE ON
Switch the hob on by touching the ON/OFF key for a few seconds. The displays of the cooking zones all show [0] and the dots blink. If there is no cooking zone selected within 60 seconds, the hob will automatically shut off.
SWITCHING THE APPLIANCE OFF
Switch the hob off at any time by touching the ON/OFF key for a few seconds.
The ON/OFF key always has priority in the switch off function.
SWITCHING ON A COOKING ZONE
Press on the key of the cooking zone you wish to use. The display of the selected cooking zone shows [0].
Place the pan on the cooking zone. Select the heat setting by using the increase heat setting key + or the decrease heat setting key -.
To get food quickly to the boil, select the desired heat setting and touch the P key to activate the Boost function.
BOOST FUNCTION
The Boost function gives extra power and can be activated for one cooking zone at a time. A cooking zone must be selected, the heat setting set on the desired setting and the key (Boost) must be pressed. The Boost function is activated when a P appears in the display of the selected cooking zone.
After 5 minutes the Boost function will automatically switch off and the power will return to the selected heat setting.
The Boost function is being cancelled automatically as soon as another cooking zone is activated. Attention: the Boost function can only be used with one active cooking zone at a time.
In that case the power of the second cooking zone will be decreased automatically. The necessary power reduction is shown by blinking of the corresponding cooking zone display. The display will blink for 3 seconds and during that time further adaptations of the settings are allowed before the power is automatically reduced.
SWITCHING A COOKING ZONE OFF
Select the cooking zone you want to switch off by pressing the corresponding key. Touch the – key to decrease the heat setting to [0]. By pressing the keys + and – simultaneously, the setting turns directly to [0].
If the cooking zone is hot, the displays shows an [H] instead of [0].
SWITCHING OFF ALL COOKING ZONES AT ONCE
To switch off all cooking zones at once, press the ON/OFF key. The displays which are still hot an [H] appears.
18 • English
RESIDUAL HEAT DISPLAY
The residual heat display shows the glass is still too hot to touch around the cooking zone.
After switching off the cooking zone, the corresponding display shows [H]. As soon as the temperature has decreased enough the [H] indication will disappear.
KEY LOCK
The key lock function is for blocking and setting the hob in a save mode during use. Setting a higher heat setting or other alterations are not possible. It is only possible to switch the appliance off.
The key lock is activated when the key lock key is pressed. This activation is confirmed by a sound signal. The display shows [Lo] and the controls are blocked.
TIMER FUNCTION
The timer function can be used in two ways: minute minder timer and cooking zone timer.
Minute minder timer
The minute minder timer is not connected to a cooking zone and can be operated as long as the hob is actively in use. Press the TIMER key when the hob is active. The display shows . Set the desired time with the + and – keys. The range of the minute minder timer is between 0 to 99 minutes. If there are no controls touched in 10 seconds, the minute minder time will be set. The time runs down according to the setting.
When the time is over, a signal sounds and the timer display blinks. The sound signal will stop automatically after 30 seconds or by operating any key.
To change the timer, press the TIMER key
Cooking zone timer
The cooking zone timer is connected to a cooking zone and can be set separately for each cooking zone. In contrast to the minute minder timer the cooking zone timer switches off the cooking zone when the set time runs out.
- Switch on the hob and activate a cooking zone.
- Set the heat setting with the + and – key.
- Press on the TIMER key . The display shows . The timer will now function as a minute minder timer.
- Press the TIMER key again until the corresponding LED blinks to activate the cooking zone timer. The blinking LED
- indicates for which cooking zone, the cooking zone timer is set.
- Set the desired time with the + and – key.
- 10 seconds after the last control touch, the display will show the time of the cooking zone which runs out ï¬rst (in case of programming more than one cooking zone).
To set an extra cooking zone timer, do as follows:
- Activate another cooking zone.
- Set the heat setting with the + and – key.
- Press on the TIMER key . The timer will now function as a minute minder timer.
Press the TIMER key again until the corresponding LED blinks to activate the cooking zone timer. - Set the desired time with the + and – key.
- 10 seconds after the last control touch, the display will show the time of the cooking zone which runs out first (in case of programming more than one cooking zone).
When the selected time has runs down, a signal sounds and the timer display shows “_ _”. The programmed cooking zone will be switched off and [H] appears in the display if the cooking zone is hot.
SOUND SIGNAL
When the hob is in operation, the following activities will be signalled by means of a sound signal:
- normal key activation with a short sound signal
- continuous operation of keys over a longer period of time (10 seconds) with a longer, intermittend sound signal.
DISPLAY INDICATION
| Indication on the display | Description |
| / | An error has occured. Check the notification according to the table in chapter 8. |
| Residual heat indication: the cooking zone is still hot. | |
| Place a pan on the active cooking zone or switch it off. |
MAXIMUM POWER
During cooking the maximum available power of each cooking zone depends on how much cooking is needed at the same time:
| Number of cooking zones in use at the same time | 1 | 2 | 3 | 4 |
| Maximum power | 9 + Boost | 9 / 8 / 9 / 8 | 7 / 7 / 7 / 8 | 7 / 7 / 7 / 7 |
| Cooking zone Ø | each | 140/180/140/180 | 140/180/140/180 | 140/180/140/180 |
SAFETY SWITCH OFF
Each cooking zone will automatically be switched off after a defined maximum operation time if the heat setting is not modified. The maximum operation time depends on the selected temperature level.
| Heat setting | Safety switch off after: |
| 1 – 3 | 8 hours |
| 4 – 6 | 4 hours |
| 7 – 9 | 2 hours |
cookware

- Use thick, flat smooth bottomed cookware that are the same diameter as the cooking zone. This will help reduce cooking times.
- Cookware must be placed centrally on the cooking zone.
- If you use pots made of temperature resistant glass or earthenware, always consider the manufacturer’s instructions.
- When using high radiation (bright metal surface) crockery, or thick bottom dishes for preparing food on the glass ceramic hob, the period of reaching the boiling point may be prolonged for certain time (up to 10 minutes). Consequently, if you need to boil considerable amount of liquid, it is recommended to use the dark, flat bottom pot.
- The cooking zone can be damaged if:
- switched on and left uncovered or with an empty pot on it;
- if you use pots with an inadequate bottom like uneven, rough or too small diameter bottoms;
- never use the earthenware pots as they are very likely to scratch the glass surface.
- Before putting the pot on the hob, thoroughly wipe the bottom of the pot, to prevent heat conduction and to protect the cooking zone.
ENERGY SAVING
- The bottom of the pot should be slightly concave for optimum heat transfer from the cooking zone.
- The bottom of the pot should always suit the size of the cooking zone. If the pot is smaller, it can cause energy loss and if larger, the cooking zone may become damaged.
- Always use a lid to reduce cooking time.
- The pot size should suit the quantity of food. Cooking smaller quantities of food in a large pot results in energy loss.
- Decrease the heat setting when a liquid comes to the boil.
- Minimise the amount of liquid or fat to reduce cooking times.
- Select the correct heat setting for the several cooking options.
cleaning & maintenance
Make sure all the cooking zones are cooled down before cleaning the hob and unplug the appliance before cleaning or maintenance.
- Do not use abrasive pads, corrosive cleaners, aerosol cleaners or sharp objects to clean the surface of the hob which are not intended for this purpose.
- Clean the surface daily with a damp cloth and a mild detergent, such as washing-up liquid. Dry thoroughly with kitchen paper or a clean cloth.
- Spilt food can be removed by soaking the spot with a damp cloth and some washing-up liquid or a special scraper. Attention: the glass scraper has a razor, therefore, it must be kept away from children.
- Use a special cleaner for ceramic/induction hobs for difficult stains. Attention: follow the instructions on the product.
installation instructions
- The safety during use can only be guaranteed when the hob is installed correctly and according to the regulations. The installer is responsible for any damage caused by a faulty installation.
- The appliance falls under protection class I and can only be used in combination with a grounding conductor connection. The manufacturer accepts no responsibility for any malfunction or damage caused by incorrect electrical installations.
- The appliance must be connected to a fixed installation and the means of disconnecting it from the fixed installation must be installed according to the installation instructions.
- The connection cable must hang freely. Do not tie the power cable or pass it along sharp edges. If there is an oven installed below, pass the cable along the rear corners of the oven to the connection box. It must be positioned so that it does not touch any of the hot parts of the hob or the oven.
- The connection point, the wall socket and/or plug must always be accessible.
- The worktop on which the hob is placed should be flat. Follow the instructions of the manufacturer of the worktop.
- Damage caused by incorrect connection, incorrect use or incorrect fitting is not covered by the guarantee.
- Attention: any change to the appliance’s interior and changing the power cable, must only be performed by a qualified electricien.
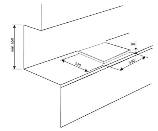
OUTER DIMENSIONS
In the drawing below, all the dimensions are displayed in mm.
Sufficient clearance around the hob is essential for a safe use of the hob. Check that there is sufficient clearance. The minimum distance of the hob to a cooker hood should be at least 650 mm.

ELECTRICAL CONNECTION
Attention: this hob includes a power cord with a plug. The connection is a 1 fase-connection.
- Check that the voltage in your home corresponds with the voltage printed on the bottom of the appliance.
- The earthing of the appliance is compulsory by law.
- Attention: the connection point must always be accessible.
problems & solutions
If there is an error, an error code will be shown at the displays.
| Error code | Cause | Solution |
| E1 | Supply voltage is too high. | Have the installation checked by a qualified electricien. |
| E2 | Supply voltage is too low. | Have the installation checked by a qualified electricien. |
| E3/E4 | The cooking zone is overheated. | Wait for the temperature of the cooking zone to drop and switch it on again. |
| E5/E6 | The hob is overheated. | Switch the appliance off and let the cooking zones cool down. |
| F3/F4 F5/F6 F7/F8 | Induction sensor is defect. | Contact the service department of Inventum. |
| F9/FA FC/FD | Coil temperature sensor is defect. | Contact the service department of Inventum. |
product fiche
| Manufacturer | INVENTUM |
| Model | VKI6010ZWA |
| Type of appliance | induction hob |
| Number of cooking zones | 4 |
| Heating technology | induction |
| Diameter per cooking zone [cm] (front left) | Ø 14 |
| Diameter per cooking zone [cm] (rear left) | Ø 18 |
| Diameter per cooking zone [cm] (rear right) | Ø 14 |
| Diameter per cooking zone [cm] (front right) | Ø 18 |
| Diameter per cooking zone [cm] (middle) | |
| Energy consumption per cooking zone [Wh/kg] (front left) | 191,3 |
| Energy consumption per cooking zone [Wh/kg] (rear left) | 187,7 |
| Energy consumption per cooking zone [Wh/kg] (rear right) | 191,5 |
| Energy consumption per cooking zone [Wh/kg] (front right) | 184,8 |
| Energy consumption per cooking zone [Wh/kg] (middle) | |
| Energy consumption of the appliance [kg] | 188,8 |
| Residual heat indicator | per cooking zone |
| On/ off key | � |
| Power on – indicator | � |
| Timer | � |
| Execution | |
| Material | glass |
| Control | touch keys |
| Displays | LED |
| Technical specifications | |
| Dimensions (wxdxh) in mm | 590 x 520 x 84 |
| Nett weight in kg | 11,3 |
| Power consumption [W] | 3500 |
| Rated voltage [V] / frequency [Hz] | 220-240V |
Remark: on the rating label – which can be found at the bottom of the appliance – you will find the technical specifications of the appliance.



















