PinePhone Pro Smartphone
User Guide
Package contents
- User Manual – Quick Start Guide (x1)
- PinePhone Pro (x1)
- USB-C power cable (x1)
Safety and recycling
2.1 Cautions
Before using the device please read this manual carefully.
Notes for safe operation:
- The PinePhone Pro should be charged using a 15W (5V 3A) USB-PD power adapter. Charging at a higher voltage may result in damage to the device.
- The PinePhone Pro will only operate when its internal temperature is between 5°C and 65°C.
It should never be operated with an external temperature lower than -20°C or higher than 40°C. - Do not puncture, disassemble, strike or squeeze the battery. Old batteries need to be disposed of in accordance with local regulations (see section 2.2).
- Do not expose the device to direct sunlight, water, or high levels of humidity.
- In the event of overheating, power off the PinePhone Pro and let it cool for 15 minutes.
- Comply with local regulations pertaining to using mobile devices. This extends to and includes the use of the device in public spaces when operating motor vehicles and heavy machinery.
2.2 Recycling of components and batteries
Recycling any PinePhone Pro components should be done according to local regulations. This may require you to dispose of the phone or its parts at a local recycling center or at a designated container. Please consult local legislation for details.
Batteries should never, under any circumstances, be disposed of with general household waste. The end user is legally obliged to return used batteries. Batteries can be returned to us to be disposed of. The batteries are to be returned to the sender – for more information contact us at [email protected].
![]()
Getting started

3.1 Back case removal
To remove the back case of the PinePhone Pro, use your fingernail or another soft object to pop up the back case. A notch to easily remove the cover is located at the bottom left of the PinePhone Pro when its back is facing you and its camera is oriented up.
3.2 Initial setup
Your PinePhone Pro arrives with a plastic strip placed between the power connectors and battery. You need to remove it prior to use.
- remove the battery using your fingernail or a prying tool
- remove and dispose of the plastic strip placed between the battery and power connectors
You may insert a SIM card and microSD card into the phone with the back case and battery removed. A microSD card may be used to provide an operating system to the PinePhone Pro, or it may serve as additional storage for an operating system installed internally to eMMC. Do not attempt to remove the microSD or SIM cards with the battery inserted into the device.
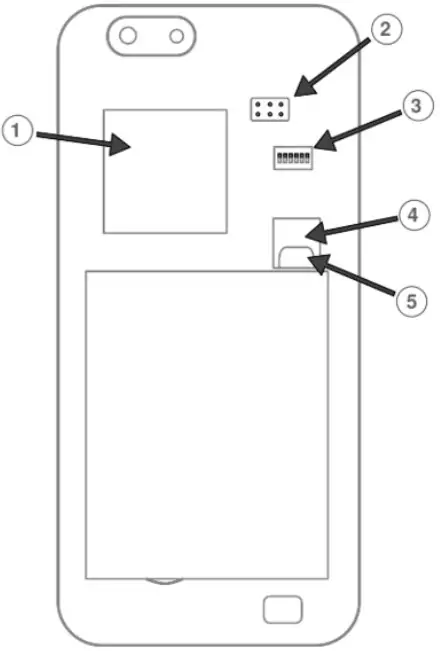
3.3 Privacy switches and pogo pins
Under the cover you find pogo pins and privacy switches labeled 1-6 with their respective functions. Pogo pins use the I2C (two pins) protocol and can be used for accessories and additional functionality.
Privacy switches can be engaged to electrically disable (numbers according to the legend on the device):
- LTE modem + GPS
- WiFi / Bluetooth
- Microphone
- Rear Camera
- Front camera
- Headphones OFF / UART ON switch
Disabling headphones enable UART output via the headphones jack (see the Wiki for details).

- LTE modem,
- pogo pins,
- privacy switches,
- microSD card slot,
- micro-SIM slot
3.4 Operating the PinePhone Pro
The PinePhone Pro is capable of running multiple operating systems (OSes) (see section 4) from internal flash eMMC as well as an SD card. Booting from SD requires eMMC to be void of an OS.
To power the PinePhone Pro ON, press and hold the power button for 2 seconds. Boot-up time varies from one OS to another, but you should permit up to 60 seconds for the phone to fully start. Most OSes have a boot indicator such as a vibration rumble or notification LED flash.
For detailed instructions and to select operating systems please please visit: https://wiki.pine64.org/wiki/PinePhone_Pro

Operating systems
All OSes available for the PinePhone Pro are delivered by community developers and partner projects. PINE64 does not create software for the PinePhone Pro.
The preinstalled operating system is Manjaro with Plasma Mobile by KDE, but you can run any OS available for the PinePhone Pro. Please reference our Software Releases section on Wiki for more details: https://wiki.pine64.org/wiki/PinePhone_Pro#Software_Releases

- Sensors & LED light,
- earpiece speaker,
- selfie cam,
- volume,
- power,
- USB-C,
- microphone
Hardware
5.1 External component description
Device dimensions: 160.8 x 76.6 x 11.1 mm. Device weight: 220 grams.
The PinePhone Pro features a 6″ HD IPS capacitive touchscreen (16M colors; 1440×720, 18:9 ratio). The headphone jack is located on the top leading edge. The top bar above the LCD houses a 5MP, 1/4″ front-facing camera, a multi-color notification LED, a proximity sensor, an ambient light sensor as well as the earpiece speaker. The power button and the volume rocker are located at the right leading edge.
The bottom leading edge houses the USB Type-C port (power, data, and video out in DisplayPort Alternate mode) and microphone. On the back of the device, in the left top corner, a 13MP 1/3″ OIS camera and LED flash are to be found. A loudspeaker is found at the bottom of the device.
5.2 Device hardware specifications
More information, including PCBA hardware revisions and schematics at: https://wiki.pine64.org/wiki/PinePhone_Pro#Components
Key hardware specifications:
- System on Chip: Rockchip RK3399S
- RAM: 4GB LPDDR4
- Storage: 128 eMMC, up to 2TB via microSD, supports SDHC and SDXC, UHS1
- SIM: Micro-SIM
- Communications modem: Quectel EG25-G
● LTE: B2, B4, B5, B7, B12, B13, B41
● WCDMA: B2, B4, B5
● GSM: 850, 1900 (MHz) - WLAN: Wi-Fi 802.11 5GHz AC
- Bluetooth: 4.1, A2DP
- GNSS: GPS/GLONASS/BeiDou/Galileo/QZSS, with A-GPS
5.3 Troubleshooting common issues
- To perform a hard shutdown, hold the power button down for 5 seconds.
- In the event, that one or more components of the PinePhone Pro fail to engage, ensure that the privacy switches (see section 3.2) are in the ON position.
- The battery must be installed for some PinePhone Pro components to function properly.
- If eMMC is corrupted the PinePhone Pro may fail to boot from micro SD.
- Not all OSes support all of PinePhone Pro’s hardware features.
Regulatory compliance
The PinePhone Pro is CE and FCC certified.
The device is fully compliant with the RED directive (2014/53/EU):
- Quectel EG25-G Worldwide LTE, UMTS/HSPA(+) and GSM/GPRS/EDGE
- AMPAK AP6255 WiFi 11ac & Bluetooth V4.1
Documentation and contact information
Detailed hardware and software documentation, including FCC, CE, and RED certifications, can be located on our Wiki (wiki.pine64.org).
Contact
Sale enquires: [email protected]
Support: [email protected]
General inquiries: [email protected]
![]()
FCC Caution: Any changes or modifications not expressly approved by the party responsible for compliance could void the user’s authority to operate this equipment.
This device complies with Part 15 of the FCC Rules. Operation is subject to the following two conditions:
- This device may not cause harmful interference, and
- This device must accept any interference received, including interference that may cause undesired operation.
This Product meets the government’s requirements for exposure to radio waves. The guidelines are based on standards that were developed by independent scientific organizations through periodic and thorough evaluations of scientific studies. The standards include a substantial safety margin designed to assure the safety of all persons regardless of age or health. FCC
RF Exposure Information and Statement the SAR limit of USA (FCC) is1.6 W/kg averaged over one gram of this Device PINEPHONEPRO(FCC ID:
2AWAG-PINEPHONEPRO) has been tested against this SAR limit. SAR information on this can be viewed online at http://www.fcc.gov/oet/ea/fccid/.
Please use the device FCC ID number for the search. This device was tested for typical operations 10mm from the body. To maintain compliance with FCC RF exposure requirements, a 10mm separation distance should be. maintained to the user’s bodies
NOTE:
This equipment has been tested and found to comply with the limits for a Class B digital device, pursuant to Part 15 of the FCC Rules.
These limits are designed to provide reasonable protection against harmful interference in a residential installation. This equipment generates, uses, and can radiate radio frequency energy and, if not installed and used in accordance with the instructions, may cause harmful interference to radio communications.
However, there is no guarantee that interference will not occur in a particular installation.
If this equipment does cause harmful interference to radio or television reception, which can be determined by turning the equipment off and on, the user is encouraged to try to correct the interference by one or more of the following measures:
- Reorient or relocate the receiving antenna.
- Increase the separation between the equipment and receiver.
- Connect the equipment into an outlet on a circuit different from that to which the receiver is connected.
- Consult the dealer or an experienced radio/TV technician for help.
FCC ID: 2AWAG-PINEPHONEPRO



















