
User Guide
Side by Side Refrigerator
LEARN MORE
In an effort to conserve natural resources, this refrigerator includes a condensed User Guide. A complete User Instructions manual for your model can be downloaded at www.whirlpool.com/manuals. The model number is located on the inside wall of the refrigerator compartment. For assistance or service, call 1-800-253-1301 in the U.S.A. or 1-800-807-6777 in Canada.
Register your refrigerator at www.whirlpool.com. In Canada, register at www.whirlpool.ca.
Your safety and the safety of others are very important.
We have provided many important safety messages in this manual and on your appliance. Always read and obey all safety messages.
This is the safety alert symbol.
This symbol alerts you to potential hazards that can kill or hurt you and others.
All safety messages will follow the safety alert symbol and either the word “DANGER” or “WARNING.”
These words mean:
You can be killed or seriously injured if you don’t immediately follow instructions.
You can be killed or seriously injured if you don’t immediately follow instructions.
All safety messages will tell you what the potential hazard is, tell you how to reduce the chance of injury, and tell you what can happen if the instructions are not followed.
IMPORTANT SAFETY INSTRUCTIONS
WARNING: To reduce the risk of fire, electric shock, or injury when using your refrigerator, follow these basic precautions:
- Plug into a grounded 3 prong outlet.
- Do not remove ground prong.
- Do not use an adapter.
- Do not use an extension cord.
- Disconnect power before servicing.
- Replace all parts and panels before operating.
- Remove doors from your old refrigerator.
- Use non-flammable cleaner.
- Keep flammable materials and vapors, such as gasoline, away from refrigerator.
- Use two or more people to move and install refrigerator.
- Disconnect power before installing ice maker (on ice maker kit ready models only).
- Use a sturdy glass when dispensing ice (on some models).
- Do not hit the refrigerator glass doors (on some models).
SAVE THESE INSTRUCTIONS
State of California Proposition 65 Warnings:
WARNING: This product contains one or more chemicals known to the State of California to cause cancer.
WARNING: This product contains one or more chemicals known to the State of California to cause birth defects or other reproductive harm.
PROPER DISPOSAL OF YOUR OLD REFRIGERATOR
| Suffocation Hazard Remove doors from your old refrigerator. Failure to do so can result in death or brain damage. |
IMPORTANT: Child entrapment and suffocation are not problems of the past. Junked or abandoned refrigerators are still dangerous, even if they will sit for “just a few days”. If you are getting rid of your old refrigerator, please follow these instructions to help prevent accidents.
Before You Throw Away Your Old Refrigerator or Freezer:
- Take off the doors.
- Leave the shelves in place so that children may not easily climb inside.
Important information to know about disposal of refrigerants:
Dispose of refrigerator in accordance with Federal and Local regulations. Refrigerants must be evacuated by a licensed, EPA-certified refrigerant technician in accordance with established procedures.
OPERATING YOUR REFRIGERATOR
Using the Controls
The refrigerator and freezer controls are located on the dispenser panel.
IMPORTANT: The display screen on the dispenser control panel will turn off automatically and enter “sleep” mode when the control buttons and dispenser lever have not been used for 2 minutes or more. While in “sleep” mode, the first press of a control button will only reactivate the display screen, without changing any settings.
- Touch any control button on the dispenser panel to activate the display screen. The home screen will appear as shown.

Adjusting the Controls
For your convenience, your refrigerator and freezer controls are preset at the factory. When you first install your refrigerator, make sure that both the refrigerator and freezer controls are still set to the recommended “mid-setting”. This will be indicated with three illuminated bars.
IMPORTANT:
- Wait 24 hours before you put food into the refrigerator. If you add food before the refrigerator has cooled completely, your food may spoil.
NOTE: Adjusting the set points to a colder than recommended setting will not cool the compartments any faster. - If the temperature is too warm or too cold in the refrigerator or freezer, first check the air vents to be sure they are not blocked before adjusting the controls.
- The preset settings should be correct for normal household usage. The controls are set correctly when milk or juice is as cold as you like and when ice cream is firm.
- Wait at least 24 hours between adjustments. Recheck the temperatures before other adjustments are made.
When adjusting set points, use the following chart as a guide:
| Condition: | Adjustment: |
| REFRIGERATOR too cold | REFRIGERATOR Setting one setting lower |
| REFRIGERATOR too warm | REFRIGERATOR Setting one setting higher |
| FREEZER too cold | FREEZER Setting one setting lower |
| FREEZER too warm/ too little ice | FREEZER Setting one setting higher |
The set point range is “1 bar” (least cold) to “5 bars” (coldest).
Refrigerator Control:
- Press REFRIGERATOR TEMP to view the current set point for the refrigerator.

- Press REFRIGERATOR TEMP again to adjust the set point. The settings will increase by 1 bar with each press of the button, returning to 1 bar after reaching 5.
After 2 minutes of inactivity, any changes will be saved and the display will return to the home screen.
Freezer Control:
- Press FREEZER TEMP to view the current set point for the freezer.

- Press FREEZER TEMP again to adjust the set point. The settling will increase by one bar with each press of the button, returning toone bar after reaching five.
After 2 minutes of inactivity, any changes will be saved and the display will return to the home screen.
Crisper Humidity Control
You can control the amount of humidity in the moisture-sealed crisper. Adjust the control to any setting between LOW and HIGH.
LOW (open) for best storage of fruits and vegetables with skins.
HIGH (closed) for best storage of fresh, leafy vegetables.
ICE AND WATER
Water and Ice Dispensers
NOTES:
- The dispensing system will not operate when the freezer door is open.
- Allow 24 hours for the refrigerator to cool down and chill water.
- Allow 24 hours to produce the first batch of ice. Discard the first three batches of ice produced. Wait 72 hours for full ice production.
- The display screen on the dispenser control panel will turn off automatically and enter “sleep” mode when the control buttons and dispenser lever have not been used for 2 minutes or more. While in “sleep” mode, the first press of a control button will only reactivate the display screen, without changing any settings.
Flush the Water System
Air in the water dispensing system can cause the water dispenser to drip. After connecting the refrigerator to a water source or replacing the water filter, flush the water system. Flushing the water dispensing system forces air from the water line and filter and prepares the water filter for use.
NOTE: As air is cleared from the system, water may spurt out of the dispenser.
- Using a sturdy container, depress and hold the water dispenser lever for 5 seconds, then release it for 5 seconds.
- Repeat Step 1 until water begins to flow.
- Once water begins to flow, continue depressing and releasing the dispenser lever (5 seconds on, 5 seconds off) until a total of 3 gal. (12 L) has been dispensed.
Additional flushing may be required in some households.
The Water Dispenser
IMPORTANT:
- Dispense at least 1 qt (1 L) of water every week to maintain a fresh supply.
- If the flow of water from the dispenser decreases, it could be caused by low water pressure.
- With the water filter removed, dispense 1 cup (237 mL) of water. If 1 cup of water is dispensed in 8 seconds or less, the water pressure to the refrigerator meets the minimum requirement.
- If it takes longer than 8 seconds to dispense 1 cup of water, the water pressure to the refrigerator is lower than recommended. See “Water Supply Requirements” (in the User Instructions or the Installation Instructions and Owner’s Manual) or “Troubleshooting” for suggestions.
To Dispense Water:
- Press a sturdy glass against the water dispenser lever. Hold the glass close to the water dispenser spout to ensure that the water dispenses into the glass.
- Remove the glass to stop dispensing.
IMPORTANT: The small tray at the bottom of the dispenser is designed to catch small spills and allow for easy cleaning. There is no drain in the tray.
The Ice Dispenser
Ice dispenses from the ice maker storage bin in the freezer when the dispenser lever is pressed. To turn off the ice maker, see “Ice Maker and Storage Bin.”
Your ice maker can produce both crushed and cubed ice. Before dispensing ice, select which type of ice you prefer by pressing the “Ice Type” button.
The display screen indicates which type of ice is selected.

For crushed ice, cubes are crushed before being dispensed. This may cause a slight delay when dispensing crushed ice. Noise from the ice crusher is normal, and pieces of ice may vary in size. When changing from crushed to cubed, a few ounces of crushed ice will be dispensed along with the first cubes.

| A. Water dispenser lever B. Water dispenser spout | C. Ice dispenser lever D. Ice guide |
To Dispense Ice:
- Make sure the desired type of ice is selected.


Cut Hazard
Use a sturdy glass when dispensing ice.
Failure to do so can result in cuts. - Press a sturdy glass against the dispenser lever. Hold the glass close to the ice guide to ensure that the ice dispenses into the glass.
IMPORTANT: You do not need to apply a lot of pressure to the lever in order to activate the ice dispenser. Pressing hard will not make the ice dispense faster or in greater quantities. - Remove the glass to stop dispensing.
NOTE: Ice may continue to dispense for several seconds after removing the glass from the lever. The dispenser may continue to make noise for a few seconds after dispensing.
The Dispenser Light
When you use the dispenser, the light will automatically turn on.
- if you want the light to be on continuously, press LIGHT.
- Press LIGHT again to turn the dispenser light off.
The dispenser lights are LEDs that cannot be changed. If it appears that your dispenser lights are not working, see “Troubleshooting” for more information.
The Dispenser Lock![]()
The dispenser can be turned off for easy cleaning or to avoid unintentional dispensing by small children and pets.
NOTE: The lock feature does not shut off power to the refrigerator, to the ice maker, or to the dispenser light. It simply deactivates the dispenser lever. To turn off the ice maker, see “Ice Maker and Storage Bin.”
- Press and hold LOCK for 3 seconds to lock the dispenser.
- Press and hold LOCK a second time to unlock the dispenser.
The display screen indicates when the dispenser is locked.
Ice Maker and Storage Bin
- Allow 24 hours to produce the first batch of ice. Discard the first three batches of ice produced.
- The quality of your ice will be only as good as the quality of the water supplied to your ice maker. Avoid connecting the ice maker to a softened water supply. Water softener chemicals (Such as salt) can damage parts of the ice maker and lead to poor quality ice. If a softened water supply cannot be avoided, make sure the water softener is operating properly and is well maintained.
- Do not use anything sharp to break up the ice in the storage bin. This can cause damage to the ice container and the dispenser mechanism.
- Do not store anything on top of or in the ice maker or storage bin.
Turning the Ice Maker On/Off
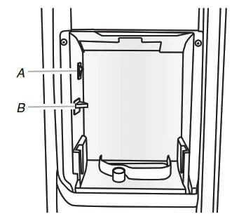
- The On/Off switch, located on the left wall of the freezer door, can only be accessed when the ice storage bin has been removed. See the following section for bin removal instructions.

- To turn on the ice maker, flip the switch to the ON (up) position.
- To manually turn off the ice maker, flip the switch to the OFF (down) position.
NOTE: Your ice maker has an automatic shut-off to keep the storage bin from overfilling during normal operation. As ice is made, the ice cubes will fill the ice storage bin, and the ice cubes will raise the shut-off arm to the OFF (arm up) position. When the storage bin is at full capacity, the ice maker will automatically stop ice production, but the ice maker On/Off switch will remain in the ON (up) position.

Removing and Replacing the Ice Storage Bin
- Press down the release lever and tilt the bucket outward. Use both hands to hold the base of the storage bin, then lift it up and out.
NOTE: It is not necessary to turn the ice maker control to the OFF (right) position when removing the storage bin. The sensor cover (“flipper door”) on the left wall of the freezer stops the ice maker from producing ice if the door is open or the storage bin is removed.
A. On/off switch B. Storage bin sensor - Replace the bin by sliding it onto the door, then tilting it back intoan upright position. The release lever will click when the bin is securely in place.
Water Filtration System
Do not use with water that is microbiologically unsafe or of unknown quality without adequate disinfection before or after the system. Systems certified for cyst reduction may be used on disinfected waters that may contain filterable cysts.
Water Filter Status Light![]()
The filter status light will help you know when to change your Cupp water filter.
- it is recommended that you replace the filter when the status light changes to red OR water flow to your water dispenser or ice maker decreases noticeably.
NOTE: The filter should be replaced at least every six months depending on your water quality and usage.
Resetting the Filter Status - After changing the filter, reset the filter status light by pressing and holding LIGHT and ICE TYPE for 3 seconds.
The status light will turn off when the system is reset.
Changing the Water Filter Style 1

- Locate the water filter cover door in the base grille, and pull open 4. the filter door. The filter will be released and then be ejected as the door is opened.
- When the door is completely open, pull the filter straight out.
NOTE: There may be some water in the filter. Some spilling may occur. Use a towel to wipe up any spills. - Take the new filter out of its packaging and remove the covers from the O-rings. Be sure the O-rings are still in place after the covers are removed.
- With the arrow pointing to the left (toward the filter cover door’s hinge), align the new filter with the filter housing and slide it into place. The filter cover door will automatically begin to close as the new filter is inserted.
- Close the filter cover door completely in order to snap the filter into place. You may need to press hard.
- Flush the water system. See the “Water and Ice Dispensers” section.
Changing the Water Filter Style 2
- Locate the water filter cover door in the base grille, and pull open the filter door.

- Twist the water filter and turn 90° counterclockwise to unlock.

- Pull the filter out of the housing.

- Remove the water filter cap from the water filter.

- Install the water filter cap onto the new filter. Be sure to align the arrows so the grooves in the filter align with the ribs in filter cap.

- Insert the filter into the housing.

- Twist the water filter and turn 90° clockwise until it locks into place and the arrows are aligned.

- Push the my ms door closed.

ACCESSORIES
The following accessories are available for your refrigerator. To order an accessory, Call 1-800-688-9901 and ask for the appropriate part number listed below or contact your authorized Whirlpool dealer. In Canada, call 1-800-807-6777.
affresh® Stainless Steel Cleaner:
Order Part #W10355016
In Canada, order Part #W10355016B
affresh® Stainless Steel Wipes:
Order Part #W10355049
In Canada, order Part #W10355049B
affresh® Kitchen & Appliance Cleaner:
Order Part #W10355010
In Canada, order Part #W10355010B
Water Filter:
Water filtration system style 1 – Order Part # EDR1RXD1
Water filtration system style 2 – Order Part # EDR2RXD1
TROUBLESHOOTING
For recommendations that may help you avoid a service call, visit www.whirlpool.com/product_help.
For a complete Troubleshooting listing with more information about additional topics, see the Installation Instructions and Owner’s Manual provided with your refrigerator, or visit our website and download the User Instructions for your model.
Electrical Shock Hazard Plug into a grounded 3 prong outlet. |
| PROBLEM | Possible Causes and/or Recommended Solutions |
| Refrigerator will not operate | ■ Not connected to an electrical supply – Plug the power cord into a grounded 3 prong outlet. Do not use an extension cord. ■ No power to the electrical outlet – Plug in a lamp to see if the outlet is working. ■ Household fuse has blown or circuit breaker has tripped – Replace the fuse or reset the circuit breaker. If the problem continues, call a licensed electrician. ■ New Installation – Following instillation, allow 24 hours for the refrigerator and freezer to cool completely. NOTE: Adjusting the temperature control(s) to the coldest setting will not cool down either compartment (refrigerator or freezer) more quickly. |
| Refrigerator seems noisy | The compressor in your new refrigerator regulates temperature more efficiently and uses less energy than older models. During various stages of operation, you may hear normal operating sounds that are unfamiliar. The following noises are normal: ■ Buzzing/Clicking – Heard when the water valve opens and closes to dispense water or fill the ice maker. If the refrigerator is connected to a water line, this is normal. If the refrigerator is not connected to a water line, turn off the ice maker. ■ Cracking/Crashing – Heard when the ice is ejected from the ice maker mold. ■ Popping – Heard when the inside walls contract/expand, especially during initial cool down. ■ Pulsating/Whirring – Heard when the fans/compressor adjust to optimize performance during normal operation. ■ Rattling – Heard when water passes through the water line, or due to the flow of refrigerant. Rattling may also come from items placed on top of the refrigerator. ■ Water running or gurgling – Heard when ice melts during the defrost cycle and water runs into the drain pan. ■ Sizzling – Heard when water drips onto the heater during the defrost cycle. |
| Motor seems to run to much | ■ Your new refrigerator has an energy-efficient motor – The refrigerator may run longer than you’re used to, because the compressor and fans operate at lower speeds that are more energy-efficient. This is normal. NOTE: Your refrigerator may run even longer if the room is warm, a large load of food is added, the doors are opened often, or if a door has been left open. |
| Temperature is too warm | ■ New installation – Following installation, allow 24 hours for the refrigerator and freezer to cool down completely. ■ NOTE: Adjusting the temperature control(s) to the coldest setting will not cool either compartment (refrigerator or freezer) more quickly. ■ Doors are opened often or not closed completely – This allows warm air to enter the refrigerator. Minimize door openings, keep the doors fully closed, and make sure both doors are properly sealed. ■ Air vents are blocked – Remove items that are immediately in front of the vents. ■ Large amount of warm food recently added – Allow several hours for the refrigerator to return to its normal temperature. ■ Controls are not set correctly for the surrounding conditions – Adjust the controls to a colder setting. Check the temperature again in 24 hours. |
| Temperature is too cold | ■ Controls are not set correctly for the surrounding conditions – Adjust the controls to a warmer setting. Check the temperature again in 24 hours. ■ Top refrigerator shelf is colder than lower shelves – On some models, air from the freezer enters the refrigerator compartment through vents near the top refrigerator shelf. As a result, the top shelf can be slightly colder than lower shelves. ■ Air vents are blocked – Remove items that are immediately in front of the vents. |
| Interior moisture buildup | NOTE: Some moisture buildup is normal. Clean with a soft dry cloth. Room is humid – A humid environment contributes to moisture buildup. Only use the refrigerator in an indoor location, with as little humidity as possible. ■ Doors are opened often or not closed completely – This allows humid air to enter the refrigerator. Minimize door openings, keep the doors fully closed, and make sure both doors are properly sealed. |
| User interface not responding | ■ User interface is not responding – Wait 10 seconds, then press any key to change the set point. ■ Doors are opened often or not closed completely – To exit Lock mode, press and hold the lock key for 3 seconds |
| WHIRLPOOL® MAJOR APPLIANCE LIMITED WARRANTY | ATTACH YOUR RECEIPT HERE. PROOF OF PURCHASE IS REQUIRED TO OBTAIN WARRANTY SERVICE.Please have the following information available when you call the Customer eXperience Center: • Name, address, and telephone number • Model number and serial number • Aclear, detailed description of the problem • Proof of purchase, including dealer or retailer name and address |
IF YOU NEED SERVICE:
- Before contacting us to arrange service, please determine whether your product requires repair. Some questions can be addressed without service. Please take a few minutes to review the Troubleshooting section of the Use and Care Guide or visit producthelp.whirlpool.com.
- All warranty service is provided exclusively by our authorized Whirlpool Service Providers. In the U.S. and Canada, direct all requests for warranty service to:
Whirlpool Customer eXperience Center
In the U.S.A., call 1-800-253-1301. In Canada, call 1-800-807-6777.
If outside the 50 United States or Canada, contact your authorized Whirlpool dealer to determine whether another warranty applies.
WHAT IS COVERED
For one year from the date of purchase, when this major appliance is installed, operated, and maintained according to instructions attached to or furnished with the product, Whirlpool Corporation or Whirlpool Canada LP (hereafter “Whirlpool”) will pay for factory specified replacement parts and repair labor to correct defects in materials or workmanship that existed when this major appliance was purchased or, at its sole discretion, replace the product. In the event of product replacement, your appliance will be warranted for the remaining term of the original unit’s warranty period.
YOUR SOLE AND EXCLUSIVE REMEDY UNDER THIS LIMITED WARRANTY SHALL BE PRODUCT REPAIR AS PROVIDED HEREIN. Service must be provided by a Whirlpool designated service company. This limited warranty is valid only in the United States or Canada and applies only when the major appliance is used in the country in which it was purchased. This limited warranty is effective from the date of original consumer purchase. Proof of original purchase date is required to obtain service under this limited warranty.
ONE YEAR LIMITED WARRANTY
WHAT IS NOT COVERED
- Commercial, non-residential, multiple-family use, or use inconsistent with published user, operator, or installation instructions.
- In-home instruction on how to use your product.
- Service to correct improper product maintenance or installation, installation not in accordance with electrical or plumbing codes, or correction of household electrical or plumbing (e.g., house wiring, fuses, or water inlet hoses).
- Consumable parts (e.g., light bulbs, batteries, air or water filters, preservation solutions).
- Defects or damage caused by the use of non-genuine Whirlpool parts or accessories.
- Conversion of products from natural gas or propane gas.
- Damage from accident, misuse, abuse, fire, floods, acts of God, or use with products not approved by Whirlpool.
- Repairs to parts or systems to correct product damage or defects caused by unauthorized service, alteration, or modification of the appliance.
- Cosmetic damage including scratches, dents, chips, and other damage to the appliance finishes unless such damage results from defects in materials and workmanship and is reported to Whirlpool within 30 days.
- Discoloration, rust, or oxidation of surfaces resulting from caustic or corrosive environments including, but not limited to, high salt concentrations, high moisture or humidity, or exposure to chemicals.
- Food or medicine loss due to product failure.
- Pickup or delivery. This product is intended for in-home repair.
- Travel or transportation expenses for service in remote locations where an authorized Whirlpool servicer is not available.
- Removal or reinstallation of inaccessible appliances or built-in fixtures (e.g., trim, decorative panels, flooring, cabinetry, islands, countertops, drywall) that interfere with servicing, removal, or replacement of the product.
- Service or parts for appliances with original model/serial numbers removed, altered, or not easily determined.
The cost of repair or replacement under these excluded circumstances shall be borne by the customer.
DISCLAIMER OF IMPLIED WARRANTIES
IMPLIED WARRANTIES, INCLUDING ANY IMPLIED WARRANTY OF MERCHANTABILITY OR IMPLIED WARRANTY OF FITNESS FOR A PARTICULAR PURPOSE, ARE LIMITED TO ONE YEAR OR THE SHORTEST PERIOD ALLOWED BY LAW. Some states and provinces do not allow limitations on the duration of implied warranties of merchantability or fitness, so this limitation may not apply to you. This warranty gives you specific legal rights, and you also may have other rights that vary from state to state or province to province.
DISCLAIMER OF REPRESENTATIONS OUTSIDE OF WARRANTY
Whirlpool makes no representations about the quality, durability, or need for service or repair of this major appliance other than the representations contained in this warranty. If you want a longer or more comprehensive warranty than the limited warranty that comes with this major appliance, you should ask Whirlpool or your retailer about buying an extended warranty.
LIMITATION OF REMEDIES: EXCLUSION OF INCIDENTAL AND CONSEQUENTIAL DAMAGES
YOUR SOLE AND EXCLUSIVE REMEDY UNDER THIS LIMITED WARRANTY SHALL BE PRODUCT REPAIR AS PROVIDED HEREIN. WHIRLPOOL SHALL NOT BE LIABLE FOR INCIDENTAL OR CONSEQUENTIAL DAMAGES. Some states and provinces do not allow the exclusion or limitation of incidental or consequential damages, so these limitations and exclusions may not apply to you. This warranty gives you specific legal rights, and you also may have other rights that vary from state to state or province to province.




NOTE: It is not necessary to turn the ice maker control to the OFF (right) position when removing the storage bin. The sensor cover (“flipper door”) on the left wall of the freezer stops the ice maker from producing ice if the door is open or the storage bin is removed.
NOTE: There may be some water in the filter. Some spilling may occur. Use a towel to wipe up any spills.
























