lionelo Tulia Safety Gate
Dear Customer!
In case of any questions or comments on the purchased product, please contact us: [email protected]
Before using the product, please read the included user manual carefully.
Producer:
BrandLine Group Sp. z o. o.
ul. A. Kręglewskiego 1, 61-248 Poznań, Poland
IMPORTANT!
READ FOLLOW
INSTRUCTIONS CAREFULLY
AND KEEP FOR FUTURE
REFERENCE
Read the entire Instruction before assembling and installing this product. Warning!
- WARNING – Incorrect installation can be dangerous.
- WARNING – Do not use the safety barrier if any components are damaged or missing.
- WARNING – The safety barrier must not be fitted across windows.
- This safety barrier conforms to EN 1930:2011.
- This safety barrier is for domestic use only.
- This safety barrier is suitable for use with children up to 24 months of age.
- If the safety barrier is used at the top of the stairs, it should not be positioned below the top level.
- If the safety barrier is used at the bottom of the stairs, it should be positioned at the front of the lowest tread possible.
- Safety barrier should be checked regularly to ensure that it is secure and functioning in accordance with these instructions.
- Any additional or replacement parts should only be obtained from the manufacturer or distributor.
- Check that the safety barrier is correctly closed.
- Fixing surfaces must be suitable for the purpose and structurally sound.
- Danger to older children climbing over the safety gate.
- Stop using the gate if the child is capable of climbing it.
- This safety barrier has a manual closing system.
- This safety gate can be fitted to door or stair openings with apertures between 0- 140cm(0-55 inches).
- Mounting only to a flat, stable surface with screws.
Parts List 
- Roll/Safety barrier
- Upper locking bracket
- Lower locking bracket
- Upper locking hook
- Lower locking hook
- Handle
- 4×25 Screw
- Template
- Width memorized button
- Release button of handle
- Rawl plugs
Location
The Retractable Safety Gate can be fitted either inside the opening/stairway (2-1) or on the wall besides the opening / stairway (2-2).
WARNING the position of the safety barrier for stairs depends on the position the child in relation to the stair. When fitting the Retra- ctable Safety Gate at the top of stairs, place the gate at the top floor level, 15cm / 6 inches from the first step (2-3). When fitting the Retractable Safety Gate at the bottom of stairs, place the gate at the lowest stair (2-3). Always make sure that the safety barrier is in the correct position according to the template. Before fixing the Retractable Safety Gate, decide whether it should open left to right or vice versa, and therefore which side will be most suitable for the handle.
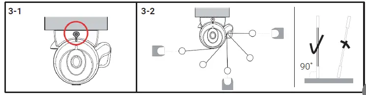
Mesh extension direction 
The mesh part of this gate can be rolled out from any angle, please make sure the position you need before installing. (3-1, 3-2)
Note: Do not use this gate if it cannot be installed to walls,doorframes or posts tightly and flatly.If the gate is not installed vertically,the locking system will be hindered.
Attaching the locking hooks 
To install the locking hooks,first cut the template at the dotted lines as shown,locate the frame/stud and overlay the template on the directly on it. Install the locking hooks to both sides of the wall/door opening.with the screws (G) provided. Use the screw & rawl plugs (G, K) provided if mounting onto a concrete or brick wall. If mounting on any other wall materials, be sure to use an appropriate fixing system. Refer to figure (4-1 A – Locking Hooks B – Locking Brackets). Pull out the gate, see Operating, place and hold one of the hooks (D) in the upper hole in the handle (F), position the hook on to the wall/frame, according to figure (4-2) so that the gate is properly stretched. Mark and, if needed drill holes, mount the hook on the wall /frame with the screws (G). Repeat this procedure for the lower hook, make sure that the gate is properly stretched.
Instructions
Align the markings on the gate to the arrow show on the upper locking bracket. Refer to figure (5-1). And align the lower part of gate to lower locking bracket. Snap the gate in the place until you hear a clicking sound. Refer to figure (5-2 A -lock).
To release the gate from the upper locking bracket,push the latch towards the wall and pull the gate up to release. Refer to figure (5-3 B – unlock).
Operating
The Retractable Safety Gate is easily operated one-handed.
To close the Retractable Safety Gate
- Push down the middle button on I (width memorized button) and pull up button I at the same time. Now the mesh is free to extend.
- You can see the red indicated line,now the mesh is free to set the width you need.
- Pull the gate out.
- Insert the lower bar of handle into lower locking hook
- Push the handle upper part into upper locking hook
- Push down the width memorized button I to fix the mesh width. Now the mesh width is memorized.
To open the gate 
No need to push or pull the “button I”, just follow below steps when open the gate every time:
- Push down the released buttons J on handle both side.
- Take out the gate handle from upper and lower locking hooks.
- The mesh will retract automatically.
Reset the mesh width:
The exclusive “memory” design allows to walk through the gate conveniently. Every time pull the gate out,it will be at the same width.
If need to install this gate at a new place, please follow step 7-1~7-6 to set up the mesh width. Please make sure the red indicated line is invisible after step 7-6.
CARE
- Wipe the surface by a damp cloth or sponge with mild detergent and warm water. Never clean with abrasive, ammonia-based, bleach-based or spirit-type cleaners.
- Any additional and replacement parts should only be obtained from the manufacturer.
The product has been tested and meets all the requirements of the:
EN 1930:2011
The pictures in this manual are for illustrative purposes only. Therefore, they may differ from the actual product.
lionelo Tulia Safety Gate



















