ADA INSTRUMENTS А00622 6D Servoliner Green Line Laser User Manual
HE MANUFACTURE RESERVES THE RIGHT TO MAKE CHANGES (NOT HAVING AN IMPACT ON THE SPECIFICATIONS) TO THE DESIGN, COMPLETE SET WITHOUT GIVING PRIOR WARNING.
APPLICATION
Line laser ADA 6D SERVOLINER / ADA 6D SERVOLINER GREEN is designed to check the horizontal and vertical position of the surfaces of the elements of building structures and also to transfer the angle of inclination of the structural part to similar parts during construction and installation works.
SPECIFICATIONS
| 6D SERVOLINER | 6D SERVOLINER GREEN | |
| Laser beam | 4 lines (H 360º), 4 lines (V 270º), 1 dot (plumb down) | |
| Light sources | 635nm | 520nm |
| 2,< 1 mWt | ||
| ±1mm/10m | ||
| Self-leveling range | ±3° | |
| Working range (with detector) | 20 (70m) | 40 (70m) |
| Rotation/Fine adjustment | 360° | |
| Power supply | Li-battery 12.6V, 2600mAh/8xAA 1,5V/charger | |
| Mounting thread | 5/8″ | |
| Operating temperature | -10°C ~ +40°C | |
| Weight | 1.5 kg | |
| Size | Ø 152×220 mm | |
| Dust / water protection | IP54 | |
FUNCTIONAL DESCRIPTION

- 4 vertical lines (V), 4 horizontal lines (H) (360º), plumb down;
- The line laser is designed for operation indoor and outdoor.
- Electronic compensator for the faster self-leveling ±3º;
- The line laser begins to blink automatically, if the deviation from horizontal plane is more than ±3º;
- Fine adjustment mechanism helps to find the object;
- Compensator blocks automatically, when the power is off. It protects the compensator form vibrations during transportation.
FEATURES

- Vertical laser window
- Keypad
- Horizontal laser window
- Housing
- Serial number plate
- Limb 360º
- Adjustable legs
- Down point laser / mounting thread 5/8’’
- Power indicator
- Battery clip
- Li-on battery / battery compartment
- Fine adjustment switch
- Connector for power unit
KEYPAD

- Horizontal switch (H)
- Power switch On/Off (Power LED)
- Vertical switch (V)
- Detector LED
- Detector mode
- Self-leveling mode
- Self-leveling off LED
OPERATION
- Li-battery or battery adapter AA can be used for operation with line laser. If using a battery adapter AA, install batteries in it. Open the battery compartment cover. Insert the batteries into the battery adapter. Close the battery compartment cover. Install Li-battery / battery adapter AA (11) on the housing of the line laser. To replace the Li-battery / battery adapter press clip (10) and release it from the housing of the line laser.
- To check the power level of the Li-battery use power indicator (9). To do this, press the button with the battery icon. The number of highlighted segments on the indicator shows the power level. It is possible to use charger to operate with the tool. Use charger for rechargeable batteries. Connect the charger to the connector for power switch (13) that is located on the housing of the line laser. Line laser will be ON and charge rechargeable batteries.
WARNING: Never use charger for ordinary batteries. Do not leave the line laser unattended while using charger. Parameters of the charger must correspond to the parameters of domestic electricity. Output voltage must be no more than 12V. - Set up the line laser on the floor or the tripod. When using tripod, screw the tripod screw into the centering hole. Use screw-adapter to set a line laser on the mounts with bases. Level the line laser with the bubble level with the help of adjustable legs (7) or tripod. Press button (2) to switch on the line laser. Press buttons H (1) and V (3) to switch and select vertical and horizontal lines. Switch off the unnecessary lines to save battery power.
Variants of projections:
H button:- 1 horizontal line (sector 120º)
- 2 horizontal lines (sector 180º)
- 4 horizontal lines (sector 360º)
- all horizontal lines are switched off
V button: - one vertical line and plumb down
- two vertical lines and plumb down
- 4 vertical lines and plumb down
- all vertical lines are switched of
- Switch On the line laser. Automatic self leveling begins. LED (7) blinks. When the self-leveling is finished, LED (7) is OFF. If the LED (7) and the laser beam begin to blink, the deviation of the line laser from the horizontal plane is more than ±3º. Laser level can’t be self-leveled. Adjust the line laser with the help of adjustable legs or tripod.
- Rotate the housing of the line laser to aim the vertical beams. Use switch (12) for fine adjustment. Use limb (6) to rotate the housing by the specific angle:
- aim the vertical beam to the selected point.
- rotate the switch (12) to coincide the mark on the housing with the selected rotation angle value on the limb.
MANUAL MODE

- Switch the line laser ON. Auto leveling function is activated. Press button (6) to switch on the auto manual mode. LED indicator (7) will be ON constantly.
- It is possible to set the inclination of the laser beams along the axis X and Y in the range of ±3º.
- Press and hold button H (1) or V(3) to set the tilt angle along the axis X.
- Press button (3) to set the tilt angle along the axis Y. Press and hold button H (1) or V (3) to set the tilt angle along the axis Y.
- Laser lines begin to flash when reaching the full distance position. Press button (6) to exit from the full tilt distance position or switch off the tilt
mode.
TO CHECK THE ACCURACY OF LINE LASER (SLOPE PLANE)

Set up the line laser between two walls, the distance is 5 m. Turn on the Line Laser and mark the point of cross laser line on the wall. Set up the line laser 0,5-0,7m away from the wall and make, as described above, the same masrks. If the difference {a1-b2} and {b1-b2} is less then the value of “accuracy” (see specifications), there is no need in calibration.
Example: when you check the accuracy of Line Laser the difference is {a1-a2}=5 mm and {b1-b2}=7 mm. The instrument’s error: {b1-b2}- {a1-a2}=7-5=2 mm. Now you can compare this error with standard error. If the accuracy of Line Laser isn’t corresponding with claimed accuracy, contact the authorized service center.
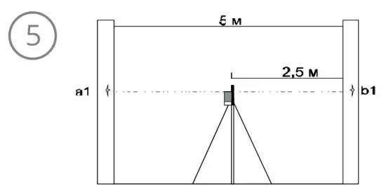
TO CHECK LEVEL
Choose a wall and set laser 5M away from the wall. mark cross point on the wall. Turn the line laser so that the beam is displaced approximately 2.5m to the left. Horizontal line must be in the “accuracy” range (see specif.) at the same height with the cross point. Repeat the same steps, moving the laser level to the right. NOTE: do not displace the rotating axis when checking.
CHECK PLUMB


Choose a wall and set laser 5m away from the wall. Hang a plumb line 2,5 m long. Turn on the laser and aim the vertical laser line to the plumb. The accuracy of the line is in the range, if the vertical line doesn’t exceed (up or down) the half of the value of the accuracy that is shown in the specifications (±3 mm/10 m).
PRODUCT LIFE
Product life of the tool is 7 years. The battery and the tool should never be placed in municipal waste. Date of production, manufacturer’s contact information, country of origin are indicated on the product sticker.
CARE AND CLEANING
Please handle line laser with care. Clean with soft cloth only after any use. If necessary damp cloth with some water. If instrument is wet clean and dry it carefully. Pack it up only if it is perfectly dry. Transport in original container/case only
SPECIFIC REASONS FOR ERRONEOUS MEASURING RESULTS
- Measurements through glass or plastic windows;
- Dirty laser emitting window;
- After line laser has been dropped or hit. Please check the accuracy;
- Large fluctuation of temperature: if instrument will be used in cold areas after it has been stored in warm areas (or the other way round) please wait some minutes before carrying out measurements.
ELECTROMAGNETIC ACCEPTABILITY (EMC)
- It cannot be completely excluded that this instrument will disturb other
- instruments (e.g. navigation systems);
- will be disturbed by other instruments (e.g. intensive electromagnetic radiation nearby industrial facilities or radio transmitters).
LASER CLASS 2 WARNING LABELS ON THE LASER INSTRUMENT

LASER CLASSIFICATION
The instrument is a laser class 2 laser product accortding to DIN IEC 60825- 1:2014. It is allowed to use unit without further safety precautions.
SAFETY INSTRUCTIONS
- Please follow up instructions given in operators’ manual.
- Do not stare into beam. Laser beam can lead to eye injury (even from greater distances).
- Do not aim laser beam at persons or animals. The laser plane should be set up above eye level of persons. Use the instrument for measuring jobs only.
- Do not open instrument housing. Repairs should be carried out by authorized workshops only. Please contact your local dealer.
- Do not remove warning labels or safety instructions.
- Keep instrument away from children.
- Do not use instrument in explosive environment.
WARRANTY
This product is warranted by the manufacturer to the original purchaser to be free from defects in material and workmanship under normal use for a period of two (2) years from the date of purchase. During the warranty period, and upon proof of purchase, the product will be repaired or replaced (with the same or similar model at manufactures option), without charge for either parts of labour.
In case of a defect please contact the dealer where you originally purchased this product. The warranty will not apply to this product if it has been misused, abused or altered. Without limiting the foregoing, leakage of the battery, bending or dropping the unit are presumed to be defects resulting from misuse or abuse.
EXCEPTIONS FROM RESPONSIBILITY
The user of this product is expected to follow the instructions given in operators’ manual. Although all instruments left our warehouse in perfect condition and adjustment the user is expected to carry out periodic checks of the product’s accuracy and general performance.
The manufacturer, or its representatives, assumes no responsibility of results of a faulty or intentional usage or misuse including any direct, indirect, consequential damage, and loss of profits.
The manufacturer, or its representatives, assumes no responsibility for consequential damage, and loss of profits by any disaster (earthquake, storm, flood …), fire, accident, or an act of a third party and/or a usage in other than usual conditions.
The manufacturer, or its representatives, assumes no responsibility for any damage, and loss of profits due to a change of data, loss of data and interruption of business etc., caused by using the product or an unusable product.
The manufacturer, or its representatives, assumes no responsibility for any damage, and loss of profits caused by usage other thsn explained in the users’ manual.
The manufacturer, or its representatives, assumes no responsibility for damage caused by wrong movement or action due to connecting with other products.
DOESN’T EXTEND TO FOLLOWING CASES:
- If the standard or serial product number will be changed, erased, removed or will be unreadable.
- Periodic maintenance, repair or changing parts as a result of their normal runout.
- All adaptations and modifications with the purpose of improvement and expansion of normal sphere of product application, mentioned in the service instruction, without tentative written agreement of the expert provider.
- Service by anyone other than an authorized service center.
- Damage to products or parts caused by misuse, including, without limitation, misapplication or negligence of the terms of service instruction.
- Power supply units, chargers, accessories, wearing parts.
- Products, damaged from mishandling, faulty adjustment, maintenance with low-quality and non-standard materials, presence of any liquids and foreign objects inside the product.
- Acts of God and/or actions of third persons.
- In case of unwarranted repair till the end of warranty period because of damages during the operation of the product, it’s transportation and storing, warranty doesn’t resume.
WARRANTY CARD
Name and model of the product
Serial number
Date of sale
Name of commercial organization
stamp of commercial organization
Warranty period for the instrument explotation is 24 months after the date of original retail purchase.
During this warranty period the owner of the product has the right for free repair of his instrument in case of manufacturing defects. Warranty is valid only with original warranty card, fully and clear filled (stamp or mark of thr seller is obligatory).
Technical examination of instruments for fault identification which is under the warranty, is made only in the authorized service center. In no event shall manufacturer be liable before the client for direct or consequential damages, loss of profit or any other damage which occur in the result of the instrument outage.
The product is received in the state of operability, without any visible damages, in full completeness. It is tested in my presence. I have no complaints to the product quality. I am familiar with the conditions of qarranty service and i agree.
purchaser signature
Before operating you should read service instruction!
If you have any questions about the warranty service and technical support contact seller of this product


















