Electrohome EB30 McKinley 2.0 Stereo Powered Bookshelf Speakers

QUESTIONS?
Give us a chance to help, we’re just a click away
Electrohome.com/resources
Electrohome.com/videos
Electrohome.com/support
Electrohome.com/contact
Scan this QR code in your smartphone camera app to go directly to the support resources for this product.

INTRODUCTION
Since 1907 Electrohome has been developing high fidelity audio products & has been welcomed into homes for generations. One thing that remains the same in our more than 100 year history is our unmatched dedication to design and premium craftsmanship.
Thank you for your purchase of this Electrohome® product.
We hope you enjoy your experience.
BREAK-IN PERIOD
Our speakers have a butyl rubber ring surrounding the cone. The break-in period allows the rubber to loosen and stretch, allowing the cone a larger range of movement, which gives a better sound reproduction. We recommend 10-12 hours of play at moderate volume to achieve this.
WHAT’S INCLUDED

PRODUCT INFORMATION

Remote Control
- Power On/Off
- Volume Up/Down
- Bass Up
- Bass Down
- Mute
- Tap: Play/Pause Hold: Bluetooth Reset
- Previous/Next Track
- Source
- Treble Up
- Treble Down
- Reset EQ
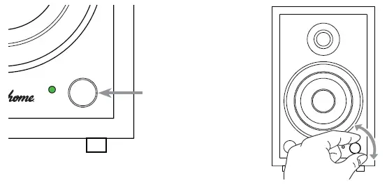
Front & Back Panel - Tweeter
- Woofer
- Control Knob
- LED Indicator
- IR Sensor
- RCA Input
- AUX Input
- Bluetooth Pairing Reset
- Power Input
- Speaker Wire Output
- Speaker Wire Input
LED Indicator
| Color | Meaning |
| Flashing BLUE | Bluetooth Pairing Mode |
| Solid BLUE | Bluetooth Paired |
| Solid GREEN | RCA Source |
| Solid YELLOW | AUX Source |
| Flash RED 2x | Min or Max EQ Setting |
| Solid RED | Standby |
| Flash SOURCE 2x | Mid EQ Setting |
FIRST TIME SETUP
- Position the speakers with the Active Speaker on the right and the Passive Speaker on the left.

NOTE: If placing the speakers in a cabinet or on a shelf, position the front of the speakers as close as possible to the front edge of the shelf for optimum audio performance. - Connect the speaker wire to the spring clips on the back of the Active Speaker and connect the other end of speaker wire to the spring clips on the back of the Passive Speaker.
IMPORTANT: Ensure each wire is connected to the same color binding post on each speaker. Positive (+) to positive (+) and negative (-) to negative (-).
NOTE: The included speaker wire is 8ft. If placing your speakers further than 8ft apart it is recommended to use standard 22 gauge speaker wire to connect the speakers over the longer distance. - Connect the power cable to the back of the Active Speaker and connect the other end to a power outlet.

TURNING ON/OFF UNIT
Press the Control Knob to turn on the unit. Hold to turn off the unit.
Press
on the Remote to turn the unit on/off.
RCA INPUT
- Connect an RCA cable to your source device (Turntable, Smartphone, Computer…).
- Connect the other end of the RCA cable to the back of the Active Speaker.

Note: The included RCA to Aux cable can also be used. - Press the Control Knob to select the RCA input (Green LED).
- Adjust volume on EB30 as well as source device.

IMPORTANT: When connecting a turntable, a phono preamplifier must be used. Preamps are often built into turntables but can also be standalone devices. If your turntable has extremely low volume, a preamp may be needed.
BLUETOOTH® PAIRING
- Press the Control Knob to select the Bluetooth input (Blue LED).

- Pair to “Electrohome EB30” on your source device.

Note: Unit will attempt to auto-pair to the last paired device. - Use the Remote to control playback on your source device
Note: Adjust Volume on the source device as well as the EB30.
- If your device cannot find “Electrohome EB30”, you can reset Bluetooth® pairing:
- Press and hold PAIR for 3 seconds to reset Bluetooth® pairing.
- Press and hold the Bluetooth® Pairing Reset Button on the back of the unit.
Note: How you access your device’s Bluetooth® settings may vary from one manufacturer to another. Maximum line of sight for Power Class 2 Bluetooth® range is
33ft. Obstacles may decrease transmission distance.
AUX INPUT
- Connect the AUX cable to your source device (Smartphone, Computer…).
- Connect the other end of the AUX cable to back of the Active Speaker.

- Press the Control Knob to select the AUX input (Yellow LED).
- Adjust volume on EB30 as well as source device.

FREQUENTLY ASKED QUESTIONS
What is “auto-pairing” and how does it work?
Auto-pairing is a convenient connection feature. If the connected Bluetooth®-enabled device leaves the connection range of the EB30 and returns at a later time, the device will automatically connect. If the device’s Bluetooth® function is disabled and then enabled at a later time, the device will automatically connect as well.
Note: The Electrohome EB30 will only auto-pair to the last device that it was connected to.
How do I change the source on my Electrohome EB30?
Press the Control Knob or use the Source button on the Remote Control. The LED will change to the Source LED color (Blue/Green/Yellow).
Why are my speakers quiet?
Ensure the EQ settings on your source device and app are set to flat. Also ensure Volume Normalization is disabled. If using the EB30 with a turntable, confirm a preamp is enabled or added.
How do I adjust the Bass and Treble on my Electrohome EB30?
Use the Bass and Treble buttons on the Remote Control. The LED will flash as listed below at the minimum, maximum, and middle settings.
| EQ Setting | LED |
| Min (-3) | Flash Red 2x |
| Mid (0) | Flash Blue/Green/Yellow 2x |
| Max (+3) | Flash Red 2x |
SPECIFICATIONS
| Amplifier Power | Class D 30 Watts Continuous Average Output (2 × 15 Watts RMS) |
| Audio Inputs | RCA, Bluetooth 5.0, 3.5mm Aux In |
| Power Input | 120V 60Hz |
| Speaker Weight | Active: 6.08 lbs (2.76 kg) Passive: 5.60 lbs (2.54 kg) |
| Dimensions (H x W x D) | 10.4 x 6.5 x 7.6 inches (26.42 x 16.5 x 19.4 cm) |
IMPORTANT SAFETY INSTRUCTIONS
TO PREVENT FIRE OR SHOCK HAZARD, DO NOT USE THIS PLUG WITH AN EXTENSION CORD, RECEPTACLE OR OTHER OUTLET UNLESS THE BLADES CAN BE FULLY INSERTED TO PREVENT BLADE EXPOSURE. TO PREVENT FIRE OR SHOCK HAZARD, DO NOT EXPOSE THIS APPLIANCE TO RAIN OR MOISTURE.
CAUTION
RISK OF ELECTRIC SHOCK DO NOT OPEN
WARNING: TO REDUCE THE RISK OF ELECTRIC SHOCK DO NOT REMOVE COVER (OR BACK), NO USER-SERVICEABLE PARTS INSIDE REFER SERVICING TO QUALIFIED SERVICE PERSONNEL.
The lightning flash with arrowhead symbol within an equilateral triangle is intended to alert the user to the presence of uninsulated dangerous voltage within the product’s enclosure that may be of sufficient magnitude to constitute a risk of electric shock to persons.
The exclamation point within an equilateral triangle is intended to alert the user to the presence of important operating and maintenance (servicing) instructions in the literature accompanying the appliance.
- Read these instructions.
- Keep these instructions.
- Heed all warnings.
- Follow all instructions.
- Do not use this apparatus near water.
- Clean only with dry cloth.
- Do not block any ventilation openings. Install in accordance with the manufacturer’s instructions.
- Do not install near any heat sources such as radiators, heat registers, stoves, or other apparatus (including amplifiers) that produce heat.
- Do not defeat the safety purpose of the polarized or grounding-type plug. A polarized plug has two blades with one wider than the other. A grounding type plug has two blades and a third grounding prong. The wide blade or the third prong is provided for your safety. If the provided plug does not fit into you outlet, consult an electrician for replacement of the obsolete outlet.
- Protect the power cord from being walked on or pinched particularly at plugs, convenience receptacles, and point where they exit from the apparatus.
- Only use attachments/accessories specified by the manufacturer.
- Use only with the cart, stand, tripod, bracket, or table specified by the manufacturer, or sold with the apparatus. When a cart is used, use caution when moving the cart/apparatus combination to avoid injury from tip-over.
- Unplug this apparatus during lightning storms or when unused for long periods of time.
- Refer all servicing to qualified service personnel. Servicing is required when the apparatus has been damaged in any way, such as power-supply cord or plug is damaged, liquid has been spilled or objects have fallen into the apparatus, the apparatus has been exposed to rain or moisture, does not operate normally, or has been dropped.
- This appliance shall not be exposed to dripping or splashing water and no object filled with liquids such as vases shall be placed on the apparatus.
- Do not overload wall outlet. Use only power source as indicated.
- Use replacement parts as specified by the manufacturer.
- The product may be mounted to a wall only if recommended by the manufacturer.
- Upon completion of any service or repairs to this product, ask the service technician to perform safety checks.
- Correct Disposal of this product. This marking indicates that this product should not be disposed with other household wastes throughout the EU. To prevent possible harm to the environment or human health from uncontrolled waste disposal, recycle it responsibly to promote the sustainable reuse of material resources. To return your used device, please use the return and collection systems or contact the retailer where the product was purchased. They can take this product for environmental safe recycling.
- No naked flame sources, such as lighted candles, should be placed on the apparatus.
- Attention should be drawn to environmental aspects of battery disposal.
- Use of the apparatus in moderate climates.
- WARNING: The appliance coupler is used as disconnect device, the disconnect device shall remain readily operable.
- CAUTION: These servicing instructions are for use by qualified service personnel only. To reduce the risk of electric shock, do not perform any servicing other than that contained in the operating instructions unless you are qualified to do so.
- Do not install this equipment in a confined or building-in space such as a book case or similar unit, and remain a well ventilation condition at open site. The ventilation should not be impeded by covering the ventilation openings with items such as newspaper, table-cloths, curtains etc.
This equipment is a Class II or double-insulated electrical appliance. It has been designed in such a way that it does not require a safety connection to electrical earth.
WARRANTY INFORMATION
Thank you for choosing Electrohome! We guarantee your investment in our products is a solid one. Our products come with a complete one-year parts and labor warranty. High performance components combined with quality craftsmanship allow us to maintain the highest possible production standards. All items are guaranteed against defects in materials and craftsmanship. Electrohome has outstanding quality control; if something should go wrong with any of our products, we will repair it free of charge within the warranty period. If the product cannot be repaired, we will replace the product. In the event that Electrohome replaces a product under warranty, the replacement would only carry the original warranty from the original date of purchase.
Warranty Exclusions
Electrohome products are warrantied for parts and labor for one year from date of original purchase, and are subject to the terms and conditions of the warranty. Any refurbished products that are discontinued hold a 90 day warranty from the date of original purchase. Electrohome warranties are valid for the original owner and are non-transferable.
- Any defects caused or repairs required as a result of abusive operation, negligence, accident, improper installation or inappropriate use as outlined in the owner’s manual.
- Any Electrohome product tampered with, modified, adjusted, or repaired by any party other than Electrohome.
- Any cosmetic damage to the surface or exterior that has been defaced or caused by normal wear and tear.
- Any damage caused by external or environmental conditions, including but not limited to, transmission line/power line voltage or liquid spillage.
- Any product received without an appropriate model and serial number.
- Any products used for rental or commercial purposes.
- Any installation, set up and/or programming charges.
- Defect or damage as a result of connecting a product to an outlet with the incorrect voltage. Voltage converters must be used where applicable.
To Obtain Warranty Service
Should your product require warranty service, please contact us at www.electrohome.com/contact to set up a Return Authorization. Products returned without a valid Return Authorization number will be refused.
Electrohome products must be returned in their original packaging. Our products are packaged specially to protect them from any damage during shipping, and without this packaging the return shipment could get damaged.
This warranty does not cover the shipping cost, insurance, or any other incidental charges. Products shipped for warranty service must be pre-paid by the customer, and Electrohome will cover the cost to ship the repaired or replaced product back to the customer.
FCC STATEMENT
- This device complies with Part 15 of the FCC Rules. Operation is subject to the following two conditions: (1) This device may not cause harmful interference, and (2) This device must accept any interference received, including interference that may cause undesired operation.
- Changes or modifications not expressly approved by the party responsible for compliance could void the user’s authority to operate the equipment.
NOTE: This equipment has been tested and found to comply with the limits for a Class B digital device, pursuant to Part 15 of the FCC Rules. These limits are designed to provide reasonable protection against harmful interference in a residential installation. This equipment generates uses and can radiate radio frequency energy and, if not installed and used in accordance with the instructions, may cause harmful interference to radio communications. However, there is no guarantee that interference will not occur in a particular installation. If this equipment does cause harmful interference to radio or television reception, which can be determined by turning the equipment off and on, the user is encouraged to try to correct the interference by one or more of the following measures:
Reorient or relocate the receiving antenna.
- Increase the separation between the equipment and receiver.
- Connect the equipment into an outlet on a circuit different from that to which the receiver is connected.
- Consult the dealer or an experienced radio/TV technician for help.
- The device must not be co-located or operating in conjunction with any other antenna or transmitter.
Radiation Exposure Statement
This equipment complies with FCC/IC radiation exposure limits set forth for an uncontrolled environment. This equipment should be installed and operated with minimum distance 20cm between the radiator & your body.
IC WARNING
This device complies with Industry Canada’s license-exempt RSSs. Operation is subject to the following two conditions:
(1) This device may not cause interference; and (2) This device must accept any interference, including interference that may cause undesired operation of the device. This class B digital apparatus complies with Canadian ICES-003.

















