
LARSEN D20 Cafe Pendant Opal Lamp
Instruction Manual
8010 8011 8012
Produced in www.dyberglarsen.com
PENDANT

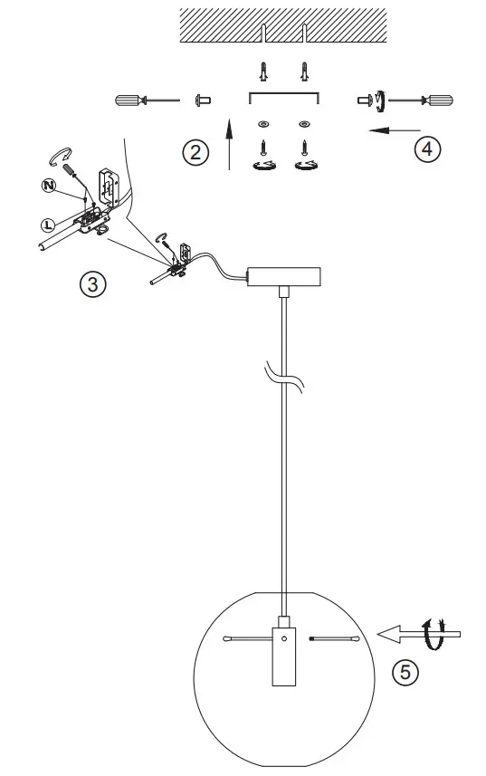
The mouth-blown glasses may have shifted position during the transport of the lamp. It may be necessary to adjust them to get them to fit optimally again. This is done using the tool provided. Loosen the ring at the socket, adjust the glasses and tighten the ring very lightly again.

Material: Metal, glass
Max: 40W E27
IMPORTANT:
- Warning: Always remember to turn off the voltage before working on the electrical installation.
- The lamp might get warm under use.
- To avoid injury on the lamp, please don’t use alkalic detergent. Use a soft cloth and gentle detergent. Always turn the lamp off when cleaning it.
- Omission of cleaning the lamp can have a negative effect on the lifetime. And possible can lead to a dangerous situation.
- Be careful not to tighten the top screws too much, because the glass might break.
Because the glass is mouth blown, there may be differences in the glass thickness and thereby give height difference and unevenness.
Changing the bulb:
- Turn off the power at the head fuse.
- Screw the defect bulb loose.
- Change the bulb (Please only use the recommended type).
- Turn on the power.
230V~50Hz
Contains: Complete lamp. (excl. bulb)
IP20 only for indoor use.

Electrical and electronic equipment (EEE) contains materials, components and substances that can be hazardous and harmful to human health and the environment when waste of electrical and electronic equipment ( WEEE ) is not disposed of properly. Products marked with ” the crossed-out rubbish bin ” shown below are electrical and electronic equipment.
The crossed-out rubbish bin symbolizes that the waste of electrical and electronic equipment may not be disposed of with unsorted household waste but must be collected separately.

















