TianXiang TX-MODEL1 Wireless Remote Switch User Manual
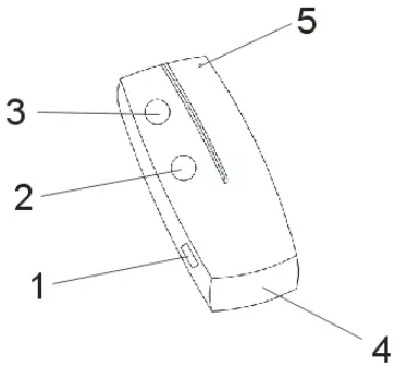
Remote control components

- Power switch
- In function key
- Out function key
- Battery location
- Indicator light
instructions
A. Turn on the power switch 1, the indicator light is always on. B. press the function key 2, the indicator light flashes and the function is normal. C. press the function switch 3, the indicator light flashes and the function is normal. After use, press power switch 1 again to turn off the power. If the remote control is not used for 2 minutes, the system will automatically turn off the power.
The product is used in 2-function high-power driving equipment, such as automobile winch, rolling shutter door, etc.The remote controller uses 433.92MHz frequency to transmit signals, the power supply is powered by DC12V (23a 12V) battery, and the corresponding 433.92MHz receiver receives remote control signals.The remote controller adopts independent coding rules, which can be effectively different from other products and will not produce the same code interference.
Please take attention that changes or modification not expressly approved by the party responsible for compliance could void the user’s authority to operate the equipment.
FCC ID: 2A5AUTX-MODEL1
This device complies with Part 15 of the FCC Rules. Operation is subject to the following two conditions:
- This device may not cause harmful interference, and
- This device must accept any interference received, including interference that may cause undesired operation.


















