iBEAM TE-JEEP-BU-2 Installation

Jeep Wrangler Multi-adjustable bracket
2007-2018* *2018 JK trim level only
Visit iBeamUSA.com for more detailed information about the product and up-to-date vehicle specific applications
INTERFACE FEATURES
- Ability to work with multiple cameras (up to 4)
- CAN-data Controlled Triggers
- Analog triggers also available
KIT COMPONENTS
- A) Camera and wiring (2)
- B) Bracket and push nuts (2)
- C) AX-ADDCAM and harnessing A

TOOLS REQUIRED
- Lug Wrench
- 9/32″ screwdriver
- Cutting tool
- Tape
- Pry tool
Attention! Let the vehicle sit with the key out of the ignition for a few minutes before removing the factory radio. When testing the aftermarket equipment, ensure that all factory equipment is connected before cycling the key to ignition.
CAMERA INSTALLATION
Tire removal and camera Installation
- Remove the spare tire, then run the wire for the camera through the bracket. But DO NOT pop in the camera until installed and visually verified working. Run the wire through the spare tire mount and through the grommet following the factory brake light wiring. (Figures A & B)
- Install the (2) push nuts provided onto the top two spare tire studs to hold the bracket in place without the tire being installed. (Figure C)
- Remove the panel from the tailgate, then run the camera wire into the vehicle, following the factory brake wire loom. (Figure D)
- Once the camera wire is secure and zip tied to the factory wiring, re-install the panel back to the tailgate.
- Route the camera wiring through the vehicle and onto the radio cavity.
Radio removal – Wrangler 2011-up - Unclip and remove the power window switches then remove the (1) 9/32″ screw from underneath. (Figure E)
- Unclip and remove the panel below the steering column.
- Remove (2) 9/32″ screws from the bottom edge of the radio/instrument cluster trim panel on either side of the steering column. (Figure G)
- Remove the pad in the pocket on top center of dash then remove (1) 9/32″ screw underneath. Remove dash panel from around radio and instrument panel. (Figure H)
Radio removal Wrangler – 2007-2010 - Unclip and remove the Lower center trim below A/C controls. (Figure I)
- Remove (2) Phillips screws exposed behind lower center panel. (Figure I)
- Unclip and remover the upper center trim starting towards the rear of the panel. (Figure I)
- Remove (2) Phillips screws exposed behind upper center panel. (Figure I)
- Unclip and remove entire panel surrounding radio and climate controls, including A/C vents.
- Remove (4) 7mm screws securing the radio. (Figure J)

- Connect the power wire from the camera harness to the RED wire on the AX-ADDCAM interface harness abeled “Camera 12V”
NOTE: Make sure when configuring the interface, the “Switched 12V with” option is set to “Camera active”. This will activate that wire when the vehicle is in reverse. (Figure K) - Connect the BLACK wire from the camera harness to chassis ground. (Figure K)
- Connect the YELLOW RCA from the camera harness to Yellow RCA labeled “Camera 1” from the AXADDCAM harness.
- Unplug the radio harnesses, then install the Tharness. Some models-depending on features-may not have a White 22-pin connector. The White 22- pin connector from the T-harness still needs connected to the radio though. (Figure’s L & M)
- Connect the female Yellow RCA from the T-harness labeled “Camera Input” to the male Yellow RCA from the AX-ADDCAM harness labeled” Camera Output”. If any additional cameras are being installed such as a side view or front camera, connect them to the Yellow female RCA jack.

APP CONFIGURATION
- Download and install the Axxess Updater from www.axxessinterfaces.com. Open the app, then select Add-Cam Configuration. (Figure A)
- Select the year and screen size of the vehicle from the drop down menus, then click the Configuration tab at the top. (Figure B)
Note: The Configuration tab will be shown once the vehicle is selected. - Assign the camera inputs as they were wired in the vehicle. (Figure C)
- The trigger assignments should be:
• Reverse.(Multiple cameras can be added) - If the cameras are wired to the red 12V “Camera Power” wire from the AX-ADDCAM: From within the “Other Settings” section, use the drop down menu to change Switched 12V with “Accessory Out”
- Click “Write to Configuration”, then plug the interface into the T-harness.
- These vehicles, since not equipped with a factory backup camera, will require two 5-minutes key cycles for the radio to accept the AX-ADDCAM interface. Programming will be complete after the second 5-minutes key cycle.
- With all the doors of the vehicle shut, wait until the dome light goes out, then cycle the key (or push-to-start button) to the ignition position for 30-seconds.
- Cycle the key (or push-to-start button) off and wait until the dome light goes out, then wait 5-minutes.
- Cycle the key (or push-to-start button) to the ignition position for 30- seconds.
- Cycle the key (or push-to-start button) off and wait until the dome light goes out, then wait 5-minutes.
- Turn the key (or push-to-start button) to the ignition position and test all functions of the installation for proper operation.

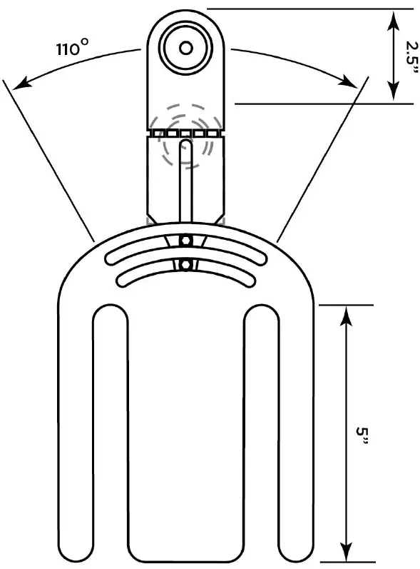
CAMERA AND BRACKET SPECS


KNOWLEDGE IS POWER
Enhance your installation and fabrication skills by enrolling in the most recognized and respected mobile electronics school in our industry. Log onto www.installerinstitute.com or call 800-354-6782 for more information and take steps toward a better tomorrow.
Metra recommends MECP certified technicians



















