FENTON 102.104 RP106 Series Record Player

INSTRUCTIONS
Read the manual prior to using the unit. Follow the instructions in order not to invalidate the warranty. Take all precautions to avoid fire and/or electrical shock. Repairs must only be carried out by a qualified technician in order to avoid electrical shock. Keep the manual for future reference.
- Prior to using the unit, please ask for advice from a specialist. When the unit is switched on for the first time, some smell may occur. This is normal and will disappear after a while.
- The unit contains voltage-carrying parts. Therefore, do NOT open the housing.
- Do not place metal objects or pour liquids into the unit This may cause electrical shock and malfunction.
- Do not place the unit near heat sources such as radiators, etc. Do not place the unit on a vibrating surface. Do not cover the ventilation holes.
- The unit is not suitable for continuous use.
- Be careful with the mains lead and do not damage it. A faulty or damaged mains lead can cause electrical shock and malfunction.
- When unplugging the unit from a mains outlet, always pull the plug, never the lead.
- Do not plug or unplug the unit with wet hands.
- If the plug and/or the mains lead are damaged, they need to be replaced by a qualified technician.
- If the unit is damaged to such an extent that internal parts are visible, do NOT plug the unit into a mains outlet and DO NOT switch the unit on. Contact your dealer. Do NOT connect the unit to a rheostat or dimmer.
- To avoid fire and shock hazard, do not expose the unit to rain and moisture.
- All repairs should be carried out by a qualified technician only.
- Connect the unit to an earthed mains outlet (220-240Vac/50Hz) protected by a 10-16A fuse.
- During a thunderstorm or if the unit will not be used for a longer period of time, unplug it from the mains. The rule is: Unplug it from the mains when not in use.
- If the unit has not been used for a longer period of time, condensation may occur. Let the unit reach room temperature before you switch it on. Never use the unit in humid rooms or outdoors.
- To prevent accidents in companies, you must follow the application guidelines and follow the instructions.
- Do not repeatedly switch the fixture on and off. This shortens the lifetime.
- Keep the unit out of the reach of children. Do not leave the unit unattended.
- Do not use cleaning sprays to clean switches. The residues of these sprays cause deposits of dust and grease. In case of malfunction, always seek advice from a specialist.
- Do not force the controls.
- This unit is with speaker inside which can cause magnetic field. Keep this unit at least 60cm away from computer or TV.
- If this unit have a built-in lead-acid rechargeable battery. Please recharge the battery every 3 months if you are not going to use the unit for a long period of time. Or the battery may be damaged.
- If the battery is damaged, please replace with same specifications battery. And dispose the damaged battery environment friendly.
- If the unit has fallen, always have it checked by a qualified technician before you switch the unit on again.
- Do not use chemicals to clean the unit. They damage the varnish. Only clean the unit with a dry cloth.
- Keep away from electronic equipment that may cause interference.
- Only use original spares for repairs, otherwise serious damage and/or dangerous radiation may occur.
- Switch the unit off prior to unplugging it from the mains and/or other equipment. Unplug all leads and cables prior to moving the unit.
- Make sure that the mains lead cannot be damaged when people walk on it. Check the mains lead before every use for damages and faults!
- The mains voltage is 220-240Vac/50Hz. Check if power outlet match. If you travel, make sure that the mains voltage of the country is suitable for this unit.
- Keep the original packing material so that you can transport the unit in safe conditions.
This mark attracts the attention of the user to high voltages that are present inside the housing and that are of sufficient magnitude to cause a shock hazard.
This mark attracts the attention of the user to important instructions that are contained in the manual and that he should read and adhere to. The unit has been certified CE. It is prohibited to make any changes to the unit. They would invalidate the CE certificate and their guarantee!
NOTE: To make sure that the unit will function normally, it must be used in rooms with a temperature between 5°C/41°F and 35°C/95°F.
OVERVIEW
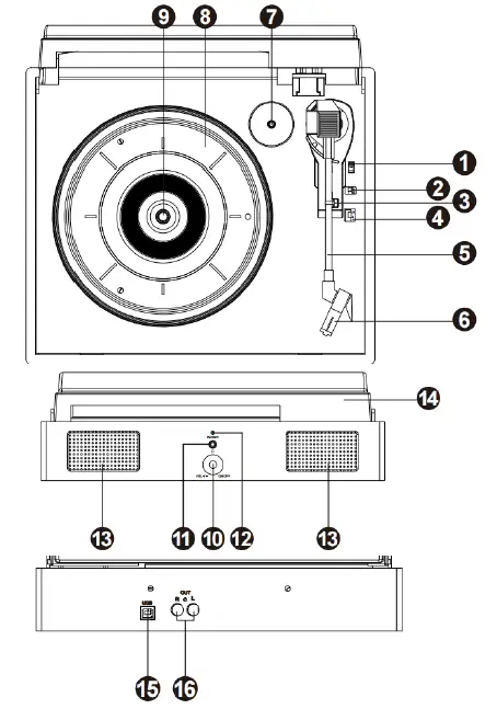
- Tone Arm Lever The fixed tonearm can be unlocked (raised and lowered) by using this lever.
- Auto-stop Switch ON/OFF This switch turns auto stop on or off. When the automatic stop is enabled, the platform will start rotating as soon as the tone arm is placed over the record and will stop rotating when it has reached the end of the record. Some vinyl records stop before the end or do not stop when the end is reached. In this case set Auto-stop to OFF.
- Tone Arm Clip This specially designed arm clip secures the tonearm while at rest or when not in use.
- 33 / 45 RPM Switch This switch controls the PM of the turntable platter.
- Tone Arm
- Cartridge (with needle) When the turntable is not in use, it is recommendable to place the removable protection cover on the stylus.
- 45RPM Adaptor This adaptor allows you to play 45RPM records.
- Platter Place your record here.
- Spindle
- Volume Control Adjust the volume for the internal speakers and headphones.
- Headphones 3.5mm headphone jack connector.
- Power LED Indicator
- Speakers Built-in stereo speakers.
- Dust Cover
- USB port Use the included USB cable to connect your turntable to your computer. The USB connection will send audio signal from the turntable to your computer.
- Line Output The sound signal from the long-playing record is sent to this line output. Connect this signal to the line input of an such as an amplifier or a line input of a CD/DVD player .
OPERATION
- Connect the record player with the power adapter and plug the other end into a wall power outlet.
- Remove white protective needle cover by gently pulling towards the front of the unit.
- Place a vinyl record on the turntable platter and select the desired speed (33/45 RPM) according to the record.
- Open the tone arm clip to release the tone arm. Gently move the tonearm and put the cartridge onto the desired position of the record and the turntable player starts to play.
- Turn the volume control knob clockwise to adjust the volume.
Note: If the AUTO STOP ON/OFF Switch is turned ON, the record will stop automatically when finished. If Auto Stop Control is turned OFF, record will NOT stop automatically when finished.
AUTO STOP function applies to most 33RPM vinyl records. However, for very few vinyl records, it will stop when it did not yet reach the end (in this case, turn the AUTO STOP switch to OFF position and then it will continue playback), or it will not stop when it has reached the end when AUTO STOP is ON.
CONNECTING WITH COMPUTER
Before you connect the turntable to a computer, unplug it from your mixer or Hi-Fi system.
The included software is a third party application and therefore Fenton does not handle any questions or problems regarding the software.
- Turn the computer on
- If the computer is booted, connect the turntable. The computer will now install the drivers.
- After the drivers are installed, you must now install the Audacity software.
Windows users: insert the CD or download the newest software via http://audacity.sourceforge.net MAC users: download the newest software via http://audacity.sourceforge.net
To Install Software (PC)
- Plug in your turntable to an power supply and connect the USB port on the Turntable to the USB port of your computer.
- Turn on the power switch to your turntable.
- The Windows system will detect a new device and indicate that it is available to use.
- Insert the CD that came with your USB turntable.
- Run the file to install the Audacity software. Once installed, run the Audacity program.
To Install Software (MAC)
- Insert the included CD.
- Open the CD icon on the desktop.
- Drag the installation folder for audacity to your hard drive. We recommend that you move the folder to your “Applications” folder.
- A window will come up which shows the files copying.
- EJECT the CD.
- Open “Audacity” from where you moved it to on your hard drive.
SOFTWARE CONFIGURATION
- Click on Microphone in the drop down menu and select “Stereo Mix”.

- Select the “Edit” menu and then “Preferences” Select the USB audio device under the “Recording” selection as shown. Select “Software Playthrough” to hear the audio while recording.

- After the above settings are completed, you are ready for recording. If you are still having difficulties in finding the USB Turntable, try to check your system settings or control panel to adjust the audio input settings from the sound control panel.
Note: The attached Audacity software is for reference only. For more information and latest software version, please check the website: http://www.audacity.com

























