STAGE RIGHT ix4B / ix6B / ix8B Live Sound and Recording Mixer User Manual
SAFETY WARNINGS AND GUIDELINES
Please read this entire manual before using this device, paying extra attention to these safety wamings and guidelines. Please keep this manual in a safe place for future reference.
- This device is intended for indoor use only.
- Do not expose this device to water or moisture of any kind. Do not place drinks or other containers with moisture on or near the device. If moisture does get in or on the device, immediately remove it from its power source and allow it to fully dry before reapplying power.
- Do not touch the device, the power cord, or any other connected cables with wet hands.
- Do not expose this device to excessive vibration, extreme force, shock, or fluctuations in temperature or humidity.
- Do not expose this device to excessively high temperatures. Do not place it in, on, or near a heat source, such as a fireplace, stove, radiator, etc. Do not leave it in direct sunlight.
- Prior to operation, check the unit and power cord for physical damage. Do not use if physical damage has occurred.
- Unplug this device from the power source when not in use.
- Take care to prevent damage to the power cord. Do not allow it to become crimped, pinched, walked on, or become tangled with other cords. Ensure that the power cord does not present a tripping hazard.
- Never unplug the unit by pulling on the power cord. Always grasp the connector head or adapter body.
- Ensure that power is turned off and disconnected before making any electrical connections.
- Clean using a soft, dry cloth only. Do not use chemical cleaners, solvents, or detergents. For stubborn deposits, moisten the cloth with warm water.
- This device has no user serviceable parts. Do not attempt to open, service, or modify this device.
CUSTOMER SERVICE
The Monoprice Customer Service department is dedicated to ensuring that your ordering, purchasing, and delivery experience is second to none. If you have any problem with your order, please give us an opportunity to make it right. You can contact a Monoprice Customer Service representative through the Live Chat link on our website www.monoprice.com or via email at supportemonoprice.com. Check the website for support times and links.
PACKAGE CONTENTS
Please take an inventory of the package contents to ensure you have all the items listed below. If anything is missing or damaged, please contact Monoprice Customer Service for a replacement.
lx Desktop Mixer lx AC Power Adapter lx Bluetooth® Antenna lx USB Cable lx User’s Manual
SAMPLE CONNECTION DIAGRAMS
IX4B

ix6B
ix8B
PRODUCT OVERVIEW
Mono Channels
MICILINE Combination balanced XLR and 1/4″ TRS input connector. The XLR portion is the MK input and the 1/4″ TRS portion is the LINE connector.
PHANTOM +48V: Press the button to enable +4EN phantom power for use with condenser microphones. The LED to the left of the button illuminates when phantom power is in use. Take care not to use phantom power with dynamic microphones or other devices that can be damaged by the application of phantom power.
GAIN: Adjusts the level of the input signal. The setting range for the MK input (XLR) is -10dB – +40d6 and the setting range for the UNE (TRS) input is +10dB – +60dB.
HIGH Adjusts the amount of treble in the signal. The gain range is -15dB – +15dB, with a center frequency of 12kHz.

LOW: Adjusts the amount of bass in the signal. The gain range is -15dB – +15dB, with a center frequency of 80Hz.
EFF: This fader adjusts the level of the built-in delay effect
PEAK: The LED blinks when the input signal is 3dB below clipping.
VOLUME This fader adjusts the final output level of the MAIN outputs.
To prevent noise, the fader should be set to 0 for any unused channel. Ideally, the fader should be set close to 10 for maximum fade control Adjust the GAIN of the input signal so that the VOLUME fader can be set to 10 without clipping.

Stereo/Bluetooth Channel
LEFTAUGHT: Two unbalanced 1/4′ TS line level inputs. The inputs are ganged together to form a stereo pair.

GAN: Adjusts the level of the input signal for the Stereo channel only. The input level of the Bluetoothe channel is determined by the output level of the connected Bluetooth device.
HIGH: Adjusts the amount of treble in the signal. The gain range is -15dB – +15dB, with a center frequency of 12kHz.
LOW: Adjusts the amount of bass in the signal. The gain range is -15dB – +15dB, with a center frequency of 80Hz.
ST/BT: Switch to select the Stereo (LEFT/RIGHT) line level inputs or the built-in Bluetoothe radio. Bluetooth is selected when the button is in the DOWN position and the Stereo input is selected when the button is in the UP position.
PEAK: The LED blinks when the input signal is 3dB below clipping.
VOLUME This fader adjusts the final output level of the MAIN outputs for the Stereo channel only. To prevent noise, the fader should be set to 0 when the channel is unused. Ideally, the fader should be set close to 10 for maximum fade control. Adjust the GAIN of the input signal so that the VOLUME fader can be set to 10 without clipping. For the Bluetooth channel, the VOL control in the Outputs section adjust the final output volume level of the MAIN outputs.
Outputs
REC Two unbalanced RCA outputs for connecting a recording device. The signal on this output is identical to the MAIN output signal.
PHONES: Unbalanced 1/4″ TRS stereo output for use with headphones. The signal on this output is identical to the MAIN output signal.
MAIN A stereo pair of unbalanced 1/4′ TS outputs that serve as the primary mixed output
BAl Adjusts the stereo balance between the left and right MAIN output.
VOL Adjusts the output level of the Bluetoothe radio. Adjust the output level of your Bluetooth device so that you can set this control to 10 for maximum fade control without clipping.
PAIRING BUITOM This unlabeled button is the Bluetoothe Pairing button. Press the button to initiate Bluetooth pairing. The LED inside the button will begin flashing. When pairing is complete, the LED inside the button will illuminate steadily.

CUP: The two CLIP LEDs indicate the clipping status of the left and right channels. The LEDs flash when the output signal is within 3dB of clipping. If the LEDs flash too often or illuminate steadily, reduce the output level. SIG: The two SIG LEDs indicate the presence of a signal on the left and right MAIN output. If the signal level is too low, the LEDs will not illuminate.
POW: The POW LED illuminates when power is applied to the mixer.
MAIN: Adjusts the volume level of the MANN output
PHONES: Adjusts the volume level of the PHONES output
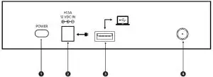
Rear Panel
- POWER: Power switch for turning the mixer on or off.
- 12 VDC lit DC barrel connector for connecting the included AC power adapter.
- USB: USB connector for attaching the mixer to a computer for use as a recording device.
- BT: SMA connector for attaching the included Bluetoothe antenna.
BLUETOOTH PAIRING
This mixer includes a Bluetooth® receiver, which allows you to stream audio from your phone or other mobile device. When active, the Bluetooth radio replaces the Stereo Input channel. Perform the following steps to pair the mixer with your Bluetooth enabled device.
- If you have not already installed it, attach the included Bluetooth antenna to the SMA connector on the rear panel.
- Depress the ST/BT switch to select Bluetooth mode. If your device is already paired, it will connect to the mixer and the mixer will emit a sound through the MAIN and PHONES outputs.
- Press the Pairing Button. The LED inside the button will begin flashing, indicating that the mixer is in Bluetooth Pairing Mode.
- Open the Bluetooth settings on your device and scan for nearby Bluetooth connections.
- 5. Locate and select the 1×48, Ix66, or bceS entry. If prompted for a passcode, enter 0000 (four zeros). 6. Once pairing is complete, the mixer will emit a sound through the MAIN and PHONES outputs and the LED inside the Peking Button will stop flashing and will illuminate steadily.
RECONNECTING
If your device has already been paired with the mixer, momentarily press the PaIrk* Button after the mixer is powered on to reconnect the mixer with your device.
CONNECTORS
This section contains details about how to wire the various connectors used by this mixer.
Balanced XLR Connector
Unbalance 1/4* TS Connector
Balance 1/4* TRS Connector
Insert Send/Return 1/4* TRS Connector

TECHNICAL SUPPORT
Monoprice is pleased to provide free, live, online technical support to assist you with any questions you may have about installation, setup, troubleshooting, or product recommendations. If you ever need assistance with your new product, please come online to talk to one of our friendly and knowledgeable Tech Support Associates. Technical support is available through the online chat button on our website www.monoprice.com or through email by sending a message to [email protected] Check the website for support times and links.
To download the latest drivers, firmware, manuals, etc., go to www.monoprice.com and type the P/N into the search bar. If available, support files are linked at the bottom of the product page.
SPECIFICATIONS
| Model | 625910 (ix4B), 625911 (ix6B), 625912 (ix8B) | |
| Microphone Inputs | ||
| Connector Type | Balanced XLR | |
| Number of Mic/Mono Inputs | 2 (ix4B), 4 (ix6B), 6 (ix8B) | |
| E.I.N. @ OR Source Impedance | -134dB/135.7dB A-Weighted | |
| E.I.N. @ 500 Source Impedance | -131dB/1333dB A-Weighted | |
| E.I.N. @ 1500 Source Impedance | -129dB/130.5dB A-Weighted | |
| Gain Range | +10dB – +60dB | |
| Maximum Level Input | +12dBu @ +10dB | |
| Impedance | 2.60 balanced | |
| Signal-to-Noise Ratio | 110dB A-Weighted (OdBu In @ +22dB) | |
| Total Harmonic Distortion + Noise | 0.0005%/0.004% A-Weighted | |
| Phantom Power | +48V, switchable | |
| Une Inputs | ||
| Connector Type | 2x balanced 1/4″ TRS, 2x unbalanced 1/4′ TS stereo pair | |
| Number of Line Inputs | 2x mono, lx stereo pair | |
| Impedance | Balanced: 20k0 Unbalanced:10k0 | |
| Gain Range | -10dB – +40dB | |
| Maximum Input Level | 30dBu | |
| lilt MAIN Output | ||
| Connector Types | 2x unbalanced 1/4* TS | |
| Impedance | 12011 | |
| Maximum Output Level | +28d6u | |
| PHONES Output | ||
| Connector Type | Unbalanced yr TRS stereo | |
| Maximum Output Level | +19dBu/1500 +25dBm | |
REGULATORY COMPLIANCE
Notice for FCC![]()
This device complies with Part 15 of the FCC rules. Operation is subject to the following two conditions: (1) this device may not cause harmful interference, and (2) this device must accept any interference received, including interference that may cause undesired operation Modifying the equipment without Monoprice’s authorization may result in the equipment no longer complying with FCC requirements for Class B digital devices. In that event, your right to use the equipment may be limited by FCC regulations. and you may be required to correct any interference to radio or television communications at your own expense. This equipment has been tested and found to comply with the limits for a Class B digital device, pursuant to Part 15 of the FCC Rules. These limits are designed to provide reasonable protection against harmful interference in a residential installation This equipment generates, uses and can radiate radio frequency energy and, if not installed and used in accordance with the instructions, may cause harmful interference to radio communications However, there is no guarantee that interference will not occur in a particular installation. If this equipment does cause harmful interference to radio or television reception, which can be determined by turning the equipment off and on, the user is encouraged to try to correct the interference by one or more of the following measures:
- Reorient or relocate the receiving antenna.
- Increase the separation between the equipment and receiver.
- Connect the equipment into an outlet on a circuit different from that to which the receiver is connected.
- Consult the dealer or an experienced radio/TV technician for help.
Radio Notice for FCC Caution
This FCC Part 15 radio device operates on a non-interference basis with other devices operating at this frequency. Any changes or modification to said product not expressly approved by Monoprice, including the use of non-approved antennas, could void the user’s authority to operate this device.
This device complies with Part 15 of the FCC Rules. Operation is subject to the following two conditions: (1) this device may not cause harmful interference, and (2) this device must accept any interference received, including interference that may cause undesired operation.
Notice for industry Canada
This Class B digital apparatus complies with Canadian ICES-003. Cet appareil numerique de la classe Best conforme a la norme NMB-003 du Canada.
Radio Notice for Industry Canada
Caution
This IC RSS-210 radio device operates on a non-interference basis with other devices operating at this frequency. Any changes or modification to said product not expressly approved by Monoprice, including the use of non-approved antennas, could void the users authority to operate this device.
This device complies with IC RSS-210. Operation is subject to the following two conditions: (1) this device may not cause harmful interference, and (2) this device must accept any interference received, including interference that may cause undesired operation.



















